TOP
|
特許
|
意匠
|
商標
特許ウォッチ
Twitter
他の特許を見る
10個以上の画像は省略されています。
公開番号
2025168489
公報種別
公開特許公報(A)
公開日
2025-11-07
出願番号
2025146094,2023525202
出願日
2025-09-03,2021-05-31
発明の名称
情報処理装置
出願人
パイオニア株式会社
代理人
個人
主分類
G01C
21/26 20060101AFI20251030BHJP(測定;試験)
要約
【課題】予め決められている地点でコンテンツ情報の再生出力が終了するよう、適切なタイミングでコンテンツ情報の再生出力を車両において開始させること。
【解決手段】情報処理装置は、コンテンツ情報の再生出力を終了させるべき地理的位置または地理的範囲を示すエリア情報を取得する取得部と、コンテンツ情報の再生時間と、エリア情報とに基づいて、走行中の車両においてコンテンツ情報の再生出力を開始させる出力開始タイミングを決定する決定部とを有する。
【選択図】図3
特許請求の範囲
【請求項1】
コンテンツ情報の再生出力を終了させるべき地理的位置または地理的範囲を示すエリア情報を取得する取得部と、
前記コンテンツ情報の再生時間と、前記エリア情報とに基づいて、走行中の車両において前記コンテンツ情報の再生出力を開始させる出力開始タイミングを決定する決定部と
を有することを特徴とする情報処理装置。
発明の詳細な説明
【技術分野】
【0001】
本発明は、情報処理装置に関する。
続きを表示(約 1,200 文字)
【背景技術】
【0002】
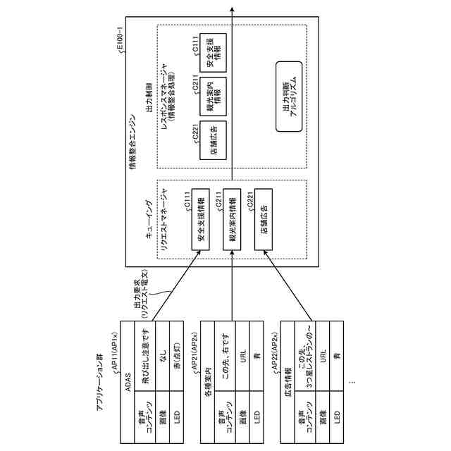
従来、車両走行中のドライバに対して、警告情報、経路案内情報、道路交通情報、観光案内情報、広告情報等の情報を音声情報として出力する技術が知られている。
【0003】
ところで、これらの音声情報は、再生出力されるタイミングが重なると聴き取りが困難になったり、運転の妨げになったりする恐れがある。したがって、これらの音声情報の再生出力が、相互に干渉しないよう再生出力のタイミングをスケジューリングして再生させる仕組みが提案されている。
【先行技術文献】
【特許文献】
【0004】
特開2013-221837号公報
【発明の概要】
【発明が解決しようとする課題】
【0005】
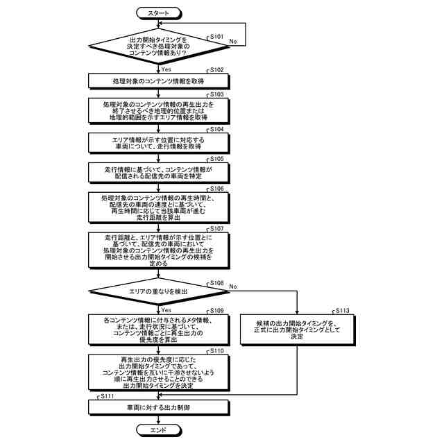
しかしながら、上記の従来技術では、予め決められている地点でコンテンツ情報の再生出力が終了するよう、適切なタイミングでコンテンツ情報の再生出力を車両において開始させることができるとはいえない場合がある、という問題が一例として挙げられる。
【0006】
例えば、上記の従来技術は、複数の音声情報の再生が干渉する恐れがある場合に、これら音声情報の再生順位の各組合せについて、メタ情報に基づき再生されないことおよび再生が遅延することによる損失度を計算し、損失度が最小の組合せに係る再生順位を選択している。
【0007】
このように、上記の従来技術では、コンテンツ情報の再生出力を終了させるべき地点が決められている訳ではないため、係る地点で再生出力がうまく終了するにはどのようなタイミングでコンテンツ情報の再生出力を開始させるかを決める概念が存在しない。
【0008】
したがって、上記の従来技術では、予め決められている地点でコンテンツ情報の再生出力が終了するよう、適切なタイミングでコンテンツ情報の再生出力を車両において開始させることができるとは限らない。
【0009】
本発明は、上記に鑑みてなされたものであって、予め決められている地点でコンテンツ情報の再生出力が終了するよう、適切なタイミングでコンテンツ情報の再生出力を車両において開始させることができる情報処理装置を提供することを目的とする。
【課題を解決するための手段】
【0010】
請求項1に係る情報処理装置は、コンテンツ情報の再生出力を終了させるべき地理的位置または地理的範囲を示すエリア情報を取得する取得部と、前記コンテンツ情報の再生時間と、前記エリア情報とに基づいて、走行中の車両において前記コンテンツ情報の再生出力を開始させる出力開始タイミングを決定する決定部とを有することを特徴とする。
【図面の簡単な説明】
(【0011】以降は省略されています)
この特許をJ-PlatPat(特許庁公式サイト)で参照する
関連特許
パイオニア株式会社
情報処理装置、制御方法、プログラム及び記憶媒体
1か月前
パイオニア株式会社
情報処理装置、情報処理方法および情報処理プログラム
1か月前
パイオニア株式会社
情報処理装置、情報処理方法および情報処理プログラム
1か月前
パイオニア株式会社
情報処理装置、情報処理方法および情報処理プログラム
1か月前
パイオニア株式会社
情報処理装置、情報処理方法および情報処理プログラム
1か月前
パイオニア株式会社
情報処理装置、情報処理方法および情報処理プログラム
1か月前
パイオニア株式会社
情報処理装置、情報処理方法および情報処理プログラム
1か月前
パイオニア株式会社
情報処理装置、情報処理方法、および情報処理プログラム
1か月前
パイオニア株式会社
センサ装置
1か月前
パイオニア株式会社
光制御装置
15日前
パイオニア株式会社
光制御装置
15日前
パイオニア株式会社
情報処理装置
23日前
パイオニア株式会社
表示制御装置
1か月前
パイオニア株式会社
情報処理装置
1か月前
パイオニア株式会社
情報出力装置
1か月前
パイオニア株式会社
音声出力装置
1か月前
パイオニア株式会社
情報処理装置
22日前
パイオニア株式会社
情報処理装置
22日前
パイオニア株式会社
情報表示装置
3日前
パイオニア株式会社
効果音出力装置
1か月前
パイオニア株式会社
ナビゲーション装置
1か月前
パイオニア株式会社
情報処理装置、端末装置
22日前
パイオニア株式会社
表示装置および表示装置の駆動方法
1か月前
パイオニア株式会社
認識装置、認識方法及び認識プログラム
11日前
パイオニア株式会社
案内情報生成装置及び案内情報生成方法
1か月前
パイオニア株式会社
制御装置、制御方法及び制御用プログラム
22日前
パイオニア株式会社
撮影装置、制御方法、プログラム及び記憶媒体
22日前
パイオニア株式会社
予測装置、予測方法、予測プログラム及び記憶媒体
1か月前
パイオニア株式会社
情報処理装置、制御方法、プログラム及び記憶媒体
1か月前
パイオニア株式会社
推定装置、システム、推定方法、およびプログラム
1か月前
パイオニア株式会社
決定装置、決定方法、決定プログラム及び記録媒体
1か月前
パイオニア株式会社
情報処理装置、判定方法、プログラム及び記憶媒体
1日前
パイオニア株式会社
情報処理装置、制御方法、プログラム及び記憶媒体
24日前
パイオニア株式会社
表示装置、表示方法、プログラム、及び、記憶媒体
24日前
パイオニア株式会社
制御装置、制御方法、および、制御装置用プログラム
1か月前
パイオニア株式会社
情報処理装置、情報処理方法及び情報処理プログラム
1か月前
続きを見る
他の特許を見る