TOP
|
特許
|
意匠
|
商標
特許ウォッチ
Twitter
他の特許を見る
公開番号
2025168437
公報種別
公開特許公報(A)
公開日
2025-11-07
出願番号
2025141007,2024103928
出願日
2025-08-27,2015-02-25
発明の名称
撮影装置、制御方法、プログラム及び記憶媒体
出願人
パイオニア株式会社
代理人
個人
,
個人
主分類
H04N
7/18 20060101AFI20251030BHJP(電気通信技術)
要約
【課題】撮影方向が変更された場合であっても、カメラの角度調整をすることなく適切な範囲を映した画像を取得することが可能な撮影装置を提供する。
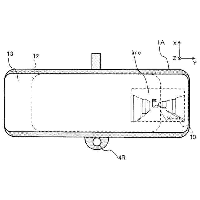
【解決手段】ドライブレコーダ1は、車両の前方風景を撮影する前方撮影カメラ4と、制御部19とを備える。制御部19は、前方撮影カメラ4により撮影された前方画像Imの一部の範囲を切り出し画像Imcとして切り出す。制御部19は、前方撮影カメラ4の撮影方向が変化した可能性の有無を判定する。そして、制御部19は、前方撮影カメラ4の撮影方向が変化した可能性があると判定した際に、当該可能性があると判定された後の切り出し画像Imc中の特徴物の位置が、その可能性があると判定される前の切り出し画像Imc中の位置と略一致するように、切り出し画像Imcの切り出し位置を決定する。
【選択図】図4
特許請求の範囲
【請求項1】
車両に搭載される撮影装置であって、
前記車両の前方を撮影する撮影手段と、
前記撮影手段により撮影された画像である撮影画像の一部の範囲を切り出し画像として切り出す画像制御手段と、
前記撮影手段の撮影方向の変化可能性の有無を、前記車両の運転席に関する情報に基づいて判定する判定手段と、
を備え、
前記画像制御手段は、前記判定手段が前記変化可能性有りと判定した場合に、当該判定前の前記切り出し画像中の第1対象物の位置と、当該判定後の前記切り出し画像中の前記第1対象物の位置とが略一致するように、当該判定後の画像切り出し範囲を調整することを特徴とする撮影装置。
続きを表示(約 2,200 文字)
【請求項2】
前記判定手段は、前記車両の運転席を撮影する第2撮影手段により撮影された画像に基づいて、運転者が変わったことを示す情報が取得された場合に、前記変化可能性有りと判定することを特徴とする請求項1に記載の撮影装置。
【請求項3】
前記判定手段は、前記車両の運転席が離席状態から着席状態となったことを示す情報が取得された場合に、前記変化可能性有りと判定することを特徴とする請求項1に記載の撮影装置。
【請求項4】
前記判定手段は、前記車両の運転席のシートベルトが非装着状態から装着状態となったことを示す情報が取得された場合に、前記変化可能性有りと判定することを特徴とする請求項1に記載の撮影装置。
【請求項5】
車両に搭載される撮影装置であって、
前記車両の前方を撮影する撮影手段と、
前記撮影手段により撮影された画像である撮影画像の一部の範囲を切り出し画像として切り出す画像制御手段と、
前記撮影手段の撮影方向の変化可能性の有無を、前記撮影装置の作動状態に関する情報に基づいて判定する判定手段と、
を備え、
前記判定手段は、前記撮影装置が作動状態から非作動状態を経て再び作動状態となったことを示す情報が取得された場合に、前記変化可能性有りと判定し、
前記画像制御手段は、前記判定手段が前記変化可能性有りと判定した場合に、当該判定前の前記切り出し画像中の第1対象物の位置と、当該判定後の前記切り出し画像中の前記第1対象物の位置とが略一致するように、当該判定後の画像切り出し範囲を調整することを特徴とする撮影装置。
【請求項6】
前記車両のルームミラーに内蔵され、またはルームミラーに取り付けられることを特徴と
する請求項1~5のいずれか一項に記載の撮影装置。
【請求項7】
車両に搭載され、且つ当該車両の前方を撮影する撮影手段、を有する撮影装置が実行する制御方法であって、
前記撮影手段により撮影された画像の一部の範囲を切り出し画像として切り出す画像制御工程と、
前記撮影手段の撮影方向の変化可能性の有無を、前記車両の運転席に関する情報に基づいて判定する判定工程と、
を有し、
前記画像制御工程は、前記判定工程により前記変化可能性有りと判定した場合に、当該判定前の前記切り出し画像中の第1対象物の位置と、当該判定後の前記切り出し画像中の前記第1対象物の位置とが略一致するように、当該判定後の画像切り出し範囲を調整することを特徴とする制御方法。
【請求項8】
車両に搭載され、且つ当該車両の前方を撮影する撮影手段、を有する撮影装置のコンピュータが実行するプログラムであって、
前記コンピュータを、
前記撮影手段により撮影された画像の一部の範囲を切り出し画像として切り出す画像制御手段、及び、
前記撮影手段の撮影方向の変化可能性の有無を、前記車両の運転席に関する情報に基づいて判定する判定手段として機能させ、
前記画像制御手段は、前記判定手段が前記変化可能性有りと判定した場合に、当該判定前の前記切り出し画像中の第1対象物の位置と、当該判定後の前記切り出し画像中の前記第1対象物の位置とが略一致するように、当該判定後の画像切り出し範囲を調整することを特徴とするプログラム。
【請求項9】
車両に搭載され、且つ当該車両の前方を撮影する撮影手段、を有する撮影装置が実行する制御方法であって、
前記撮影手段により撮影された画像の一部の範囲を切り出し画像として切り出す画像制御工程と、
前記撮影手段の撮影方向の変化可能性の有無を、前記撮影装置の作動状態に関する情報に基づいて判定する判定工程と、
を有し、
前記判定工程は、前記撮影装置が作動状態から非作動状態を経て再び作動状態となったことを示す情報が取得された場合に、前記変化可能性有りと判定し、
前記画像制御工程は、前記判定工程により前記変化可能性有りと判定した場合に、当該判定前の前記切り出し画像中の第1対象物の位置と、当該判定後の前記切り出し画像中の前記第1対象物の位置とが略一致するように、当該判定後の画像切り出し範囲を調整することを特徴とする制御方法。
【請求項10】
車両に搭載され、且つ当該車両の前方を撮影する撮影手段、を有する撮影装置のコンピュータが実行するプログラムであって、
前記コンピュータを、
前記撮影手段により撮影された画像の一部の範囲を切り出し画像として切り出す画像制御手段、及び、
前記撮影手段の撮影方向の変化可能性の有無を、前記撮影装置の作動状態に関する情報に基づいて判定する判定手段として機能させ、
前記判定手段は、前記撮影装置が作動状態から非作動状態を経て再び作動状態となったことを示す情報が取得された場合に、前記変化可能性有りと判定し、
前記画像制御手段は、前記判定手段が前記変化可能性有りと判定した場合に、当該判定前の前記切り出し画像中の第1対象物の位置と、当該判定後の前記切り出し画像中の前記第1対象物の位置とが略一致するように、当該判定後の画像切り出し範囲を調整することを特徴とするプログラム。
(【請求項11】以降は省略されています)
発明の詳細な説明
【技術分野】
【0001】
本発明は、車両から撮影した前方画像を切り出して表示する技術に関する。
続きを表示(約 3,300 文字)
【背景技術】
【0002】
従来から、ルームミラー等に取り付け可能なドライブレコーダが知られている。例えば、特許文献1には、ハーフミラー、液晶ディスプレイ、及び車両前方を撮影するカメラユニットを備え、ルームミラーに対して取り付け自在なドライブレコーダが開示されている。
【先行技術文献】
【特許文献】
【0003】
特開2014-229049号公報
【発明の概要】
【発明が解決しようとする課題】
【0004】
特許文献1では、運転者が変わる等の理由によりルームミラーの角度が変更されると、カメラの撮影方向も変化してしまうため、ルームミラーの角度調整を行った場合には、カメラの角度についても調整する必要がある。
【0005】
本発明は、上記のような課題を解決するためになされたものであり、撮影方向が変更された場合であっても、カメラの角度調整をすることなく適切な範囲を映した画像を取得することが可能な撮影装置を提供することを主な目的とする。
【課題を解決するための手段】
【0006】
請求項に記載の発明は、
車両に搭載される撮影装置であって、
前記車両の前方を撮影する撮影手段と、
前記撮影手段により撮影された画像である撮影画像の一部の範囲を切り出し画像として切り出す画像制御手段と、
前記撮影手段の撮影方向の変化可能性の有無を、前記車両の運転席に関する情報に基づいて判定する判定手段と、
を備え、
前記画像制御手段は、前記判定手段が前記変化可能性有りと判定した場合に、当該判定前の前記切り出し画像中の第1対象物の位置と、当該判定後の前記切り出し画像中の前記第1対象物の位置とが略一致するように、当該判定後の画像切り出し範囲を調整することを特徴とする。
また、請求項に記載の発明は、
車両に搭載される撮影装置であって、
前記車両の前方を撮影する撮影手段と、
前記撮影手段により撮影された画像である撮影画像の一部の範囲を切り出し画像として切り出す画像制御手段と、
前記撮影手段の撮影方向の変化可能性の有無を、前記撮影装置の作動状態に関する情報に基づいて判定する判定手段と、
を備え、
前記判定手段は、前記撮影装置が作動状態から非作動状態を経て再び作動状態となったことを示す情報が取得された場合に、前記変化可能性有りと判定し、
前記画像制御手段は、前記判定手段が前記変化可能性有りと判定した場合に、当該判定前の前記切り出し画像中の第1対象物の位置と、当該判定後の前記切り出し画像中の前記第1対象物の位置とが略一致するように、当該判定後の画像切り出し範囲を調整することを特徴とする。
【0007】
また、請求項に記載の発明は、
車両に搭載され、且つ当該車両の前方を撮影する撮影手段、を有する撮影装置が実行する制御方法であって、
前記撮影手段により撮影された画像の一部の範囲を切り出し画像として切り出す画像制御工程と、
前記撮影手段の撮影方向の変化可能性の有無を、前記車両の運転席に関する情報に基づいて判定する判定工程と、
を有し、
前記画像制御工程は、前記判定工程により前記変化可能性有りと判定した場合に、当該判定前の前記切り出し画像中の第1対象物の位置と、当該判定後の前記切り出し画像中の前記第1対象物の位置とが略一致するように、当該判定後の画像切り出し範囲を調整することを特徴とする。
また、請求項に記載の発明は、
車両に搭載され、且つ当該車両の前方を撮影する撮影手段、を有する撮影装置が実行する制御方法であって、
前記撮影手段により撮影された画像の一部の範囲を切り出し画像として切り出す画像制御工程と、
前記撮影手段の撮影方向の変化可能性の有無を、前記撮影装置の作動状態に関する情報に基づいて判定する判定工程と、
を有し、
前記判定工程は、前記撮影装置が作動状態から非作動状態を経て再び作動状態となったことを示す情報が取得された場合に、前記変化可能性有りと判定し、
前記画像制御工程は、前記判定工程により前記変化可能性有りと判定した場合に、当該判定前の前記切り出し画像中の第1対象物の位置と、当該判定後の前記切り出し画像中の前記第1対象物の位置とが略一致するように、当該判定後の画像切り出し範囲を調整することを特徴とする。
【0008】
また、請求項に記載の発明は、
車両に搭載され、且つ当該車両の前方を撮影する撮影手段、を有する撮影装置のコンピュータが実行するプログラムであって、
前記コンピュータを、
前記撮影手段により撮影された画像の一部の範囲を切り出し画像として切り出す画像制御手段、及び、
前記撮影手段の撮影方向の変化可能性の有無を、前記車両の運転席に関する情報に基づいて判定する判定手段として機能させ、
前記画像制御手段は、前記判定手段が前記変化可能性有りと判定した場合に、当該判定前の前記切り出し画像中の第1対象物の位置と、当該判定後の前記切り出し画像中の前記第1対象物の位置とが略一致するように、当該判定後の画像切り出し範囲を調整することを特徴とする。
また、請求項に記載の発明は、
車両に搭載され、且つ当該車両の前方を撮影する撮影手段、を有する撮影装置のコンピュータが実行するプログラムであって、
前記コンピュータを、
前記撮影手段により撮影された画像の一部の範囲を切り出し画像として切り出す画像制御手段、及び、
前記撮影手段の撮影方向の変化可能性の有無を、前記撮影装置の作動状態に関する情報に基づいて判定する判定手段として機能させ、
前記判定手段は、前記撮影装置が作動状態から非作動状態を経て再び作動状態となったことを示す情報が取得された場合に、前記変化可能性有りと判定し、
前記画像制御手段は、前記判定手段が前記変化可能性有りと判定した場合に、当該判定前の前記切り出し画像中の第1対象物の位置と、当該判定後の前記切り出し画像中の前記第1対象物の位置とが略一致するように、当該判定後の画像切り出し範囲を調整することを特徴とする。
【図面の簡単な説明】
【0009】
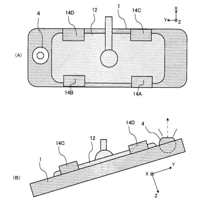
ドライブレコーダの正面図である。
ドライブレコーダの背面図及び上面図である。
ドライブレコーダのブロック図である。
前方画像の切り出し位置の調整処理の概要を示すフローチャートである。
切り出し位置調整処理の手順を示すフローチャートである。
前方画像の切り出し位置の調整方法の具体例を示す。
変形例に係る前方画像の切り出し位置の調整処理を示すフローチャートである。
変形例に係るドライブレコーダの正面図を示す。
【発明を実施するための形態】
【0010】
本発明の1つの好適な実施形態では、車両に搭載されて前方風景を撮影する撮影装置であって、前記前方風景を撮影する撮影手段と、前記撮影手段により撮影された画像の一部の範囲を切り出し画像として切り出す画像制御手段と、前記撮影手段の撮影方向が変化した可能性の有無を判定する判定手段と、を備え、前記画像制御手段は、前記判定手段により前記撮影手段の撮影方向が変化した可能性があると判定された際に、前記可能性があると判定された後の切り出し画像中の対象物の位置が、前記可能性があると判定される前の切り出し画像中の位置と略一致するように、前記可能性があると判定された後の切り出し画像を切り出す。
(【0011】以降は省略されています)
この特許をJ-PlatPat(特許庁公式サイト)で参照する
関連特許
パイオニア株式会社
光制御装置
16日前
パイオニア株式会社
光制御装置
16日前
パイオニア株式会社
情報表示装置
4日前
パイオニア株式会社
情報処理装置
23日前
パイオニア株式会社
情報処理装置
23日前
パイオニア株式会社
情報処理装置
24日前
パイオニア株式会社
情報処理装置、端末装置
23日前
パイオニア株式会社
認識装置、認識方法及び認識プログラム
12日前
パイオニア株式会社
制御装置、制御方法及び制御用プログラム
23日前
パイオニア株式会社
撮影装置、制御方法、プログラム及び記憶媒体
23日前
パイオニア株式会社
情報処理装置、判定方法、プログラム及び記憶媒体
2日前
パイオニア株式会社
情報記録装置、情報記録方法及び情報記録用プログラム
16日前
パイオニア株式会社
車載装置、情報処理方法、情報管理装置及び情報管理方法
2日前
パイオニア株式会社
携帯端末装置、情報処理装置、連携システム及び表示制御方法
9日前
パイオニア株式会社
通信端末、通信方法、通信プログラム、通信プログラムを格納した記録媒体および情報処理装置
2日前
パイオニア株式会社
情報処理装置、情報処理方法、情報処理プログラム及び情報処理プログラムを記録したコンピュータ読み取り可能な記録媒体
4日前
個人
イヤーピース
23日前
個人
イヤーマフ
1か月前
個人
監視カメラシステム
1か月前
キーコム株式会社
光伝送線路
1か月前
個人
スイッチシステム
1か月前
WHISMR合同会社
収音装置
2か月前
個人
スキャン式車載用撮像装置
1か月前
サクサ株式会社
中継装置
1か月前
サクサ株式会社
中継装置
1か月前
キヤノン株式会社
撮像装置
3か月前
キヤノン株式会社
撮像装置
2日前
アイホン株式会社
電気機器
2か月前
株式会社リコー
画像形成装置
3か月前
個人
映像表示装置、及びARグラス
1か月前
キヤノン電子株式会社
画像読取装置
23日前
ヤマハ株式会社
放音制御装置
1か月前
サクサ株式会社
無線システム
1か月前
株式会社リコー
画像形成装置
1か月前
株式会社リコー
画像形成装置
3か月前
キヤノン電子株式会社
画像読取装置
1か月前
続きを見る
他の特許を見る