TOP
|
特許
|
意匠
|
商標
特許ウォッチ
Twitter
他の特許を見る
10個以上の画像は省略されています。
公開番号
2025166263
公報種別
公開特許公報(A)
公開日
2025-11-05
出願番号
2025140973,2024035023
出願日
2025-08-27,2018-01-09
発明の名称
表示装置、表示方法、プログラム、及び、記憶媒体
出願人
パイオニア株式会社
代理人
個人
主分類
G06F
3/04842 20220101AFI20251028BHJP(計算;計数)
要約
【課題】直感的な操作で、推奨コンテンツを選択する手法を提供する。
【解決手段】再生装置において、再生手段は再生予定のコンテンツを再生リストに従って再生する。表示制御手段は、表示部の第1領域に再生リストを表示し、第1領域とは異なる第2領域に再生可能なコンテンツのオブジェクトを表示する。受付手段は表示部に対するユーザの操作を受け付け、表示制御手段は第2領域に表示されたオブジェクトに対するユーザの操作に応じて、当該オブジェクトに対応するコンテンツを再生リストに追加する。
【選択図】図9
特許請求の範囲
【請求項1】
推奨コンテンツを示すオブジェクトを表示部に表示する表示制御手段と、
前記オブジェクトに対するユーザの所定操作を取得する取得手段と、
前記所定操作に応じて、前記オブジェクトに対応する推奨コンテンツの推奨度を変更する変更手段と、
を備え、
前記表示制御手段は、前記推奨度に基づいて、推奨コンテンツに対応するオブジェクトの表示を制御することを特徴とする表示装置。
続きを表示(約 1,300 文字)
【請求項2】
前記所定操作は、前記オブジェクトを前記表示部から削除する第1操作を含み、
前記変更手段は、前記第1操作の対象となったオブジェクトに対応する推奨コンテンツの推奨度を減少させることを特徴とする請求項1に記載の表示装置。
【請求項3】
前記所定操作は、前記オブジェクトに対応する推奨コンテンツをプレビュー再生した後で削除する第2操作を含み、
前記変更手段は、前記第2操作の対象となったオブジェクトに対応する推奨コンテンツの推奨度を減少させることを特徴とする請求項1又は2に記載の表示装置。
【請求項4】
前記所定操作は、前記オブジェクトに対応する推奨コンテンツをプレビュー再生した後で選択する第3操作を含み、
前記変更手段は、前記第3操作の対象となったオブジェクトに対応する推奨コンテンツの推奨度を増加させることを特徴とする請求項1乃至3のいずれか一項に記載の表示装置。
【請求項5】
前記所定操作は、前記オブジェクトを前記表示部上で拡大する第4操作を含み、
前記変更手段は、前記第4操作の対象となったオブジェクトに対応する推奨コンテンツの推奨度を増加させることを特徴とする請求項1乃至4のいずれか一項に記載の表示装置。
【請求項6】
前記所定操作は、前記オブジェクトを前記表示部上で縮小する第5操作を含み、
前記変更手段は、前記第5操作の対象となったオブジェクトに対応する推奨コンテンツの推奨度を減少させることを特徴とする請求項1乃至5のいずれか一項に記載の表示装置。
【請求項7】
前記変更手段は、予め決められた推奨度を上げる操作の対象となったオブジェクトに対応する推奨コンテンツの推奨度を増加させ、予め決められた推奨度を下げる操作の対象となったオブジェクトに対応する推奨コンテンツの推奨度を減少させることを特徴とする請求項1乃至6のいずれか一項に記載の表示装置。
【請求項8】
前記表示制御手段は、前記推奨度が高い推奨コンテンツを示すオブジェクトの表示頻度を高くし、前記推奨度が低い推奨コンテンツを示すオブジェクトの表示頻度を低くすることを特徴とする請求項1乃至7のいずれか一項に記載の表示装置。
【請求項9】
前記表示制御手段は、前記推奨度が高い推奨コンテンツを示すオブジェクトの表示サイズを大きく、前記推奨度が低い推奨コンテンツを示すオブジェクトの表示サイズを小さくすることを特徴とする請求項1乃至7のいずれか一項に記載の表示装置。
【請求項10】
表示装置により実行される表示方法であって、
推奨コンテンツを示すオブジェクトを表示部に表示する表示制御工程と、
前記オブジェクトに対するユーザの所定操作を取得する取得工程と、
前記所定操作に応じて、前記オブジェクトに対応する推奨コンテンツの推奨度を変更する変更工程と、
を備え、
前記表示制御工程は、前記推奨度に基づいて、推奨コンテンツに対応するオブジェクトの表示を制御することを特徴とする表示方法。
(【請求項11】以降は省略されています)
発明の詳細な説明
【技術分野】
【0001】
本発明は、ユーザにコンテンツをレコメンドする技術に関する。
続きを表示(約 2,000 文字)
【背景技術】
【0002】
ユーザの嗜好などに応じてコンテンツをレコメンドする手法が知られている。特許文献1は、ユーザ毎の嗜好データに応じたコンテンツを選択して提供するシステムを記載している。また、特許文献2は、ユーザに対するお勧め番組を提示し、ユーザに選択させる表示装置を記載している。
【先行技術文献】
【特許文献】
【0003】
特開2010-236953号公報
特開2015-167038号公報
【発明の概要】
【発明が解決しようとする課題】
【0004】
しかし、特許文献1、2の方法では、推奨コンテンツをユーザが実際に選択して再生したり、再生リストに追加したりするためには、複数の階層構造のメニューにおいて選択を繰り返したり、カーソルやフォーカス枠などを移動させて推奨コンテンツの位置に移動させたりする必要があり、煩雑である。
【0005】
本発明の解決しようとする課題としては、上記のものが一例として挙げられる。本発明は、直感的な操作で、推奨コンテンツを選択する手法を提供することを目的とする。
【課題を解決するための手段】
【0006】
請求項に記載の発明は、表示装置であって、推奨コンテンツを示すオブジェクトを表示部に表示する表示制御手段と、前記オブジェクトに対するユーザの所定操作を取得する取得手段と、前記所定操作に応じて、前記オブジェクトに対応する推奨コンテンツの推奨度を変更する変更手段と、を備え、前記表示制御手段は、前記推奨度に基づいて、推奨コンテンツに対応するオブジェクトの表示を制御することを特徴とする。
【0007】
請求項に記載の発明は、表示装置により実行される表示方法であって、推奨コンテンツを示すオブジェクトを表示部に表示する表示制御工程と、前記オブジェクトに対するユーザの所定操作を取得する取得工程と、前記所定操作に応じて、前記オブジェクトに対応する推奨コンテンツの推奨度を変更する変更工程と、を備え、前記表示制御工程は、前記推奨度に基づいて、推奨コンテンツに対応するオブジェクトの表示を制御することを特徴とする。
【0008】
請求項に記載の発明は、コンピュータを備える表示装置により実行されるプログラムであって、推奨コンテンツを示すオブジェクトを表示部に表示する表示制御手段、前記オブジェクトに対するユーザの所定操作を取得する取得手段、前記所定操作に応じて、前記オブジェクトに対応する推奨コンテンツの推奨度を変更する変更手段、として前記コンピュータを機能させ、前記表示制御手段は、前記推奨度に基づいて、推奨コンテンツに対応するオブジェクトの表示を制御することを特徴とする。
【図面の簡単な説明】
【0009】
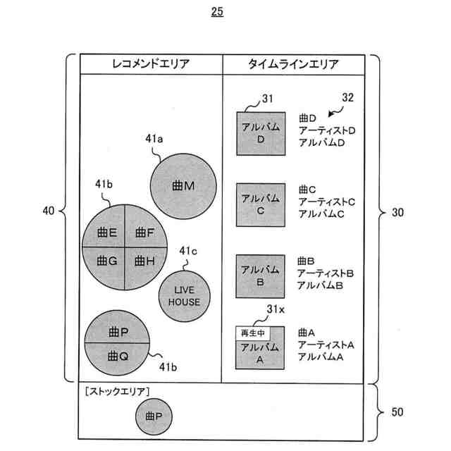
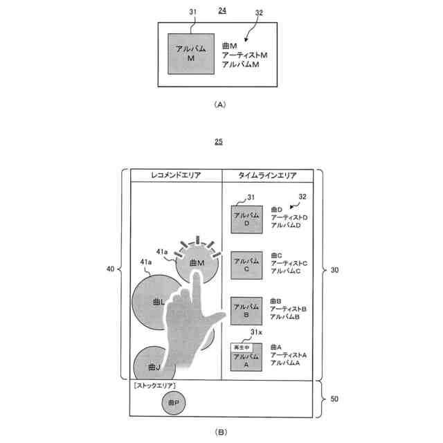
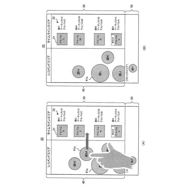
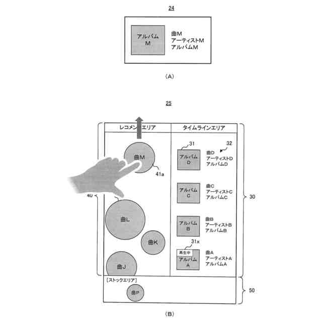
実施例に係るコンテンツ再生装置の外観を示す。
コンテンツ再生装置の内部構成を示すブロック図である。
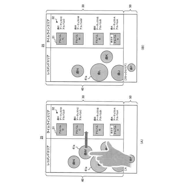
メインディスプレイ及びタッチディスプレイの表示例を示す。
レコメンドエリアのサイズ変更の例を示す。
ストックエリアのサイズ変更の例を示す。
各種のオブジェクトの表示例を示す。
プレビュー操作中における表示例を示す。
他のプレビュー操作の例を示す。
オブジェクトを選択する方法を示す。
オブジェクトを削除する方法を示す。
音場制御の例を説明する図である。
ストックエリアを利用した基本的な操作を示す。
ストックエリア内でプレイリストを作る操作を示す。
関連コンテンツを取得する操作を示す。
車両の速度に応じたオブジェクトの表示制御例を示す。
推奨度に応じたオブジェクトの表示制御例を示す。
推奨度に応じてオブジェクトの操作性を変える例を示す。
推奨度変更処理のフローチャートである。
変形例によるレコメンドエリアの表示例を示す。
左ハンドル車における表示例を示す。
【発明を実施するための形態】
【0010】
本発明の好適な実施形態では、再生装置は、再生予定のコンテンツを再生リストに従って再生する再生手段と、表示部の第1領域に前記再生リストを表示し、前記第1領域とは異なる第2領域に再生可能なコンテンツのオブジェクトを表示する表示制御手段と、前記表示部に対するユーザの操作を受け付ける受付手段と、を備え、前記表示制御手段は、前記第2領域に表示されたオブジェクトに対する前記ユーザの操作に応じて、当該オブジェクトに対応するコンテンツを前記再生リストに追加する。
(【0011】以降は省略されています)
この特許をJ-PlatPat(特許庁公式サイト)で参照する
関連特許
パイオニア株式会社
情報処理装置、情報処理方法および情報処理プログラム
1か月前
パイオニア株式会社
情報処理装置、情報処理方法および情報処理プログラム
1か月前
パイオニア株式会社
情報処理装置、情報処理方法および情報処理プログラム
1か月前
パイオニア株式会社
情報処理装置、情報処理方法および情報処理プログラム
1か月前
パイオニア株式会社
情報処理装置、情報処理方法および情報処理プログラム
1か月前
パイオニア株式会社
情報処理装置、情報処理方法および情報処理プログラム
1か月前
パイオニア株式会社
情報処理装置、情報処理方法、および情報処理プログラム
1か月前
パイオニア株式会社
センサ装置
1か月前
パイオニア株式会社
光制御装置
16日前
パイオニア株式会社
光制御装置
16日前
パイオニア株式会社
情報処理装置
24日前
パイオニア株式会社
音声出力装置
1か月前
パイオニア株式会社
情報処理装置
1か月前
パイオニア株式会社
表示制御装置
1か月前
パイオニア株式会社
情報出力装置
1か月前
パイオニア株式会社
情報処理装置
23日前
パイオニア株式会社
情報処理装置
23日前
パイオニア株式会社
情報表示装置
4日前
パイオニア株式会社
効果音出力装置
1か月前
パイオニア株式会社
ナビゲーション装置
1か月前
パイオニア株式会社
情報処理装置、端末装置
23日前
パイオニア株式会社
表示装置および表示装置の駆動方法
1か月前
パイオニア株式会社
案内情報生成装置及び案内情報生成方法
1か月前
パイオニア株式会社
認識装置、認識方法及び認識プログラム
12日前
パイオニア株式会社
制御装置、制御方法及び制御用プログラム
23日前
パイオニア株式会社
撮影装置、制御方法、プログラム及び記憶媒体
23日前
パイオニア株式会社
決定装置、決定方法、決定プログラム及び記録媒体
1か月前
パイオニア株式会社
予測装置、予測方法、予測プログラム及び記憶媒体
1か月前
パイオニア株式会社
情報処理装置、制御方法、プログラム及び記憶媒体
1か月前
パイオニア株式会社
推定装置、システム、推定方法、およびプログラム
1か月前
パイオニア株式会社
情報処理装置、制御方法、プログラム及び記憶媒体
25日前
パイオニア株式会社
情報処理装置、判定方法、プログラム及び記憶媒体
2日前
パイオニア株式会社
表示装置、表示方法、プログラム、及び、記憶媒体
25日前
パイオニア株式会社
通信制御端末、通信制御方法及び通信制御プログラム
1か月前
パイオニア株式会社
制御装置、制御方法、および、制御装置用プログラム
1か月前
パイオニア株式会社
情報処理装置、情報処理方法及び情報処理プログラム
1か月前
続きを見る
他の特許を見る