TOP
|
特許
|
意匠
|
商標
特許ウォッチ
Twitter
他の特許を見る
公開番号
2025170065
公報種別
公開特許公報(A)
公開日
2025-11-14
出願番号
2025148324,2024091117
出願日
2025-09-08,2015-12-25
発明の名称
情報記録装置、情報記録方法及び情報記録用プログラム
出願人
パイオニア株式会社
代理人
弁理士法人インテクト国際特許事務所
,
個人
主分類
G07C
5/00 20060101AFI20251107BHJP(チェック装置)
要約
【課題】不要な電力消費を抑制しつつ、必要な記録情報を確実に記録することが可能な情報記録装置を提供する。
【解決手段】検出した加速度によって記録情報の記録部Rへの記録制御を行う場合に、画像情報及び音情報の少なくともいずれか一方を記録情報として取得し、外部からの電力供給が停止した後、予め設定された待機時間経過時に電源を停止させる。このとき、当該待機時間を延長可能とする。
【選択図】図2
特許請求の範囲
【請求項1】
検出した加速度によって記録情報の記録手段への記録制御を行う情報記録装置であって、
画像情報及び音情報の少なくともいずれか一方を前記記録情報として取得する取得手段と、
外部からの電力供給が停止した後、予め設定された待機時間経過時に電源を停止する停止制御手段と、
を備え、
前記停止制御手段は、前記待機時間内において、予め設定された閾値以上の前記加速度が検出されたときには当該待機時間を延長することを特徴とする情報記録装置。
発明の詳細な説明
【技術分野】
【0001】
本願は、情報記録装置、情報記録方法及び情報記録用プログラムの技術分野に属する。より詳細には、画像情報等を記録する情報記録装置及び情報記録方法、並びに当該情報記録装置用のプログラムの技術分野に属する。
続きを表示(約 1,900 文字)
【背景技術】
【0002】
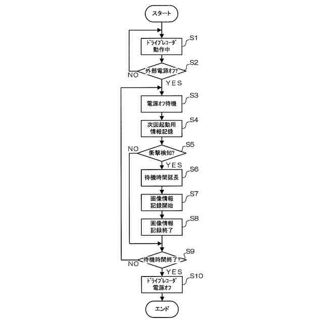
近年、例えば車両における保安上の目的等で、いわゆるドライブレコーダを車両に搭載することが行われる。このようなドライブレコーダに関する従来技術を開示した先行技術文献としては、例えば下記特許文献1が挙げられる。この特許文献1に記載されている技術では、上記ドライブレコーダにおいて、それが搭載されている車両の停車により例えばACC(Accessory)スイッチがオフとされた後、ドライブレコーダ自体への電源供給を、例えばバッテリを用いる等により遅延(継続)した後に停止する遅延回路が備えられている。そしてこの構成によれば、上記停車状態となったとしても、例えばドライブレコーダの次回起動時に必要な情報等をRAM(Random Access Memory)等の一時記録媒体に記録することができる上、更に当該記録された情報等を不揮発性の記録媒体に記録(転送)させることも可能となる。
【先行技術文献】
【特許文献】
【0003】
特開2007-141214号公報(例えば、明細書段落[0073]及び同[0074])
【発明の概要】
【発明が解決しようとする課題】
【0004】
しかしながら、上記特許文献1に記載されている技術をもってしても、ACCスイッチがオフとされた後に電源供給を遅延させている間に、新たに別の情報を記録することが必要となる状況になった場合、遅延させる時間が足りないため当該別の情報が記録/保存されないか、又は、一部は記録/保存されるが残りが最後まで記録/保存されなくなる可能性があるという問題点がある。
【0005】
また、上記記録すべき情報が記録されないことへの対策として、遅延時間を必要量だけ一律に長く設定することも考え得るが、この場合、上記別の情報を記録する必要のない時でも毎回長い遅延時間を設ける必要があり、この場合にはバッテリの電力を不要に消費してしまうという問題点があった。
【0006】
そこで本願は、上記の各問題点に鑑みて為されたもので、その課題の一例は、不要な電力消費を抑制しつつ、必要な記録情報を確実に記録することが可能な情報記録装置及び情報記録方法、並びに当該情報記録装置用のプログラムを提供することにある。
【課題を解決するための手段】
【0007】
上記の課題を解決するために、請求項1に記載の発明は、検出した加速度によって記録情報の記録手段への記録制御を行う情報記録装置であって、画像情報及び音情報の少なくともいずれか一方を前記記録情報として取得する取得手段と、外部からの電力供給が停止した後、予め設定された待機時間経過時に電源を停止する停止制御手段と、を備え、前記待機時間は延長可能であるように構成される。
【0008】
上記の課題を解決するために、請求項3に記載の発明は、検出した加速度によって記録情報の記録手段への記録制御を行う情報記録装置であって、取得手段と、停止制御手段と、を備える情報記録装置において実行される情報記録方法において、画像情報及び音情報の少なくともいずれか一方を前記記録情報として前記取得手段により取得する取得工程と、外部からの電力供給が停止した後、前記停止制御手段により、予め設定された待機時間経過時に電源を停止する停止制御工程と、を含み、前記待機時間は延長可能であるように構成される。
【0009】
上記の課題を解決するために、請求項4に記載の発明は、検出した加速度によって記録情報の記録手段への記録制御を行う情報記録装置に含まれるコンピュータを、画像情報及び音情報の少なくともいずれか一方を前記記録情報として取得する取得手段、及び、外部からの電力供給が停止した後、予め設定された待機時間経過時に電源を停止する停止制御手段、として機能させる情報記録用プログラムであって、前記待機時間は延長可能であるように構成される。
【図面の簡単な説明】
【0010】
実施形態に係る情報記録装置の概要構成を示すブロック図である。
実施例に係るドライブレコーダの概要構成を示すブロック図である。
実施例に係る記録処理を示すフローチャートである。
実施例に係る保存時間等を具体的に例示する図であり、(a)は第1例を示す図であり、(b)は第2例を示す図である。
【発明を実施するための形態】
(【0011】以降は省略されています)
この特許をJ-PlatPat(特許庁公式サイト)で参照する
関連特許
パイオニア株式会社
情報処理装置、情報処理方法及びプログラム
1か月前
パイオニア株式会社
情報処理装置、情報処理方法、及びプログラム
1か月前
パイオニア株式会社
情報処理装置、制御方法、プログラム及び記憶媒体
1か月前
パイオニア株式会社
情報処理装置、制御方法、プログラム及び記憶媒体
1か月前
パイオニア株式会社
情報処理装置、情報処理方法および情報処理プログラム
1か月前
パイオニア株式会社
情報処理装置、情報処理方法および情報処理プログラム
1か月前
パイオニア株式会社
情報処理装置、情報処理方法および情報処理プログラム
1か月前
パイオニア株式会社
情報処理装置、情報処理方法および情報処理プログラム
1か月前
パイオニア株式会社
情報処理装置、情報処理方法および情報処理プログラム
1か月前
パイオニア株式会社
情報処理装置、情報処理方法および情報処理プログラム
1か月前
パイオニア株式会社
情報処理装置、情報処理方法および情報処理プログラム
1か月前
パイオニア株式会社
情報処理装置、情報処理方法、および情報処理プログラム
1か月前
パイオニア株式会社
情報処理システム、情報処理方法、プログラム及び記録媒体
1か月前
パイオニア株式会社
光制御装置
7日前
パイオニア株式会社
光制御装置
7日前
パイオニア株式会社
センサ装置
1か月前
パイオニア株式会社
表示制御装置
1か月前
パイオニア株式会社
情報出力装置
1か月前
パイオニア株式会社
音声出力装置
1か月前
パイオニア株式会社
情報処理装置
22日前
パイオニア株式会社
情報処理装置
15日前
パイオニア株式会社
情報処理装置
14日前
パイオニア株式会社
情報処理装置
14日前
パイオニア株式会社
効果音出力装置
24日前
パイオニア株式会社
ナビゲーション装置
1か月前
パイオニア株式会社
情報処理装置、端末装置
14日前
パイオニア株式会社
表示装置および表示装置の駆動方法
1か月前
パイオニア株式会社
通報装置、通報方法、及びプログラム
1か月前
パイオニア株式会社
案内情報生成装置及び案内情報生成方法
1か月前
パイオニア株式会社
認識装置、認識方法及び認識プログラム
3日前
パイオニア株式会社
制御装置、制御方法及び制御用プログラム
14日前
パイオニア株式会社
撮影装置、制御方法、プログラム及び記憶媒体
14日前
パイオニア株式会社
情報処理装置、制御方法、プログラム及び記憶媒体
1か月前
パイオニア株式会社
情報処理装置、制御方法、プログラム及び記憶媒体
16日前
パイオニア株式会社
表示装置、表示方法、プログラム、及び、記憶媒体
16日前
パイオニア株式会社
推定装置、システム、推定方法、およびプログラム
1か月前
続きを見る
他の特許を見る