TOP
|
特許
|
意匠
|
商標
特許ウォッチ
Twitter
他の特許を見る
10個以上の画像は省略されています。
公開番号
2025156471
公報種別
公開特許公報(A)
公開日
2025-10-14
出願番号
2025129036,2024109076
出願日
2025-08-01,2012-08-27
発明の名称
表示装置および表示装置の駆動方法
出願人
パイオニア株式会社
代理人
個人
,
個人
,
個人
主分類
H04N
5/74 20060101AFI20251002BHJP(電気通信技術)
要約
【課題】簡単な回路構成であるとともに、低消費電力化を図ることができる表示装置および表示装置の駆動方法を提供する。
【解決手段】リバースモードのスクリーン21の対向電極26には、光学層の光学状態を変化させる周期の2倍の周期で、正の電圧V11と0ボルトとの間で変化する矩形波電圧を印加し、制御電極27には、対向電極26に印加した矩形波電圧と同じ周期かつ同相でV11と同じ値である正の電圧V12と0ボルトとの間で変化する矩形波電圧に光学層25の光学状態を変化させるタイミングで光学状態が変化する電極間電位差となるパルス電圧を重畳させて印加するように制御する。
【選択図】図5
特許請求の範囲
【請求項1】
電圧の印加により光学状態が変化する光学層、および前記光学層に電圧を印加するために前記光学層を挟んで対向配置される第1電極及び第2電極を備えたスクリーンと、
前記スクリーンに投影される映像光の投影期間において、前記第1電極および前記第2電極に所定の電圧を印加し、前記スクリーンを前記映像光を散乱する所定の映像状態と該映像状態と異なる光学状態である非映像状態との間で切り替える制御部と、
を有する表示装置において、
前記制御部が、前記第1電極に、前記光学状態を変化させる周期の整数倍の周期の第1矩形波電圧を印加し、前記第2電極に、前記第1矩形波電圧と同じ周期かつ同じ位相または同じ周期かつ半周期ずれている位相の第2矩形波電圧と、前記光学状態を変化させるタイミングで前記光学状態が変化する電極間電位差とするパルス電圧と、を重畳させて印加することを特徴とする表示装置。
発明の詳細な説明
【技術分野】
【0001】
本発明は、映像を表示する表示装置および表示装置の駆動方法に関する。
続きを表示(約 2,800 文字)
【背景技術】
【0002】
従来からプロジェクタ等の光源からの投影映像をスクリーン(投影面)に投影して映像を表示する表示装置が知られている。
【0003】
この種の表示装置のスクリーンには、液晶素子を使用することがある。液層素子(液晶ディスプレイ)は、一般的に直流駆動すると寿命が短くなるため、交流電圧を加えることで駆動する交流電圧駆動が行われている。この交流の印加方式としては、フレーム反転駆動方式、行ライン反転駆動方式、列ライン反転駆動方式およびドット反転駆動方式などが挙げられる(交流駆動の液晶を使用したスクリーンの例として特許文献1を参照)。
【0004】
また、特許文献2には、スクリーンとして透過型の液晶ディスプレイパネルを使用し、スクリーンの透過率を制御して透明状態と不透明状態とを交互に変化させて、透明状態のときにスクリーンの背後に設置されたカメラで鑑賞者の撮影を行い、不透明状態のときにはディプレイとして映像を表示させることが提案されている。
【先行技術文献】
【特許文献】
【0005】
特開第4229161号公報
特許第4490357号公報
【発明の概要】
【発明が解決しようとする課題】
【0006】
特許文献2に記載された透過型の液晶ディスプレイも、駆動方法としては交流駆動が行われる。しかしながら、交流駆動の場合、光学状態を変化させるタイミングの自由度を高くするために、一方の電極を0ボルトに固定して、他方の電極に両極性の交流電圧波形を印加することがあるが、その場合、正の所定電圧+Vと負の所定電圧-Vの2つの電源が必要となり、電源や駆動回路が複雑化するという問題がある。また、駆動電圧の振幅も大きくなってしまうために、消費電力が大きくなってしまうという問題がある。
【0007】
そこで、本発明は、上述した問題に鑑み、例えば、簡単な回路構成であるとともに、低消費電力化を図ることができる表示装置および表示装置の駆動方法を提供することを課題とする。
【課題を解決するための手段】
【0008】
上記課題を解決するために、請求項1に記載の表示装置は、電圧の印加により光学状態が変化する光学層、および前記光学層に電圧を印加するために前記光学層を挟んで対向配置される第1電極及び第2電極を備えたスクリーンと、前記スクリーンに投影される映像光の投影期間において、前記第1電極および前記第2電極に所定の電圧を印加し、前記スクリーンを前記映像光を散乱する所定の映像状態と該映像状態と異なる光学状態である非映像状態との間で切り替える制御部と、を有する表示装置において、前記制御部が、前記第1電極に、前記光学状態を変化させる周期の整数倍の周期の第1矩形波電圧を印加し、前記第2電極に、前記第1矩形波電圧と同じ周期かつ同じ位相または同じ周期かつ半周期ずれている位相の第2矩形波電圧と、前記光学状態を変化させるタイミングで前記光学状態が変化する電極間電位差とするパルス電圧と、を重畳させて印加することを特徴としている。
【図面の簡単な説明】
【0009】
本発明の第1の実施例にかかる表示装置の概略構成図である。
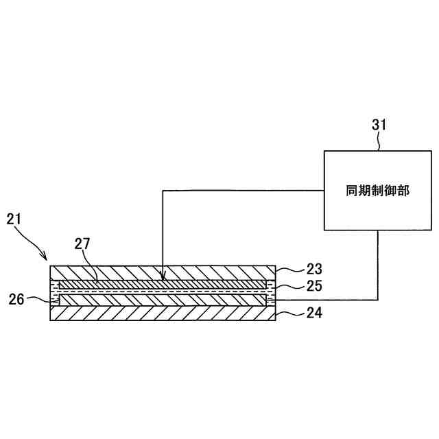
図1に示されたスクリーンの模式的な断面図である。
図1に示されたスクリーンの光学特性と同期して投射するプロジェクタの説明図である。
図1に示された表示装置における映像光による映像とスクリーンの背景が重なる表示状態の説明図である。
図1に示されたスクリーンがリバースモードで動作する場合の駆動電圧波形を示したタイミングチャートである。
図1に示されたスクリーンがノーマルモードで動作する場合の駆動電圧波形を示したタイミングチャートである。
本発明の第2の実施例にかかる表示装置のスクリーンがリバースモードで動作する場合の駆動電圧波形を示したタイミングチャートである。
図7に示されたスクリーンがノーマルモードで動作する場合の駆動電圧波形を示したタイミングチャートである。
本発明の第3の実施例にかかる表示装置のスクリーンがリバースモードで動作する場合の駆動電圧波形を示したタイミングチャートである。
本発明の第4の実施例にかかる表示装置のスクリーンがリバースモードで動作する場合の駆動電圧波形を示したタイミングチャートである。
図5に示された駆動電圧波形の光学層の素子電圧と平行光線透過率との関係を示したグラフである。
図10に示された駆動電圧波形の光学層の素子電圧と平行光線透過率との関係を示したグラフである。
本発明の第5の実施例にかかる表示装置のスクリーンがリバースモードで動作する場合の駆動電圧波形を示したタイミングチャートである。
本発明の第6の実施例にかかるスクリーンの模式的な断面図である。
図14に示された複数の制御電極の配置を示すスクリーンの模式的な正面図である。
図14に示されたスクリーンの走査と駆動との同期制御の説明図である。
図14に示されたスクリーンを走査するプロジェクタの説明図である。
図14に示されたスクリーンの走査と駆動の模式的なタイミングチャートである。
図14に示された駆動電圧波形を複数の領域に対して印加した場合を示すタイミングチャートである。
本発明の第7の実施例にかかる表示装置のスクリーンがリバースモードで動作する場合の駆動電圧波形を示したタイミングチャートである。
【発明を実施するための形態】
【0010】
以下、本発明の一実施形態にかかる表示装置を説明する。本発明の一実施形態にかかる表示装置は、電圧の印加により光学状態が変化する光学層、および光学層に電圧を印加するために光学層を挟んで対向配置される第1電極及び第2電極を有するスクリーンの第1電極には、光学層の光学状態を変化させる周期の整数倍の周期の第1矩形波電圧を印加し、第2電極には、第1矩形波電圧と同じ周期かつ位相が同じまたは半周期ずれている第2矩形波電圧に光学層の光学状態を変化させるタイミングで光学状態が変化する電極間電位差となるパルス電圧を重畳させて印加するように制御部が駆動するので、例えば、第1、第2矩形波電圧およびパルス電圧の振幅を所望の光学特性が得られる電極間電位差とすれば、少ない電源(1電源)で駆動するための回路を構成することができるので、簡単な回路構成にすることができる。また、電圧を低下させることができるので、消費電力を低下させることができる。さらに、容易に任意のタイミングで光学層を構成する素子の光学特性を変化させることが可能となる。
(【0011】以降は省略されています)
この特許をJ-PlatPat(特許庁公式サイト)で参照する
関連特許
パイオニア株式会社
光制御装置
16日前
パイオニア株式会社
光制御装置
16日前
パイオニア株式会社
情報処理装置
23日前
パイオニア株式会社
情報処理装置
24日前
パイオニア株式会社
情報表示装置
4日前
パイオニア株式会社
音声出力装置
1か月前
パイオニア株式会社
情報出力装置
1か月前
パイオニア株式会社
情報処理装置
1か月前
パイオニア株式会社
情報処理装置
23日前
パイオニア株式会社
効果音出力装置
1か月前
パイオニア株式会社
情報処理装置、端末装置
23日前
パイオニア株式会社
認識装置、認識方法及び認識プログラム
12日前
パイオニア株式会社
制御装置、制御方法及び制御用プログラム
23日前
パイオニア株式会社
撮影装置、制御方法、プログラム及び記憶媒体
23日前
パイオニア株式会社
情報処理装置、制御方法、プログラム及び記憶媒体
25日前
パイオニア株式会社
表示装置、表示方法、プログラム、及び、記憶媒体
25日前
パイオニア株式会社
情報処理装置、判定方法、プログラム及び記憶媒体
2日前
パイオニア株式会社
推定装置、システム、推定方法、およびプログラム
1か月前
パイオニア株式会社
決定装置、決定方法、決定プログラム及び記録媒体
1か月前
パイオニア株式会社
通信制御端末、通信制御方法及び通信制御プログラム
1か月前
パイオニア株式会社
情報処理装置、情報処理方法及び情報処理プログラム
1か月前
パイオニア株式会社
制御装置、制御方法、および、制御装置用プログラム
1か月前
パイオニア株式会社
情報記録装置、情報記録方法及び情報記録用プログラム
16日前
パイオニア株式会社
料金算出装置、料金算出方法及び料金算出用プログラム
1か月前
パイオニア株式会社
車載装置、情報処理方法、情報管理装置及び情報管理方法
2日前
パイオニア株式会社
音出力制御装置、音出力制御方法および音出力制御プログラム
1か月前
パイオニア株式会社
携帯端末装置、情報処理装置、連携システム及び表示制御方法
9日前
パイオニア株式会社
情報処理装置、情報処理方法、情報処理プログラム及び記録媒体
25日前
パイオニア株式会社
情報処理装置、情報処理方法、情報処理プログラム、及び記憶媒体
1か月前
パイオニア株式会社
情報処理装置、広告情報提示装置及びこれらの装置によって実行される方法
1か月前
パイオニア株式会社
地点検索方法、地点検索プログラム、地点検索記憶媒体および地点検索装置
1か月前
パイオニア株式会社
通信端末、通信方法、通信プログラム、通信プログラムを格納した記録媒体および情報処理装置
2日前
パイオニア株式会社
情報処理装置、情報処理方法、情報処理プログラム及び情報処理プログラムを記録したコンピュータ読み取り可能な記録媒体
4日前
個人
イヤーピース
23日前
個人
イヤーマフ
1か月前
個人
監視カメラシステム
1か月前
続きを見る
他の特許を見る