TOP
|
特許
|
意匠
|
商標
特許ウォッチ
Twitter
他の特許を見る
10個以上の画像は省略されています。
公開番号
2025156564
公報種別
公開特許公報(A)
公開日
2025-10-14
出願番号
2025133161,2024059954
出願日
2025-08-08,2021-01-14
発明の名称
情報処理装置、情報出力方法、プログラム及び記憶媒体
出願人
パイオニア株式会社
代理人
個人
主分類
G01C
21/36 20060101AFI20251002BHJP(測定;試験)
要約
【課題】主として音声により経路案内を行う場合に、適切に連続案内を実施する。
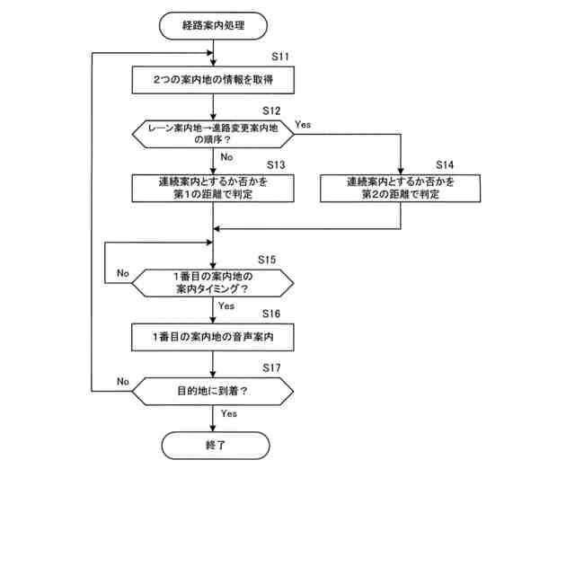
【解決手段】情報処理装置は、経路に基づいて、走行すべき直進レーンを案内するレーン案内地において走行すべき直進レーンを案内し、進路変更案内地において進路変更を案内する音声案内部を備える。音声案内部は、レーン案内地と、進路変更案内地とが連続する場合に、レーン案内地と進路変更案内地の順序及び距離に応じて、レーン案内地と進路変更案内地を個別に案内するか、一度に連続して案内するかを決定する。
【選択図】図4
特許請求の範囲
【請求項1】
車両の移動に関する情報を提供する情報処理装置であって、
経路に基づいて、走行すべき直進レーンを案内するレーン案内地において走行すべき直進レーンを案内し、進路変更案内地において進路変更を案内する音声案内部を備え、
前記音声案内部は、前記レーン案内地と、前記進路変更案内地とが連続する場合に、前記レーン案内地と前記進路変更案内地の順序及び距離に応じて、前記レーン案内地と前記進路変更案内地を個別に案内するか、一度に連続して案内するかを決定する情報処理装置。
発明の詳細な説明
【技術分野】
【0001】
本発明は、音声による経路案内に関する。
続きを表示(約 1,800 文字)
【背景技術】
【0002】
車両などに搭載され、目的地への経路案内を行うナビゲーション装置が知られている。特許文献1は、連続する案内ポイントの距離が近く、案内が重なる場合に、第1の案内ポイントに対する音声案内に第2案内ポイントに対する音声案内を付加して出力する連続案内を行うことを記載している。
【先行技術文献】
【特許文献】
【0003】
特開2002-202147号公報
【発明の概要】
【発明が解決しようとする課題】
【0004】
一般的なナビゲーション装置は、表示部に車両周辺の地図や案内経路などを詳細に表示して目的地への経路案内を行う。一方、地図や案内経路などを表示せず、もっぱら音声出力により目的地への経路案内を行うナビゲーション装置(以下、「音声ナビゲーション装置」と呼ぶ。)が知られている。音声ナビゲーション装置の場合、音声案内の内容が一般的なナビゲーション装置とは異なるため、連続案内の方法も一般的なナビゲーション装置とは異なってくる。
【0005】
一例では、一般的なナビゲーション装置において直進するだけのため案内が行われない地点であっても、音声ナビゲーション装置においてはレーンの移動に注意すべき場合等に案内を行う必要があると判断される場合がある。その際、連続案内を一般的なナビゲーション装置と同じ条件で行うだけでは、直進した先をどのように曲がるのかを運転手に伝えるタイミングが遅くなりすぎてしまうことが考えられる。
【0006】
本発明は、上記のような課題を解決するためになされたものであり、主として音声により経路案内を行う場合に、適切に連続案内を実施することが可能な情報処理装置を提供することを主な目的とする。
【課題を解決するための手段】
【0007】
請求項に記載の発明は、車両の移動に関する情報を提供する情報処理装置であって、経路に基づいて、走行すべき直進レーンを案内するレーン案内地において走行すべき直進レーンを案内し、進路変更案内地において進路変更を案内する音声案内部を備え、前記音声案内部は、前記レーン案内地と、前記進路変更案内地とが連続する場合に、前記レーン案内地と前記進路変更案内地の順序及び距離に応じて、前記レーン案内地と前記進路変更案内地を個別に案内するか、一度に連続して案内するかを決定する。
【0008】
また、請求項に記載の発明は、車両の移動に関する情報を提供する情報処理装置により実行される情報出力方法であって、経路に基づいて、走行すべき直進レーンを案内するレーン案内地において走行すべき直進レーンを案内し、進路変更案内地において進路変更を案内する音声案内工程を備え、前記音声案内工程は、前記レーン案内地と、前記進路変更案内地とが連続する場合に、前記レーン案内地と前記進路変更案内地の順序及び距離に応じて、前記レーン案内地と前記進路変更案内地を個別に案内するか、一度に連続して案内するかを決定する。
【0009】
また、請求項に記載の発明は、コンピュータを備える情報処理装置により実行され、車両の移動に関する情報を提供するプログラムであって、経路に基づいて、走行すべき直進レーンを案内するレーン案内地において走行すべき直進レーンを案内し、進路変更案内地において進路変更を案内する音声案内部として前記コンピュータを機能させ、前記音声案内部は、前記レーン案内地と、前記進路変更案内地とが連続する場合に、前記レーン案内地と前記進路変更案内地の順序及び距離に応じて、前記レーン案内地と前記進路変更案内地を個別に案内するか、一度に連続して案内するかを決定する。
【図面の簡単な説明】
【0010】
第1実施例に係る音声案内システムの構成例を示す。
音声案内装置の概略構成の一例を示す。
進路変更案内地及びレーン案内地の例を示す。
連続案内を行うか否かの判定基準を示す。
案内経路の例を示す。
案内経路の他の例を示す。
経路案内処理のフローチャートである。
第2実施例に係る音声案内システムの構成例である。
サーバ装置の概略構成の一例を示す。
【発明を実施するための形態】
(【0011】以降は省略されています)
この特許をJ-PlatPat(特許庁公式サイト)で参照する
関連特許
パイオニア株式会社
情報処理装置、情報処理方法および情報処理プログラム
1か月前
パイオニア株式会社
センサ装置
1か月前
パイオニア株式会社
光制御装置
16日前
パイオニア株式会社
光制御装置
16日前
パイオニア株式会社
情報処理装置
23日前
パイオニア株式会社
表示制御装置
1か月前
パイオニア株式会社
情報表示装置
4日前
パイオニア株式会社
音声出力装置
1か月前
パイオニア株式会社
情報出力装置
1か月前
パイオニア株式会社
情報処理装置
1か月前
パイオニア株式会社
情報処理装置
23日前
パイオニア株式会社
情報処理装置
24日前
パイオニア株式会社
効果音出力装置
1か月前
パイオニア株式会社
ナビゲーション装置
1か月前
パイオニア株式会社
情報処理装置、端末装置
23日前
パイオニア株式会社
表示装置および表示装置の駆動方法
1か月前
パイオニア株式会社
認識装置、認識方法及び認識プログラム
12日前
パイオニア株式会社
案内情報生成装置及び案内情報生成方法
1か月前
パイオニア株式会社
制御装置、制御方法及び制御用プログラム
23日前
パイオニア株式会社
撮影装置、制御方法、プログラム及び記憶媒体
23日前
パイオニア株式会社
情報処理装置、制御方法、プログラム及び記憶媒体
25日前
パイオニア株式会社
表示装置、表示方法、プログラム、及び、記憶媒体
25日前
パイオニア株式会社
情報処理装置、判定方法、プログラム及び記憶媒体
2日前
パイオニア株式会社
予測装置、予測方法、予測プログラム及び記憶媒体
1か月前
パイオニア株式会社
情報処理装置、制御方法、プログラム及び記憶媒体
1か月前
パイオニア株式会社
推定装置、システム、推定方法、およびプログラム
1か月前
パイオニア株式会社
決定装置、決定方法、決定プログラム及び記録媒体
1か月前
パイオニア株式会社
認識判定装置、認識判定方法及び認識判定プログラム
1か月前
パイオニア株式会社
通信制御端末、通信制御方法及び通信制御プログラム
1か月前
パイオニア株式会社
情報処理装置、情報処理方法及び情報処理プログラム
1か月前
パイオニア株式会社
制御装置、制御方法、および、制御装置用プログラム
1か月前
パイオニア株式会社
情報記録装置、情報記録方法及び情報記録用プログラム
16日前
パイオニア株式会社
料金算出装置、料金算出方法及び料金算出用プログラム
1か月前
パイオニア株式会社
情報処理装置、情報出力方法、プログラム及び記憶媒体
1か月前
パイオニア株式会社
車載装置、情報処理方法、情報管理装置及び情報管理方法
2日前
パイオニア株式会社
携帯端末装置、情報処理装置、連携システム及び表示制御方法
9日前
続きを見る
他の特許を見る