TOP
|
特許
|
意匠
|
商標
特許ウォッチ
Twitter
他の特許を見る
10個以上の画像は省略されています。
公開番号
2025170077
公報種別
公開特許公報(A)
公開日
2025-11-14
出願番号
2025149923,2025016520
出願日
2025-09-10,2015-10-06
発明の名称
光制御装置
出願人
パイオニア株式会社
代理人
個人
主分類
G01S
7/481 20060101AFI20251107BHJP(測定;試験)
要約
【課題】単一の送受信器を用いて3次元の情報を取得することを可能とする光制御装置を提供する。
【解決手段】光制御装置は、移動体に設置され、出射部と受光部とを有する送受光部を備える。出射部は光を出射し、受光部は移動体周辺の対象物にて反射された光を受光する。制御部は、出射部によって出射される光を、第1の方向と、第1の方向と交わる第2の方向とに連続的に遷移させることで、出射部によって出射される光の遷移軌跡が螺旋状となるように出射部を制御する。
【選択図】図5
特許請求の範囲
【請求項1】
移動体に設置され、光を出射する出射部と前記移動体周辺の対象物にて反射された光を受光する受光部とを有する送受光部と、
前記出射部によって出射される光を、第1の方向と、前記第1の方向と交わる第2の方向とに連続的に遷移させることで、前記出射部によって出射される光の遷移軌跡が螺旋状となるように前記出射部を制御する制御部と、
を備えることを特徴とする光制御装置。
発明の詳細な説明
【技術分野】
【0001】
本発明は、出射光の遷移を制御する光制御装置に関する。
続きを表示(約 1,600 文字)
【背景技術】
【0002】
レーザ光を間欠的に発光させつつ水平方向を走査し、その反射光を受信することで物体表面の点群を検出するライダ(LIDAR)が知られている。特許文献1は、自動車に搭載したライダにより1次元又は2次元で周囲を走査し、自動車の周囲の状況についての情報を検出する手法を記載している。
【先行技術文献】
【特許文献】
【0003】
特開2014-89691号公報
【発明の概要】
【発明が解決しようとする課題】
【0004】
周囲の状況についての情報を3次元で取得したい場合、多層型のライダを使用する必要がある。しかし、多層型のライダは層数分の光送受信器を必要とするため、非常に高コストとなる。
【0005】
本発明が解決しようとする課題としては、上記のものが例として挙げられる。本発明は、単一の送受信器を用いて3次元の情報を取得することを可能とする光制御装置を提供することを目的とする。
【課題を解決するための手段】
【0006】
請求項に記載の発明は、光制御装置であって、移動体に設置され、光を出射する出射部と前記移動体周辺の対象物にて反射された光を受光する受光部とを有する送受光部と、前記出射部によって出射される光を、第1の方向と、前記第1の方向と交わる第2の方向とに連続的に遷移させることで、前記出射部によって出射される光の遷移軌跡が螺旋状となるように前記出射部を制御する制御部と、を備えることを特徴とする。
【図面の簡単な説明】
【0007】
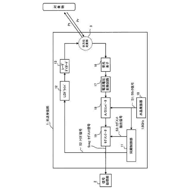
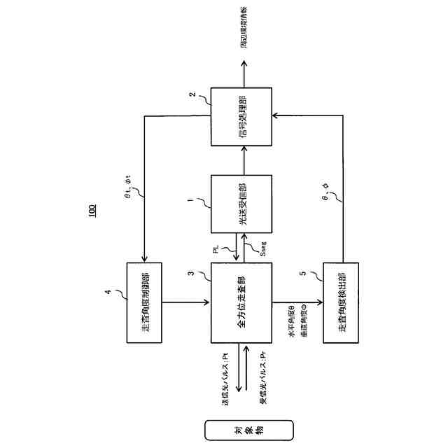
実施例に係るライダユニットの構成を示すブロック図である。
光送受信部の構成を示すブロック図である。
トリガ信号及びセグメント抽出信号の波形を示す。
全方位走査部の動作を模式的に示す。
第1実施例による螺旋走査の軌跡を示す。
第1実施例の螺旋走査による走査視野を示す。
第2実施例による部分多層走査の軌跡を示す。
【発明を実施するための形態】
【0008】
本発明の好適な実施形態では、光制御装置は、移動体に設置され、光を出射する出射部と前記移動体周辺の対象物にて反射された光を受光する受光部とを有する送受光部と、前記出射部によって出射される光を、第1の方向と、前記第1の方向と交わる第2の方向とに連続的に遷移させることで、前記出射部によって出射される光の遷移軌跡が螺旋状となるように前記出射部を制御する制御部と、を備える。
【0009】
上記の光制御装置は、移動体に設置され、出射部と受光部とを有する送受光部を備える。出射部は光を出射し、受光部は移動体周辺の対象物にて反射された光を受光する。また、制御部は、出射部によって出射される光を、第1の方向と、第1の方向と交わる第2の方向とに連続的に遷移させることで、出射部によって出射される光の遷移軌跡が螺旋状となるように出射部を制御する。このように、出射部から出射される光を、第1の方向及び第2の方向に連続的に遷移させることにより、移動体周辺の対象物を3次元で検出することが可能となる。
【0010】
上記の光制御装置の一態様は、前記第1の方向における前記出射部によって出射される光の出射角度を示す第1角度情報を取得する第1取得部と、前記第2の方向における前記出射部によって出射される光の出射角度を示す第2角度情報を取得する第2取得部と、を更に備え、前記制御部は、前記第1角度情報と前記第2角度情報とに基づいて、前記制御を行う。この態様では、制御部は、第1角度情報及び第2角度情報に基づいて、出射される光の遷移軌跡を螺旋状に制御する。
(【0011】以降は省略されています)
この特許をJ-PlatPat(特許庁公式サイト)で参照する
関連特許
パイオニア株式会社
情報処理装置、情報処理方法及びプログラム
1か月前
パイオニア株式会社
情報処理装置、情報処理方法、及びプログラム
1か月前
パイオニア株式会社
情報処理装置、制御方法、プログラム及び記憶媒体
1か月前
パイオニア株式会社
情報処理装置、制御方法、プログラム及び記憶媒体
1か月前
パイオニア株式会社
情報処理装置、情報処理方法および情報処理プログラム
1か月前
パイオニア株式会社
情報処理装置、情報処理方法および情報処理プログラム
1か月前
パイオニア株式会社
情報処理装置、情報処理方法および情報処理プログラム
1か月前
パイオニア株式会社
情報処理装置、情報処理方法および情報処理プログラム
1か月前
パイオニア株式会社
情報処理装置、情報処理方法および情報処理プログラム
1か月前
パイオニア株式会社
情報処理装置、情報処理方法および情報処理プログラム
1か月前
パイオニア株式会社
情報処理装置、情報処理方法および情報処理プログラム
1か月前
パイオニア株式会社
入力装置
1か月前
パイオニア株式会社
情報処理装置、情報処理方法、および情報処理プログラム
1か月前
パイオニア株式会社
光制御装置
6日前
パイオニア株式会社
センサ装置
1か月前
パイオニア株式会社
光制御装置
6日前
パイオニア株式会社
情報処理システム、情報処理方法、プログラム及び記録媒体
1か月前
パイオニア株式会社
表示制御装置
1か月前
パイオニア株式会社
情報処理装置
21日前
パイオニア株式会社
情報処理装置
14日前
パイオニア株式会社
情報出力装置
1か月前
パイオニア株式会社
情報処理装置
13日前
パイオニア株式会社
音声出力装置
1か月前
パイオニア株式会社
情報処理装置
13日前
パイオニア株式会社
効果音出力装置
23日前
パイオニア株式会社
ナビゲーション装置
1か月前
パイオニア株式会社
情報処理装置、端末装置
13日前
パイオニア株式会社
表示装置および表示装置の駆動方法
1か月前
パイオニア株式会社
通報装置、通報方法、及びプログラム
1か月前
パイオニア株式会社
認識装置、認識方法及び認識プログラム
2日前
パイオニア株式会社
案内情報生成装置及び案内情報生成方法
1か月前
パイオニア株式会社
制御装置、制御方法及び制御用プログラム
13日前
パイオニア株式会社
情報処理装置、方法、プログラム及び記憶媒体
1か月前
パイオニア株式会社
撮影装置、制御方法、プログラム及び記憶媒体
13日前
パイオニア株式会社
情報処理装置、制御方法、プログラム及び記憶媒体
1か月前
パイオニア株式会社
推定装置、システム、推定方法、およびプログラム
29日前
続きを見る
他の特許を見る