TOP
|
特許
|
意匠
|
商標
特許ウォッチ
Twitter
他の特許を見る
10個以上の画像は省略されています。
公開番号
2025152946
公報種別
公開特許公報(A)
公開日
2025-10-10
出願番号
2024055136
出願日
2024-03-29
発明の名称
情報処理装置、情報処理方法および情報処理プログラム
出願人
パイオニア株式会社
代理人
個人
主分類
G01C
21/26 20060101AFI20251002BHJP(測定;試験)
要約
【課題】コンテンツが出力される機会を増やすこと。
【解決手段】情報処理装置は、予め指定された範囲に移動体が進入した場合に、発話エージェント装置によって提供されたコンテンツを出力させ、生成部と、送信制御部とを備える。生成部は、基準値と比較して運転負荷が低い道路区間の情報に基づいて、コンテンツの出力を許可する区間である出力可能区間を示す情報を生成する。送信制御部は、出力可能区間を示す情報を含むコンテンツの提供要求が発話エージェント装置に送信されるよう制御する。
【選択図】図7
特許請求の範囲
【請求項1】
予め指定された範囲に移動体が進入した場合に、発話エージェント装置によって提供されたコンテンツを出力させる情報処理装置であって、
基準値と比較して運転負荷が低い道路区間の情報に基づいて、コンテンツの出力を許可する区間である出力可能区間を示す情報を生成する生成部と、
前記出力可能区間を示す情報を含むコンテンツの提供要求が前記発話エージェント装置に送信されるよう制御する送信制御部と、
を備える情報処理装置。
続きを表示(約 1,800 文字)
【請求項2】
前記移動体が走行する走行経路に含まれる道路区間ごとに、当該道路区間が、基準値と比較して運転負荷が低いことを示す第1の種別、または、基準値と比較して運転負荷が高いことを示す第2の種別のいずれであるかを推定する推定処理が実行され、
前記生成部は、前記走行経路に含まれる道路区間のうち、前記第1の種別と推定された道路区間の情報に基づいて、前記出力可能区間を示す情報を生成する
請求項1に記載の情報処理装置。
【請求項3】
前記生成部は、前記移動体が走行する走行経路のうち、前記第1の種別と推定された道路区間の位置を示す位置情報に基づいて、前記出力可能区間を示す情報として、前記第1の種別と推定された道路区間において、コンテンツの出力を開始させる位置である開始位置と、コンテンツの出力を終了させる位置である終了位置とを算出する
請求項2に記載の情報処理装置。
【請求項4】
前記生成部は、前記移動体が走行する走行経路のうち、前記第1の種別と推定された道路区間の距離と、前記第1の種別と推定された道路区間を前記移動体が走行する走行速度とに基づいて、前記出力可能区間を示す情報として、前記第1の種別と推定された道路区間でコンテンツを出力させることが可能な時間長である出力可能時間を算出する
請求項2に記載の情報処理装置。
【請求項5】
前記生成部は、前記推定処理が実行されるたびに、前記出力可能区間を示す情報を生成し、
前記送信制御部は、前回の前記推定処理の結果に基づき生成された前記出力可能区間を示す情報と、今回の前記推定処理の結果に基づき生成された前記出力可能区間を示す情報とが異なる場合に、今回の前記推定処理の結果に基づき生成された前記出力可能区間を示す情報を含む前記コンテンツの提供要求を前記発話エージェント装置に送信させる
請求項2に記載の情報処理装置。
【請求項6】
前記生成部は、前記第1の種別と推定された道路区間に含まれる前記開始位置と前記終了位置とに基づいて、コンテンツの主題となる場所を前記発話エージェント装置に探索させる探索範囲の情報をさらに生成し、
前記送信制御部は、前記出力可能区間を示す情報と、前記探索範囲の情報とを含むコンテンツの提供要求を前記発話エージェント装置に送信させる
請求項3に記載の情報処理装置。
【請求項7】
前記生成部は、前記第1の種別と推定された道路区間の延伸形状と、前記開始位置および前記終了位置とに基づいて、前記延伸形状に沿った形状の探索範囲を設定する
請求項6に記載の情報処理装置。
【請求項8】
前記情報処理装置は、前記発話エージェント装置に対して前記コンテンツの提供要求を配信するクラウド側の配信装置と通信可能に接続され、
前記送信制御部は、前記コンテンツの提供要求を前記配信装置に送信することで、前記配信装置に対して前記コンテンツの提供要求を前記発話エージェント装置に配信させる
請求項1に記載の情報処理装置。
【請求項9】
予め指定された範囲に移動体が進入した場合に、発話エージェント装置によって提供されたコンテンツを出力させる情報処理装置が実行する情報処理方法であって、
基準値と比較して運転負荷が低い道路区間の情報に基づいて、コンテンツの出力を許可する区間である出力可能区間を示す情報を生成する生成工程と、
前記出力可能区間を示す情報を含むコンテンツの提供要求が前記発話エージェント装置に送信されるよう制御する送信制御工程と、
を含む情報処理方法。
【請求項10】
予め指定された範囲に移動体が進入した場合に、発話エージェント装置によって提供されたコンテンツを出力させる情報処理装置が実行する情報処理プログラムであって、
基準値と比較して運転負荷が低い道路区間の情報に基づいて、コンテンツの出力を許可する区間である出力可能区間を示す情報を生成する生成手順と、
前記出力可能区間を示す情報を含むコンテンツの提供要求が前記発話エージェント装置に送信されるよう制御する送信制御手順と、
を前記情報処理装置に実行させる情報処理プログラム。
発明の詳細な説明
【技術分野】
【0001】
本発明は、情報処理装置、情報処理方法および情報処理プログラムに関する。
続きを表示(約 1,500 文字)
【背景技術】
【0002】
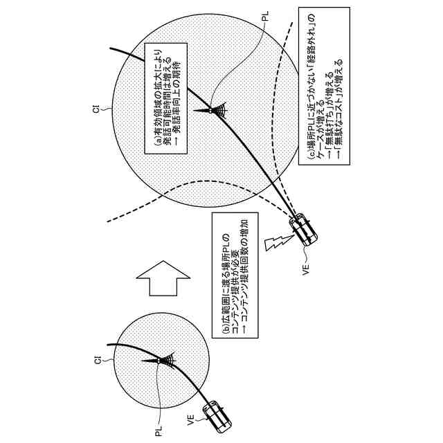
指定された領域の中に移動体が位置している場合に、その領域を指定した発話エージェントのコンテンツを移動体のユーザに向けて出力させる位置指定発話という技術が存在する。位置指定発話では、発話エージェントが提供したコンテンツのうち、基準値と比較して運転負荷が低い道路区間を移動体が走行している間に出力を完了させることのできるコンテンツが出力される場合がある。
【先行技術文献】
【特許文献】
【0003】
特開2023-127377号公報
【発明の概要】
【発明が解決しようとする課題】
【0004】
しかしながら、上記の従来技術では、コンテンツが出力される機会を増やすことができるとは限らない。
【0005】
例えば、位置指定発話では、発話エージェントを制御する発話エージェント装置それぞれによるプッシュ形式でのコンテンツ提供が行われる。具体的には、発話エージェント装置は、エッジ側の状況(例えば、移動体の走行状況)を考慮せず、自装置側の都合に応じた領域を指定しその領域内に移動体が位置した場合にコンテンツを出力するようプッシュ形式でコンテンツを提供してくる。
【0006】
このようなプッシュ形式では、発話エージェント装置それぞれの条件を満たすように全てのコンテンツを有効期限の間に出力することが困難な場合がある。このため、有効期限の間に出力されず棄却となったり、有効期限の間に出力を完了させることができなくなったりするという問題がある。すなわち、上記の従来技術では、コンテンツが出力される機会を増やす点で改善の余地がある。
【0007】
本発明は、上記に鑑みてなされたものであって、コンテンツが出力される機会を増やすことができる情報処理装置、情報処理方法および情報処理プログラムを提供する。
【課題を解決するための手段】
【0008】
請求項1に係る情報処理装置は、予め指定された範囲に移動体が進入した場合に、発話エージェント装置によって提供されたコンテンツを出力させる情報処理装置であって、基準値と比較して運転負荷が低い道路区間の情報に基づいて、コンテンツの出力を許可する区間である出力可能区間を示す情報を生成する生成部と、前記出力可能区間を示す情報を含むコンテンツの提供要求が前記発話エージェント装置に送信されるよう制御する送信制御部と、を備える。
【0009】
請求項9に係る情報処理方法は、予め指定された範囲に移動体が進入した場合に、発話エージェント装置によって提供されたコンテンツを出力させる情報処理装置が実行する情報処理方法であって、基準値と比較して運転負荷が低い道路区間の情報に基づいて、コンテンツの出力を許可する区間である出力可能区間を示す情報を生成する生成工程と、前記出力可能区間を示す情報を含むコンテンツの提供要求が前記発話エージェント装置に送信されるよう制御する送信制御工程と、を含む。
【0010】
請求項10に係る情報処理プログラムは、予め指定された範囲に移動体が進入した場合に、発話エージェント装置によって提供されたコンテンツを出力させる情報処理装置が実行する情報処理プログラムであって、基準値と比較して運転負荷が低い道路区間の情報に基づいて、コンテンツの出力を許可する区間である出力可能区間を示す情報を生成する生成手順と、前記出力可能区間を示す情報を含むコンテンツの提供要求が前記発話エージェント装置に送信されるよう制御する送信制御手順と、を前記情報処理装置に実行させる。
【図面の簡単な説明】
(【0011】以降は省略されています)
この特許をJ-PlatPat(特許庁公式サイト)で参照する
関連特許
個人
視触覚センサ
2日前
個人
採尿及び採便具
1か月前
日本精機株式会社
検出装置
1か月前
個人
計量機能付き容器
27日前
株式会社カクマル
境界杭
17日前
日本精機株式会社
発光表示装置
10日前
甲神電機株式会社
電流検出装置
1か月前
株式会社トプコン
測量装置
9日前
ユニパルス株式会社
トルク変換器
2日前
ユニパルス株式会社
トルク変換器
2日前
ユニパルス株式会社
トルク変換器
2日前
大成建設株式会社
風洞実験装置
27日前
個人
計量具及び計量機能付き容器
27日前
日本特殊陶業株式会社
ガスセンサ
2日前
双庸電子株式会社
誤配線検査装置
1か月前
個人
非接触による電磁パルスの測定方法
1か月前
日本特殊陶業株式会社
ガスセンサ
9日前
日本特殊陶業株式会社
ガスセンサ
3日前
日本特殊陶業株式会社
ガスセンサ
25日前
日本信号株式会社
距離画像センサ
1か月前
株式会社タイガーカワシマ
揚穀装置
9日前
日本特殊陶業株式会社
センサ
11日前
株式会社不二越
X線測定装置
1か月前
個人
液位検視及び品質監視システム
25日前
日東精工株式会社
振動波形検査装置
1か月前
キーコム株式会社
画像作成システム
17日前
本陣水越株式会社
車載式計測標的物
4日前
日置電機株式会社
絶縁抵抗測定装置
2日前
株式会社マグネア
磁界検出素子
1か月前
スズキ株式会社
タイヤ径算出システム
3日前
理研計器株式会社
ガス検知装置
17日前
ユニパルス株式会社
トルク変換器、調整部材
2日前
株式会社エルメックス
希釈液収容容器
27日前
株式会社電巧社
試験装置及び試験方法
1か月前
東レ株式会社
異物検査装置および異物検査方法
2日前
国立研究開発法人物質・材料研究機構
校正方法
2日前
続きを見る
他の特許を見る