TOP
|
特許
|
意匠
|
商標
特許ウォッチ
Twitter
他の特許を見る
10個以上の画像は省略されています。
公開番号
2025153250
公報種別
公開特許公報(A)
公開日
2025-10-10
出願番号
2024055629
出願日
2024-03-29
発明の名称
情報処理装置、情報処理方法および情報処理プログラム
出願人
パイオニア株式会社
代理人
個人
主分類
G06Q
50/14 20120101AFI20251002BHJP(計算;計数)
要約
【課題】移動体の利用者に対して適切なパッケージツアーを提案すること。
【解決手段】情報処理装置は、移動体の出発地を示す出発地情報と、移動体の目的地を示す目的地情報と、あらかじめ登録されたパッケージツアーに関するツアー情報とを取得する取得部と、出発地情報と、目的地情報と、ツアー情報とに基づいて、出発地がパッケージツアーの提供対象範囲に含まれているか否か、および、目的地がパッケージツアーの訪問予定地に含まれているか否かを判定し、判定結果に基づいて、移動体の利用者に対して提案するパッケージツアーを選択する選択部と、選択部によって選択されたパッケージツアーを移動体の利用者に対して提案する提案部と、を備える。
【選択図】図7
特許請求の範囲
【請求項1】
移動体の出発地を示す出発地情報と、前記移動体の目的地を示す目的地情報と、あらかじめ登録されたパッケージツアーに関するツアー情報とを取得する取得部と、
前記出発地情報と、前記目的地情報と、前記ツアー情報とに基づいて、前記出発地が前記パッケージツアーの提供対象範囲に含まれているか否か、および、前記目的地が当該パッケージツアーの訪問予定地に含まれているか否かを判定し、判定結果に基づいて、前記移動体の利用者に対して提案するパッケージツアーを選択する選択部と、
前記選択部によって選択されたパッケージツアーを前記移動体の利用者に対して提案する提案部と、
を備える情報処理装置。
続きを表示(約 1,800 文字)
【請求項2】
前記取得部は、
前記移動体の出発時刻を示す出発時刻情報をさらに取得し、
前記選択部は、
前記出発地情報と、前記出発時刻情報と、前記パッケージツアーの最初の訪問予定地を示す第1訪問予定地情報とに基づいて、前記最初の訪問予定地への前記移動体の到着予想時刻である第1到着予想時刻を算出し、前記第1到着予想時刻に基づいて、前記移動体の利用者に対して提案するパッケージツアーを選択する、
請求項1に記載の情報処理装置。
【請求項3】
前記取得部は、
前記移動体の出発時刻を示す出発時刻情報と、前記パッケージツアーごとの訪問予定地への到着推奨時刻と、複数のパッケージツアーに共通する共通通過地点を示す共通通過地点情報と、前記共通通過地点情報と前記到着推奨時刻とに基づいて算出された前記共通通過地点を通過すべき時刻である通過推奨時刻をさらに取得し、
前記選択部は、
前記出発地情報と、前記出発時刻情報と、前記共通通過地点情報と、前記通過推奨時刻と、に基づいて、前記移動体が前記通過推奨時刻までに前記共通通過地点に到着するか否かを判定し、判定結果に基づいて、前記移動体の利用者に対して提案するパッケージツアーを選択する、
請求項1に記載の情報処理装置。
【請求項4】
前記選択部は、
前記出発地情報と、前記出発時刻情報と、前記共通通過地点情報とに基づいて、前記共通通過地点への前記移動体の到着予想時刻である共通地点到着予想時刻を算出し、前記共通地点到着予想時刻と、前記通過推奨時刻とに基づいて、前記移動体が前記通過推奨時刻までに前記共通通過地点に到達するか否かを判定し、判定結果に基づいて、前記移動体の利用者に対して提案するパッケージツアーを選択する、
請求項3に記載の情報処理装置。
【請求項5】
前記取得部は、
前記到着推奨時刻として、前記複数のパッケージツアーの最初の訪問予定地への到着推奨時刻である第1到着推奨時刻を取得し、
前記選択部は、
前記第1到着推奨時刻に基づいて、前記移動体が前記通過推奨時刻までに前記共通通過地点に到着するか否かを判定し、判定結果に基づいて、前記移動体の利用者に対して提案するパッケージツアーを選択する、
請求項3に記載の情報処理装置。
【請求項6】
前記選択部は、
前記複数のパッケージツアーの最初の訪問予定地に基づいて、前記共通通過地点を決定する、
請求項3に記載の情報処理装置。
【請求項7】
情報処理装置が実行する情報処理方法であって、
移動体の出発地を示す出発地情報と、前記移動体の目的地を示す目的地情報と、あらかじめ登録されたパッケージツアーに関するツアー情報とを取得する取得工程と、
前記出発地情報と、前記目的地情報と、前記ツアー情報とに基づいて、前記出発地が前記パッケージツアーの提供対象範囲に含まれているか否か、および、前記目的地が当該パッケージツアーの訪問予定地に含まれているか否かを判定し、判定結果に基づいて、前記移動体の利用者に対して提案するパッケージツアーを選択する選択工程と、
前記選択工程によって選択されたパッケージツアーを前記移動体の利用者に対して提案する提案工程と、
を含む情報処理方法。
【請求項8】
情報処理装置が実行する情報処理プログラムであって、
移動体の出発地を示す出発地情報と、前記移動体の目的地を示す目的地情報と、あらかじめ登録されたパッケージツアーに関するツアー情報とを取得する取得手順と、
前記出発地情報と、前記目的地情報と、前記ツアー情報とに基づいて、前記出発地が前記パッケージツアーの提供対象範囲に含まれているか否か、および、前記目的地が当該パッケージツアーの訪問予定地に含まれているか否かを判定し、判定結果に基づいて、前記移動体の利用者に対して提案するパッケージツアーを選択する選択手順と、
前記選択手順によって選択されたパッケージツアーを前記移動体の利用者に対して提案する提案手順と、
を前記情報処理装置に実行させる情報処理プログラム。
発明の詳細な説明
【技術分野】
【0001】
本発明は、情報処理装置、情報処理方法および情報処理プログラムに関する。
続きを表示(約 2,000 文字)
【背景技術】
【0002】
従来、移動体の利用者に応じた旅行プランを提案する技術が知られている。例えば、移動体の移動履歴情報に基づいて、ドライブプランの作成に用いる条件に適合するドライブプランを作成し、作成されたドライブプランに関する情報を出力する技術が知られている。
【先行技術文献】
【特許文献】
【0003】
特開2009-36653号公報
【発明の概要】
【発明が解決しようとする課題】
【0004】
しかしながら、上記の従来技術では、移動体の利用者に対して適切なパッケージツアーを提案することができるとは限らない。
【0005】
本発明は、上記に鑑みてなされたものであって、移動体の利用者に対して適切なパッケージツアーを提案することができる情報処理装置、情報処理方法および情報処理プログラムを提供する。
【課題を解決するための手段】
【0006】
請求項1に係る情報処理装置は、移動体の出発地を示す出発地情報と、前記移動体の目的地を示す目的地情報と、あらかじめ登録されたパッケージツアーに関するツアー情報とを取得する取得部と、前記出発地情報と、前記目的地情報と、前記ツアー情報とに基づいて、前記出発地が前記パッケージツアーの提供対象範囲に含まれているか否か、および、前記目的地が当該パッケージツアーの訪問予定地に含まれているか否かを判定し、判定結果に基づいて、前記移動体の利用者に対して提案するパッケージツアーを選択する選択部と、前記選択部によって選択されたパッケージツアーを前記移動体の利用者に対して提案する提案部と、を備える。
【0007】
請求項7に係る情報処理方法は、情報処理装置が実行する情報処理方法であって、移動体の出発地を示す出発地情報と、前記移動体の目的地を示す目的地情報と、あらかじめ登録されたパッケージツアーに関するツアー情報とを取得する取得工程と、前記出発地情報と、前記目的地情報と、前記ツアー情報とに基づいて、前記出発地が前記パッケージツアーの提供対象範囲に含まれているか否か、および、前記目的地が当該パッケージツアーの訪問予定地に含まれているか否かを判定し、判定結果に基づいて、前記移動体の利用者に対して提案するパッケージツアーを選択する選択工程と、前記選択工程によって選択されたパッケージツアーを前記移動体の利用者に対して提案する提案工程と、を含む。
【0008】
請求項8に係る情報処理プログラムは、情報処理装置が実行する情報処理プログラムであって、移動体の出発地を示す出発地情報と、前記移動体の目的地を示す目的地情報と、あらかじめ登録されたパッケージツアーに関するツアー情報とを取得する取得手順と、前記出発地情報と、前記目的地情報と、前記ツアー情報とに基づいて、前記出発地が前記パッケージツアーの提供対象範囲に含まれているか否か、および、前記目的地が当該パッケージツアーの訪問予定地に含まれているか否かを判定し、判定結果に基づいて、前記移動体の利用者に対して提案するパッケージツアーを選択する選択手順と、前記選択手順によって選択されたパッケージツアーを前記移動体の利用者に対して提案する提案手順と、を前記情報処理装置に実行させる。
【図面の簡単な説明】
【0009】
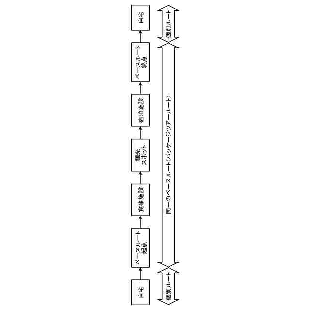
図1は、パッケージツアーについて説明するための図である。
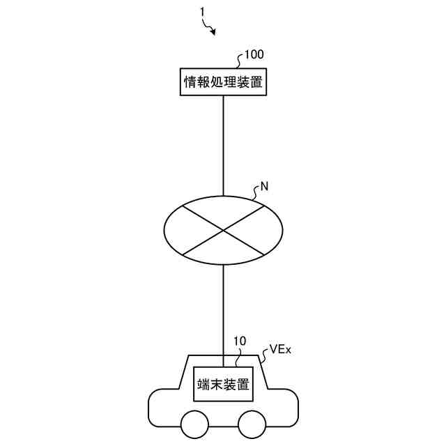
図2は、実施形態に係る情報処理システムの一例を示す図である。
図3は、実施形態に係る情報処理装置の構成例を示す図である。
図4は、実施形態に係るツアー情報記憶部の一例を示す図である。
図5は、実施形態に係る車両情報記憶部の一例を示す図である。
図6は、実施形態に係る情報処理の一例について説明するための図である。
図7は、実施形態に係る情報処理装置による情報処理の手順を示すフローチャートである。
図8は、変形例に係る情報処理の一例について説明するための図である。
図9は、変形例に係る情報処理装置による情報処理の手順を示すフローチャートである。
図10は、情報処理装置の機能を実現するコンピュータの一例を示すハードウェア構成図である。
【発明を実施するための形態】
【0010】
以下に、本願に係る情報処理装置、情報処理方法および情報処理プログラムを実施するための形態(以下、「実施形態」と呼ぶ)について図面を参照しつつ詳細に説明する。なお、この実施形態により本願に係る情報処理装置、情報処理方法および情報処理プログラムが限定されるものではない。また、以下の各実施形態において同一の部位には同一の符号を付し、重複する説明は省略される。
(【0011】以降は省略されています)
この特許をJ-PlatPat(特許庁公式サイト)で参照する
関連特許
パイオニア株式会社
光制御装置
23日前
パイオニア株式会社
センサ装置
1か月前
パイオニア株式会社
光制御装置
23日前
パイオニア株式会社
情報処理装置
1か月前
パイオニア株式会社
情報処理装置
1か月前
パイオニア株式会社
情報処理装置
1か月前
パイオニア株式会社
音声出力装置
1か月前
パイオニア株式会社
情報表示装置
11日前
パイオニア株式会社
情報処理装置
1か月前
パイオニア株式会社
情報出力装置
1か月前
パイオニア株式会社
効果音出力装置
1か月前
パイオニア株式会社
複合スピーカ装置
2日前
パイオニア株式会社
情報処理装置、端末装置
1か月前
パイオニア株式会社
認識装置、認識方法及び認識プログラム
19日前
パイオニア株式会社
制御装置、制御方法及び制御用プログラム
1か月前
パイオニア株式会社
撮影装置、制御方法、プログラム及び記憶媒体
1か月前
パイオニア株式会社
推定装置、システム、推定方法、およびプログラム
1か月前
パイオニア株式会社
決定装置、決定方法、決定プログラム及び記録媒体
1か月前
パイオニア株式会社
情報処理装置、制御方法、プログラム及び記憶媒体
1か月前
パイオニア株式会社
予測装置、予測方法、予測プログラム及び記憶媒体
1か月前
パイオニア株式会社
情報処理装置、制御方法、プログラム及び記憶媒体
1か月前
パイオニア株式会社
情報処理装置、判定方法、プログラム及び記憶媒体
9日前
パイオニア株式会社
表示装置、表示方法、プログラム、及び、記憶媒体
1か月前
パイオニア株式会社
情報処理装置、情報処理方法及び情報処理プログラム
1か月前
パイオニア株式会社
制御装置、制御方法、および、制御装置用プログラム
1か月前
パイオニア株式会社
通信制御端末、通信制御方法及び通信制御プログラム
1か月前
パイオニア株式会社
情報処理装置、情報出力方法、プログラム及び記憶媒体
1か月前
パイオニア株式会社
姿勢推定装置、姿勢推定方法、プログラム及び記憶媒体
2日前
パイオニア株式会社
情報記録装置、情報記録方法及び情報記録用プログラム
23日前
パイオニア株式会社
料金算出装置、料金算出方法及び料金算出用プログラム
1か月前
パイオニア株式会社
車載装置、情報処理方法、情報管理装置及び情報管理方法
9日前
パイオニア株式会社
音出力制御装置、音出力制御方法および音出力制御プログラム
1か月前
パイオニア株式会社
携帯端末装置、情報処理装置、連携システム及び表示制御方法
16日前
パイオニア株式会社
情報処理装置、情報処理方法、情報処理プログラム及び記録媒体
1か月前
パイオニア株式会社
視線誘導装置、視線誘導方法、視線誘導プログラム及び記憶媒体
2日前
パイオニア株式会社
情報処理装置、情報処理方法、情報処理プログラム、及び記憶媒体
1か月前
続きを見る
他の特許を見る