TOP
|
特許
|
意匠
|
商標
特許ウォッチ
Twitter
他の特許を見る
10個以上の画像は省略されています。
公開番号
2025153024
公報種別
公開特許公報(A)
公開日
2025-10-10
出願番号
2024055282
出願日
2024-03-29
発明の名称
情報処理装置、情報処理方法、および情報処理プログラム
出願人
パイオニア株式会社
代理人
個人
主分類
G01C
21/34 20060101AFI20251002BHJP(測定;試験)
要約
【課題】ドライブの態様に応じた効果的なドライブプランを提供すること。
【解決手段】サーバ装置10は、第1地点から第2地点に移動する経路を示すドライブプランを利用者に提供し、利用者の生活圏に含まれる第3地点と第1地点との距離に基づいて、第1地点から第2地点に移動する際の立ち寄り地を検索する検索範囲を設定する。
【選択図】図3
特許請求の範囲
【請求項1】
第1地点から第2地点に移動する経路を示すドライブプランを利用者に提供する情報処理装置であって、
前記利用者の生活圏に含まれる第3地点と前記第1地点との距離に基づいて、前記第1地点から前記第2地点に移動する際の立ち寄り地を検索する検索範囲を設定する設定部、
を備えることを特徴とする情報処理装置。
続きを表示(約 1,300 文字)
【請求項2】
前記設定部は、
前記第3地点と前記第1地点との距離が短いほど、前記第2地点に前記検索範囲の中心が近づくように前記検索範囲を設定する、
ことを特徴とする請求項1に記載の情報処理装置。
【請求項3】
前記設定部は、
前記第3地点と前記第1地点との距離が長いほど、前記第1地点と前記第2地点との中間地点に前記検索範囲の中心が近づくように前記検索範囲を設定する、
ことを特徴とする請求項1に記載の情報処理装置。
【請求項4】
前記設定部は、
前記第3地点と前記第1地点との距離が短いほど、前記経路上から離れる距離を短くするように前記検索範囲を設定する、
ことを特徴とする請求項1に記載の情報処理装置。
【請求項5】
前記設定部は、
前記第3地点と前記第1地点との距離が長いほど、前記経路上から離れる距離を長くするように前記検索範囲を設定する、
ことを特徴とする請求項1に記載の情報処理装置。
【請求項6】
前記設定部は、
前記利用者の現在位置から前記第2地点に到着するまでの予測された所要時間、および前記利用者が指定する前記第2地点への到着希望時刻を用いて算出された余裕時間に応じて、前記経路上から離れる距離を変更するように前記検索範囲を設定する、
ことを特徴とする請求項1に記載の情報処理装置。
【請求項7】
前記利用者が希望する立ち寄り地の特徴を示す検索ワードを受信する受信部と、
設定された前記検索範囲において、前記特徴を有する立ち寄り地を検索する検索部と、
前記特徴を有する2以上の立ち寄り地が検索された場合には、前記利用者に提案する1または2以上の立ち寄り地を選択し、選択した立ち寄り地を含む前記ドライブプランを生成する生成部と、
をさらに備えることを特徴とする請求項1に記載の情報処理装置。
【請求項8】
前記第1地点は、前記利用者が指定した出発地または立ち寄り地であって、前記第2地点は、前記利用者が指定した目的地であって、前記第3地点は、前記利用者の居住地である、
ことを特徴とする請求項1から7のいずれか1つに記載の情報処理装置。
【請求項9】
第1地点から第2地点に移動する経路を示すドライブプランを利用者に提供する情報処理装置によって実行される情報処理方法であって、
前記利用者が指定した第3地点と前記第1地点との距離に基づいて、前記第1地点から前記第2地点に移動する際の立ち寄り地を検索する検索範囲を設定する設定工程、
を含むことを特徴とする情報処理方法。
【請求項10】
第1地点から第2地点に移動する経路を示すドライブプランを利用者に提供する情報処理装置に実行させる情報処理プログラムであって、
前記利用者が指定した第3地点と前記第1地点との距離に基づいて、前記第1地点から前記第2地点に移動する際の立ち寄り地を検索する検索範囲を設定する設定手順、
を情報処理装置に実行させることを特徴とする情報処理プログラム。
発明の詳細な説明
【技術分野】
【0001】
本発明は、情報処理装置、情報処理方法、および情報処理プログラムに関する。
続きを表示(約 2,900 文字)
【背景技術】
【0002】
従来、車両を運転する運転者(適宜、「利用者」)に対して、入力された出発地および目的地の経路案内を含むドライブプランを提供する技術が知られている。また、運転者に提供するドライブプランにおいて、ドライブプランの経路からの一定領域または目的地との中間地点を基準とした検索範囲内の立ち寄り地を検索する技術も知られている(例えば、特許文献1)。
【先行技術文献】
【特許文献】
【0003】
特開2014-238290号公報
【発明の概要】
【発明が解決しようとする課題】
【0004】
しかしながら、上記の従来技術では、ドライブプランを提供する際に改善の余地がある。例えば、上記の従来技術では、ドライブの態様によっては、遠出のドライブにおいて自宅付近の施設が提案されてしまう等の、運転者にとって希望の度合が低い立ち寄り地が提案されてしまう場合がある。
【0005】
本発明は、上記に鑑みてなされたものであって、ドライブの態様に応じた効果的なドライブプランを提供することができる情報処理装置、情報処理方法、および情報処理プログラムを提供することを目的とする。
【課題を解決するための手段】
【0006】
上述した課題を解決し、目的を達成するために、本発明に係る情報処理装置は、第1地点から第2地点に移動する経路を示すドライブプランを利用者に提供する情報処理装置であって、前記利用者の生活圏に含まれる第3地点と前記第1地点との距離に基づいて、前記第1地点から前記第2地点に移動する際の立ち寄り地を検索する検索範囲を設定する設定部、を備えることを特徴とする。
【0007】
また、本発明に係る情報処理方法は、第1地点から第2地点に移動する経路を示すドライブプランを利用者に提供する情報処理装置によって実行される情報処理方法であって、前記利用者の生活圏に含まれる第3地点と前記第1地点との距離に基づいて、前記第1地点から前記第2地点に移動する際の立ち寄り地を検索する検索範囲を設定する設定工程、を含むことを特徴とする。
【0008】
また、本発明に係る情報処理プログラムは、第1地点から第2地点に移動する経路を示すドライブプランを利用者に提供する情報処理装置に実行させる情報処理プログラムであって、前記利用者の生活圏に含まれる第3地点と前記第1地点との距離に基づいて、前記第1地点から前記第2地点に移動する際の立ち寄り地を検索する検索範囲を設定する設定手順、を情報処理装置に実行させることを特徴とする。
【図面の簡単な説明】
【0009】
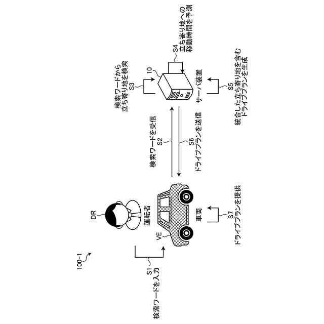
図1は、実施形態1に係るドライブプラン提供システムの構成例および処理例を示す図である。
図2は、実施形態1に係るドライブプラン提供システムの構成例を示すブロック図である。
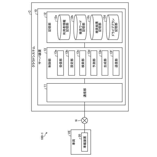
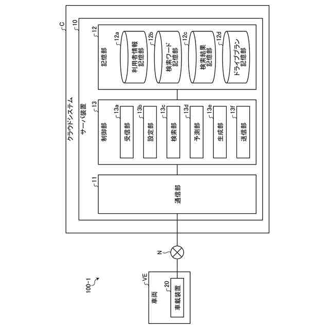
図3は、実施形態1に係るドライブプラン提供システムの各装置の構成例を示すブロック図である。
図4は、実施形態1に係るサーバ装置の利用者情報記憶部の一例を示す図である。
図5は、実施形態1に係るサーバ装置の検索ワード記憶部の一例を示す図である。
図6は、実施形態1に係るサーバ装置の検索結果記憶部の一例を示す図である。
図7は、実施形態1に係るサーバ装置のドライブプラン記憶部の一例を示す図である。
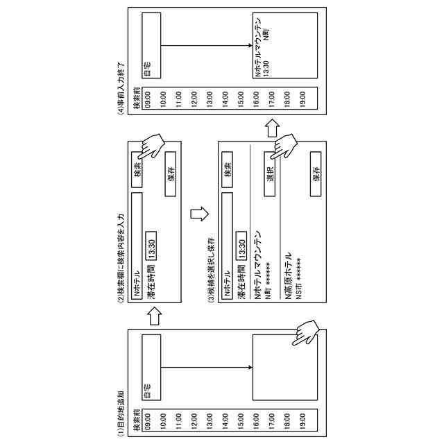
図8は、実施形態1に係るドライブプラン提供システムの各処理の具体例1を示す図である。
図9は、実施形態1に係るドライブプラン提供システムの各処理の具体例2を示す図である。
図10は、実施形態1に係るドライブプラン提供システムの各処理の具体例3を示す図である。
図11は、実施形態1に係るドライブプラン提供システムの各処理の具体例4を示す図である。
図12は、実施形態1に係るドライブプラン提供システムの各処理の具体例5を示す図である。
図13は、実施形態1に係るドライブプラン提供システムの各処理の具体例6を示す図である。
図14は、実施形態1に係るドライブプラン提供システムの各処理の具体例7を示す図である。
図15は、実施形態1に係るドライブプラン提供システムの各処理の具体例8を示す図である。
図16は、実施形態1に係るドライブプラン提供システムの各処理の具体例9を示す図である。
図17は、実施形態1に係るドライブプラン提供システムの処理の流れの一例を示すフローチャートである。
図18は、実施形態2に係るドライブプラン提供システムの構成例および処理例を示す図である。
図19は、実施形態2に係るドライブプラン提供システムの各処理の具体例1を示す図である。
図20は、実施形態2に係るドライブプラン提供システムの各処理の具体例2を示す図である。
図21は、実施形態2に係るドライブプラン提供システムの各処理の具体例3を示す図である。
図22は、実施形態2に係るドライブプラン提供システムの各処理の具体例4を示す図である。
図23は、実施形態2に係るドライブプラン提供システムの各処理の具体例5を示す図である。
図24は、実施形態2に係るドライブプラン提供システムの各処理の具体例6を示す図である。
図25は、実施形態2に係るドライブプラン提供システムの各処理の具体例7を示す図である。
図26は、実施形態2に係るドライブプラン提供システムの各処理の具体例8を示す図である。
図27は、実施形態2に係るドライブプラン提供システムの各処理の具体例9を示す図である。
図28は、実施形態2に係るドライブプラン提供システムの各処理の具体例10を示す図である。
図29は、実施形態2に係るドライブプラン提供システムの各処理の具体例11を示す図である。
図30は、実施形態2に係るドライブプラン提供システムの各処理の具体例12を示す図である。
図31は、実施形態2に係るドライブプラン提供システムの各処理の具体例13を示す図である。
図32は、実施形態2に係るドライブプラン提供システムの処理の流れの一例を示すフローチャートである。
図33は、実施形態1および実施形態2のサーバ装置の機能を実現するコンピュータの一例を示すハードウェア構成図である。
【発明を実施するための形態】
【0010】
以下に、本発明に係る情報処理装置、情報処理方法、および情報処理プログラムの実施形態1および実施形態2を図面に基づいて詳細に説明する。なお、本発明は、以下に説明する実施形態1および実施形態2により限定されるものではない。
(【0011】以降は省略されています)
この特許をJ-PlatPat(特許庁公式サイト)で参照する
関連特許
パイオニア株式会社
情報処理装置、情報処理方法及びプログラム
5日前
パイオニア株式会社
車両監視装置、車両監視方法、及びプログラム
11日前
パイオニア株式会社
情報処理装置、情報処理方法、及びプログラム
5日前
パイオニア株式会社
情報処理装置、制御方法、プログラム及び記憶媒体
4日前
パイオニア株式会社
情報処理装置、制御方法、プログラム及び記憶媒体
4日前
パイオニア株式会社
情報処理装置、情報処理方法および情報処理プログラム
4日前
パイオニア株式会社
情報処理装置、情報処理方法および情報処理プログラム
4日前
パイオニア株式会社
情報処理装置、情報処理方法および情報処理プログラム
4日前
パイオニア株式会社
情報処理装置、情報処理方法および情報処理プログラム
4日前
パイオニア株式会社
情報処理装置、情報処理方法および情報処理プログラム
4日前
パイオニア株式会社
情報処理装置、情報処理方法および情報処理プログラム
4日前
パイオニア株式会社
情報処理装置、情報処理方法および情報処理プログラム
4日前
パイオニア株式会社
入力装置
11日前
パイオニア株式会社
情報処理装置、情報処理方法、および情報処理プログラム
4日前
パイオニア株式会社
情報処理システム、情報処理方法、プログラム及び記録媒体
5日前
パイオニア株式会社
センサ装置
今日
パイオニア株式会社
表示制御装置
15日前
パイオニア株式会社
表示制御装置
今日
パイオニア株式会社
ナビゲーション装置
今日
パイオニア株式会社
車載装置、制御方法及びプログラム
15日前
パイオニア株式会社
表示装置および表示装置の駆動方法
今日
パイオニア株式会社
通報装置、通報方法、及びプログラム
7日前
パイオニア株式会社
案内情報生成装置及び案内情報生成方法
今日
パイオニア株式会社
情報処理装置、方法、プログラム及び記憶媒体
11日前
パイオニア株式会社
情報処理装置、方法、プログラム及び記憶媒体
14日前
パイオニア株式会社
情報送信装置、方法、プログラム及び記憶媒体
11日前
パイオニア株式会社
予測装置、予測方法、予測プログラム及び記憶媒体
今日
パイオニア株式会社
端末装置、情報処理方法及び端末装置用プログラム
11日前
パイオニア株式会社
情報処理装置、制御方法、プログラム及び記憶媒体
11日前
パイオニア株式会社
認識判定装置、認識判定方法及び認識判定プログラム
今日
パイオニア株式会社
サーバ装置及び情報処理方法並びにサーバプログラム
15日前
パイオニア株式会社
情報処理装置、情報出力方法、プログラム及び記憶媒体
今日
パイオニア株式会社
通信システム、通信装置、サーバ装置、通信方法、通信プログラム及び記憶媒体
今日
個人
メジャー文具
7日前
個人
アクセサリー型テスター
今日
日本精機株式会社
位置検出装置
13日前
続きを見る
他の特許を見る