TOP
|
特許
|
意匠
|
商標
特許ウォッチ
Twitter
他の特許を見る
10個以上の画像は省略されています。
公開番号
2025147048
公報種別
公開特許公報(A)
公開日
2025-10-03
出願番号
2025130461,2024087684
出願日
2025-08-05,2016-07-29
発明の名称
情報処理装置、制御方法、プログラム及び記憶媒体
出願人
パイオニア株式会社
代理人
個人
主分類
G08G
1/00 20060101AFI20250926BHJP(信号)
要約
【課題】道路に冠水等が発生している場合に、当該冠水等の程度を好適に把握することが可能な情報処理装置を提供する。
【解決手段】ナビゲーション装置1のシステムコントローラ20は、カメラ2が出力するカメラ画像Icに基づき、道路上において冠水している水面領域Awと当該水面領域Aw以外の道路上の道路領域Arとの代表境界位置Prを検出する。そして、システムコントローラ20は、代表境界位置Prの緯度及び経度に基づいて、地図データ32の道路形状データに含まれる標高情報を参照することで、水深Dwcを算出する。
【選択図】図3
特許請求の範囲
【請求項1】
撮像装置又はセンサの出力結果に基づき、道路上において冠水又は積雪している第1範囲と当該第1範囲と異なる第2範囲との境界位置を検出する検出手段と、
前記境界位置に基づいて、前記第1範囲における冠水又は積雪の深さを取得する取得手段と、
を備える情報処理装置。
発明の詳細な説明
【技術分野】
【0001】
本発明は、道路の状態を好適に把握するための技術に関する。
続きを表示(約 1,500 文字)
【背景技術】
【0002】
従来から、車両に設置されたカメラが出力する画像に基づき、道路の状態を認識する技術が知られている。例えば、特許文献1には、可視光のカメラ画像による画像処理により、路面状態を検出する技術が開示されている。
【先行技術文献】
【特許文献】
【0003】
特開2002-157676号公報
【発明の概要】
【発明が解決しようとする課題】
【0004】
道路形状によっては、大雨により一部が冠水して通行が制限される場合がある。特許文献1の技術によれば、走行する道路が濡れているか否かを検知することが可能である一方で、上述のような冠水を検知する点については何ら開示されていない。
【0005】
本発明は、上記のような課題を解決するためになされたものであり、道路に冠水等が発生している場合に、当該冠水等の程度を好適に把握することが可能な情報処理装置を提供することを主な目的とする。
【課題を解決するための手段】
【0006】
請求項1に記載の発明は、情報処理装置であって、撮像装置又はセンサの出力結果に基づき、道路上において冠水又は積雪している第1範囲と当該第1範囲と異なる第2範囲との境界位置を検出する検出手段と、前記境界位置に基づいて、前記第1範囲における冠水又は積雪の深さを取得する取得手段と、を備えることを特徴とする。
【0007】
請求項8に記載の発明は、情報処理装置が実行する制御方法であって、撮像装置又はセンサの出力結果に基づき、道路上において冠水又は積雪している第1範囲と当該第1範囲と異なる第2範囲との境界位置を検出する検出工程と、前記境界位置に基づいて、前記第1範囲における冠水又は積雪の深さを取得する取得工程と、を備えることを特徴とする。
【0008】
請求項9に記載の発明は、コンピュータが実行するプログラムであって、撮像装置又はセンサの出力結果に基づき、道路上において冠水又は積雪している第1範囲と当該第1範囲と異なる第2範囲との境界位置を検出する検出手段と、前記境界位置に基づいて、前記第1範囲における冠水又は積雪の深さを取得する取得手段として前記コンピュータを機能させることを特徴とする。
【図面の簡単な説明】
【0009】
実施例に係る冠水警告システムの概略構成である。
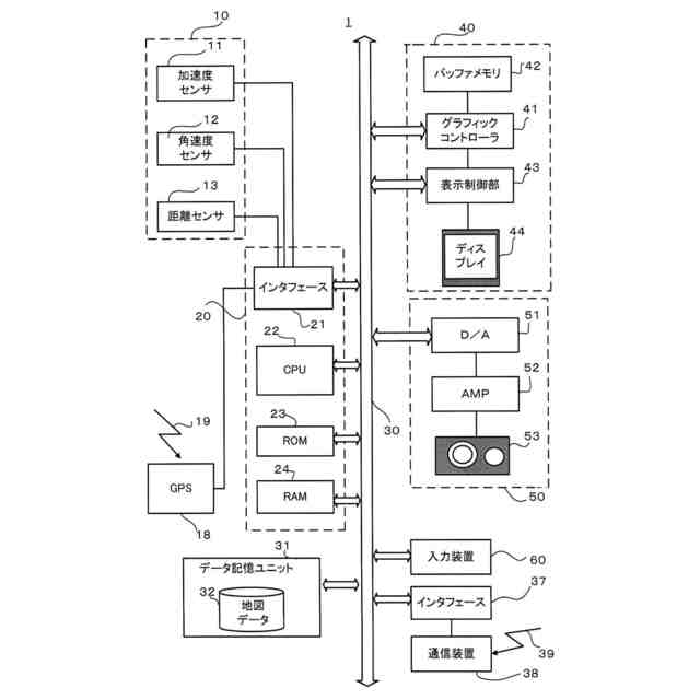
ナビゲーション装置の概略構成を示す。
冠水警告処理の概要を示すフローチャートである。
境界検出処理の手順を示すフローチャートである。
道路領域及び水面領域が検出されたカメラ画像を示す。
水深算出処理の手順を示すフローチャートである。
道路形状データに基づくデータ点を明示した冠水部の断面図を示す。
冠水部を検出した場合のディスプレイの第1表示例を示す。
冠水部を検出した場合のディスプレイの第2表示例を示す。
冠水部を検出した場合のディスプレイの第3表示例を示す。
冠水部を検出した場合のディスプレイの第4表示例を示す。
変形例に係る冠水警告システムの概略構成である。
【発明を実施するための形態】
【0010】
本発明の好適な実施形態によれば、情報処理装置は、撮像装置又はセンサの出力結果に基づき、道路上において冠水又は積雪している第1範囲と当該第1範囲と異なる第2範囲との境界位置を検出する検出手段と、前記境界位置に基づいて、前記第1範囲における冠水又は積雪の深さを取得する取得手段と、を備えることを特徴とする。
(【0011】以降は省略されています)
この特許をJ-PlatPat(特許庁公式サイト)で参照する
関連特許
パイオニア株式会社
通信装置
10日前
パイオニア株式会社
通信装置
10日前
パイオニア株式会社
情報処理装置
7日前
パイオニア株式会社
情報処理装置
7日前
パイオニア株式会社
情報処理装置
7日前
パイオニア株式会社
情報処理装置
7日前
パイオニア株式会社
情報処理装置
7日前
パイオニア株式会社
情報処理装置
7日前
パイオニア株式会社
情報処理装置
7日前
パイオニア株式会社
情報処理装置
7日前
パイオニア株式会社
ルームミラー装置
7日前
パイオニア株式会社
ルームミラー装置
7日前
パイオニア株式会社
通信装置、ヘルメット
10日前
パイオニア株式会社
検索装置、検索方法、及びプログラム
7日前
パイオニア株式会社
制御装置、制御方法、及びプログラム
7日前
パイオニア株式会社
情報処理装置、情報処理方法、及びプログラム
7日前
パイオニア株式会社
情報処理装置、情報処理方法、及びプログラム
7日前
パイオニア株式会社
車両監視装置、車両監視方法、及びプログラム
7日前
パイオニア株式会社
車両監視装置、車両監視方法、及びプログラム
3日前
パイオニア株式会社
情報処理装置、情報処理方法、プログラム及び記憶媒体
10日前
パイオニア株式会社
情報処理装置、情報処理方法、プログラム及び記憶媒体
10日前
パイオニア株式会社
経路探索装置、経路探索方法、プログラム及び記憶媒体
7日前
パイオニア株式会社
経路探索装置、経路探索方法、プログラム及び記憶媒体
7日前
パイオニア株式会社
情報処理装置、情報処理方法、プログラム及び記憶媒体
10日前
パイオニア株式会社
情報処理装置、情報処理方法、プログラム及び記憶媒体
10日前
パイオニア株式会社
情報処理装置、情報処理方法、プログラム及び記憶媒体
10日前
パイオニア株式会社
経路探索装置、経路探索方法、プログラム及び記憶媒体
7日前
パイオニア株式会社
取付機構
1か月前
パイオニア株式会社
判定装置
27日前
パイオニア株式会社
入力装置
3日前
パイオニア株式会社
判定装置
1か月前
パイオニア株式会社
制御装置
1か月前
パイオニア株式会社
ライダ装置
25日前
パイオニア株式会社
サーバ装置
1か月前
パイオニア株式会社
情報表示装置
1か月前
パイオニア株式会社
情報処理装置
1か月前
続きを見る
他の特許を見る