TOP
|
特許
|
意匠
|
商標
特許ウォッチ
Twitter
他の特許を見る
10個以上の画像は省略されています。
公開番号
2025139923
公報種別
公開特許公報(A)
公開日
2025-09-29
出願番号
2024039014
出願日
2024-03-13
発明の名称
経路探索装置、経路探索方法、プログラム及び記憶媒体
出願人
パイオニア株式会社
代理人
個人
主分類
G01C
21/34 20060101AFI20250919BHJP(測定;試験)
要約
【課題】有料道路の駐車施設での駐車料金を反映したコストを算出して推奨経路を好適に決定する。
【解決手段】経路探索装置において、前記取得手段は、出発地及び目的地を取得する。なお、前記取得手段は、ユーザにより入力された現在地を取得しても良く、車両の現在位置を出発地として取得してもよい。前記コスト計算手段は、出発地から目的地に至る複数の経路について、目的地までの所要時間又は距離、有料道路の通行料金、及び有料道路における駐車施設の駐車料金のそれぞれについてのコストを含む総コストを計算する。そして、前記出力手段は、総コストが最も小さい経路を含む1又は複数の経路を、推奨経路として出力する。
【選択図】図5
特許請求の範囲
【請求項1】
出発地及び目的地を取得する取得手段と、
前記出発地から前記目的地に至る複数の経路について、前記目的地までの所要時間又は距離、有料道路の通行料金、及び有料道路における駐車施設の駐車料金のそれぞれについてのコストを含む総コストを計算するコスト計算手段と、
前記総コストが最も小さい経路を含む1又は複数の経路を、推奨経路として出力する出力手段と、
を備える経路探索装置。
続きを表示(約 780 文字)
【請求項2】
前記総コストは、前記経路を走行する車両の燃料費又は電費についてのコストをさらに含む請求項1に記載の経路探索装置。
【請求項3】
前記コスト計算手段は、1つの経路に複数の駐車施設がある場合、各駐車施設を選択的に利用した場合の複数の総コストを計算する請求項1に記載の経路探索装置。
【請求項4】
前記出力手段は、前記推奨経路に加えて、前記所要時間又は距離、前記通行料金、及び前記駐車料金のそれぞれが最小となる経路を出力する請求項1に記載の経路探索装置。
【請求項5】
前記出力手段は、前記推奨経路に加えて、前記駐車料金が無料となる経路を出力する請求項1に記載の経路探索装置。
【請求項6】
前記出力手段は、前記推奨経路に対応する通行料金及び駐車料金の合計を計算し、前記推奨経路に関する総費用として出力する請求項1に記載の経路探索装置。
【請求項7】
前記出力手段は、前記駐車施設での滞在時間が異なる複数のケースについて前記総費用を計算し、各ケースについて前記総費用を出力する請求項6に記載の経路探索装置。
【請求項8】
前記出力手段は、前記駐車施設での滞在時間が異なる複数のケースについて前記総費用を計算し、前記総費用が最小となる滞在時間を出力する請求項6に記載の経路探索装置。
【請求項9】
前記出力手段は、前記駐車施設での滞在時間が異なる複数のケースについて前記総費用を計算し、前記総費用が所定の許容費用以下となる最大の滞在時間を出力する請求項6に記載の経路探索装置。
【請求項10】
前記有料道路の通行料金は、ETC割引後の料金である請求項1に記載の経路探索装置。
(【請求項11】以降は省略されています)
発明の詳細な説明
【技術分野】
【0001】
本発明は、経路を探索する技術に関する。
続きを表示(約 1,800 文字)
【背景技術】
【0002】
従来から、目的地までのルート探索において、高速道路の距離単価に比例したコストを各リンクに付与し、ダイクストラ法により有料道路の料金と所要時間を考慮したルート探索を行う技術が知られている。例えば、特許文献1には、通行料金と所要時間を含む複合コストで経路を探索することにより、料金と時間のバランスを勘案した推奨経路を出力するナビゲーション装置が開示されている。
【先行技術文献】
【特許文献】
【0003】
特開2011-7706号公報
【発明の概要】
【発明が解決しようとする課題】
【0004】
高速道路や自動車専用道路など(以下、「有料道路」とも呼ぶ。)のサービスエリア(SA)やパーキングエリア(PA)などの施設において駐車料金を課金することが検討されている。この場合、有料道路の通行料金に加えて、有料道路の駐車施設での駐車料金を考慮して目的地までの経路を検討する必要がでてくる。
【0005】
本発明は、上記のような課題を解決するためになされたものであり、有料道路の駐車施設での駐車料金を反映したコストを算出して推奨経路を好適に決定することが可能な経路探索装置を提供することを主な目的とする。
【課題を解決するための手段】
【0006】
請求項に記載の発明は、経路探索装置であって、出発地及び目的地を取得する取得手段と、前記出発地から前記目的地に至る複数の経路について、前記目的地までの所要時間又は距離、有料道路の通行料金、及び有料道路における駐車施設の駐車料金のそれぞれについてのコストを含む総コストを計算するコスト計算手段と、前記総コストが最も小さい経路を含む1又は複数の経路を、推奨経路として出力する出力手段と、を備える。
【0007】
また、請求項に記載の発明は、コンピュータにより実行される経路探索方法であって、出発地及び目的地を取得し、前記出発地から前記目的地に至る複数の経路について、前記目的地までの所要時間又は距離、有料道路の通行料金、及び有料道路における駐車施設の駐車料金のそれぞれについてのコストを含む総コストを計算し、前記総コストが最も小さい経路を含む1又は複数の経路を、推奨経路として出力する。
【0008】
また、請求項に記載の発明は、プログラムであって、出発地及び目的地を取得し、前記出発地から前記目的地に至る複数の経路について、前記目的地までの所要時間又は距離、有料道路の通行料金、及び有料道路における駐車施設の駐車料金のそれぞれについてのコストを含む総コストを計算し、前記総コストが最も小さい経路を含む1又は複数の経路を、推奨経路として出力する処理をコンピュータに実行させる。
【図面の簡単な説明】
【0009】
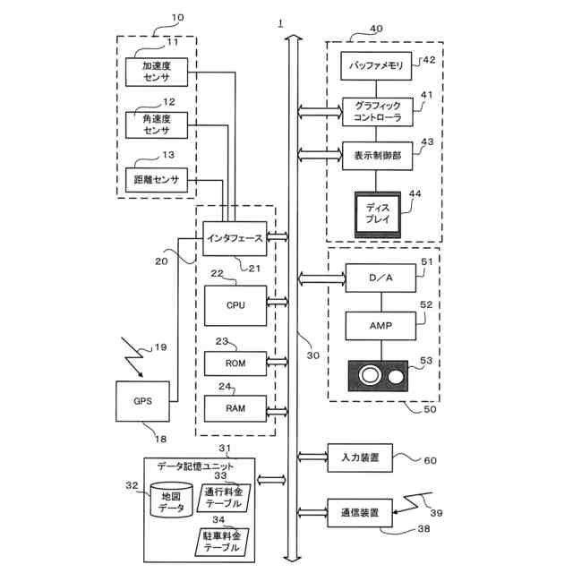
各実施例に係るナビゲーション装置の概略構成を示すブロック図である。
通行料金テーブルのデータ構造の一例を示す。
駐車料金テーブルのデータ構造の一例を示す。
近似解ルート及び近似解ルート上の高速施設を示した図である。
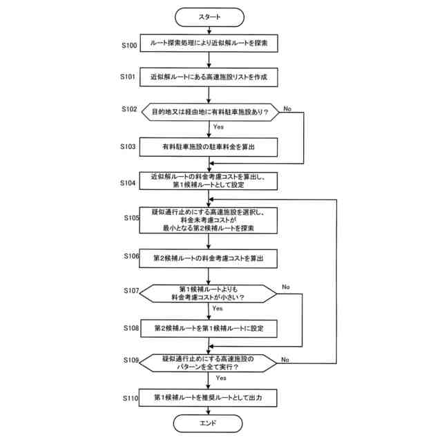
第1実施例に係る推奨ルート出力処理のフローチャートである。
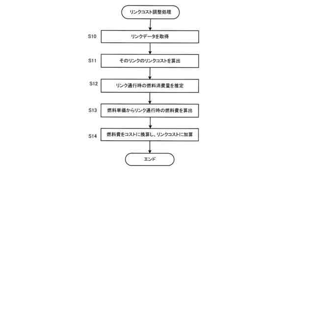
図6は、燃料費をリンクコストに加える処理のフローチャートである。
推奨ルート提案処理により得られる推奨ルートの例を説明する図である。
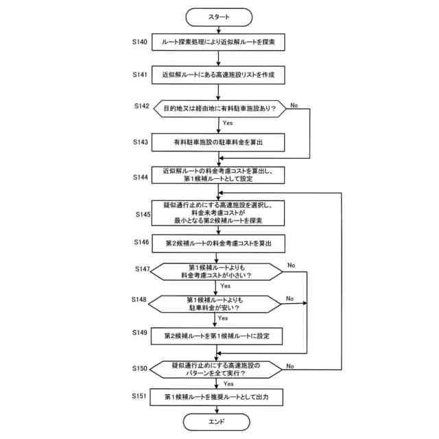
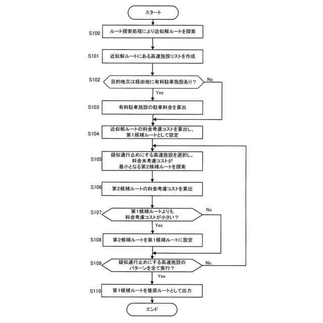
第2実施例の第1例による推奨ルート提案処理のフローチャートである。
第2実施例の第2例による推奨ルート提案処理のフローチャートである。
他のシステム構成に係るルート探索システムの構成を示す。
【発明を実施するための形態】
【0010】
本発明の好適な実施形態では、経路探索装置は、出発地及び目的地を取得する取得手段と、前記出発地から前記目的地に至る複数の経路について、前記目的地までの所要時間又は距離、有料道路の通行料金、及び有料道路における駐車施設の駐車料金のそれぞれについてのコストを含む総コストを計算するコスト計算手段と、前記総コストが最も小さい経路を含む1又は複数の経路を、推奨経路として出力する出力手段と、を備える。
(【0011】以降は省略されています)
この特許をJ-PlatPat(特許庁公式サイト)で参照する
関連特許
パイオニア株式会社
通信装置
6日前
パイオニア株式会社
通信装置
6日前
パイオニア株式会社
情報処理装置
3日前
パイオニア株式会社
情報処理装置
3日前
パイオニア株式会社
情報処理装置
3日前
パイオニア株式会社
情報処理装置
3日前
パイオニア株式会社
情報処理装置
3日前
パイオニア株式会社
情報処理装置
3日前
パイオニア株式会社
情報処理装置
3日前
パイオニア株式会社
情報処理装置
3日前
パイオニア株式会社
ルームミラー装置
3日前
パイオニア株式会社
ルームミラー装置
3日前
パイオニア株式会社
通信装置、ヘルメット
6日前
パイオニア株式会社
検索装置、検索方法、及びプログラム
3日前
パイオニア株式会社
制御装置、制御方法、及びプログラム
3日前
パイオニア株式会社
情報処理装置、情報処理方法、及びプログラム
3日前
パイオニア株式会社
情報処理装置、情報処理方法、及びプログラム
3日前
パイオニア株式会社
車両監視装置、車両監視方法、及びプログラム
3日前
パイオニア株式会社
情報処理装置、情報処理方法、プログラム及び記憶媒体
6日前
パイオニア株式会社
情報処理装置、情報処理方法、プログラム及び記憶媒体
6日前
パイオニア株式会社
情報処理装置、情報処理方法、プログラム及び記憶媒体
6日前
パイオニア株式会社
情報処理装置、情報処理方法、プログラム及び記憶媒体
6日前
パイオニア株式会社
情報処理装置、情報処理方法、プログラム及び記憶媒体
6日前
パイオニア株式会社
経路探索装置、経路探索方法、プログラム及び記憶媒体
3日前
パイオニア株式会社
経路探索装置、経路探索方法、プログラム及び記憶媒体
3日前
パイオニア株式会社
経路探索装置、経路探索方法、プログラム及び記憶媒体
3日前
パイオニア株式会社
取付機構
1か月前
パイオニア株式会社
判定装置
23日前
パイオニア株式会社
ライダ装置
21日前
パイオニア株式会社
サーバ装置
28日前
パイオニア株式会社
情報処理装置
23日前
パイオニア株式会社
表示制御装置
21日前
パイオニア株式会社
情報処理装置
28日前
パイオニア株式会社
状況出力装置
1か月前
パイオニア株式会社
表示制御装置
3日前
パイオニア株式会社
情報処理装置、情報処理方法、情報処理プログラム及び記憶媒体
3日前
続きを見る
他の特許を見る