TOP
|
特許
|
意匠
|
商標
特許ウォッチ
Twitter
他の特許を見る
公開番号
2025140656
公報種別
公開特許公報(A)
公開日
2025-09-29
出願番号
2024040186
出願日
2024-03-14
発明の名称
車両監視装置、車両監視方法、及びプログラム
出願人
パイオニア株式会社
代理人
個人
,
個人
主分類
G01V
3/12 20060101AFI20250919BHJP(測定;試験)
要約
【課題】電磁波を用いて動体を検出するセンサの検出結果を用いて、車両に近づいてくる動体の状態を精度よく推定する。
【解決手段】
車両監視装置10は、取得部110、事前処理部120、及び生成部130を備えている。取得部110は、電磁波を照射して当該電磁波の反射波を検出することにより動体を検出する動体センサが生成したデータであって、車両の周囲の動体の少なくとも位置を示す検出データを取得する。事前処理部120は、検出データを処理することにより、入力データを生成する。生成部130は、入力データを処理することにより、動体のステータスを示すステータス情報を生成する。事前処理部120は、ステータス情報が基準を満たした場合に、入力データに対して加工処理を行うことにより、加工処理後の入力データに対応するステータス情報が動体以外の物体を検出していることを示すようにする。
【選択図】図2
特許請求の範囲
【請求項1】
電磁波を照射して当該電磁波の反射波を検出することにより動体を検出する動体センサが生成したデータであって、車両の周囲の動体の少なくとも位置を示す検出データを取得する取得部と、
前記検出データを処理することにより、入力データを生成する事前処理部と、
前記入力データを処理することにより、動体のステータスを示すステータス情報を生成する生成部と、
を備え、
前記事前処理部は、前記ステータス情報が基準を満たした場合に、前記入力データに対して加工処理を行うことにより、加工処理後の前記入力データに対応する前記ステータス情報が動体以外の物体を検出していることを示すようにする、車両監視装置。
続きを表示(約 1,200 文字)
【請求項2】
請求項1に記載の車両監視装置において、
前記検出データは、前記動体と前記車両の間隔に関する指標、及び前記反射波の受信強度を含んでおり、
前記基準は、前記指標及び前記受信強度に基づいた値に関している、車両監視装置。
【請求項3】
請求項1又は2に記載の車両監視装置において、
前記生成部は、
機械学習モデルを用いて前記入力データを処理することにより、前記動体のステータスを示す第1ステータス情報を生成する第1生成部と、
対象タイミングで生成された前記第1ステータス情報、並びに当該対象タイミングより前及び後の少なくとも一方で生成された前記第1ステータス情報を用いて、出力すべき前記対象タイミングのステータスを示す第2ステータス情報を生成する第2生成部と、
を備え、
前記事前処理部が用いる前記ステータス情報は第2ステータス情報である、車両監視装置。
【請求項4】
請求項3に記載の車両監視装置において、
前記事前処理部は、対象タイミングを含む1秒以上5秒以下の前記検出データを処理することにより、当該対象タイミングにおける前記第1ステータス情報を繰り返し生成し、
前記対象タイミングの間隔は100ミリ秒以上2秒以下である、車両監視装置。
【請求項5】
請求項1又は2に記載の車両監視装置において、
前記入力データは画像である、車両監視装置。
【請求項6】
コンピュータが、
電磁波を照射して当該電磁波の反射波を検出することにより動体を検出する動体センサが生成したデータであって、車両の周囲の動体の少なくとも位置を示す検出データを取得し、
前記検出データを処理することにより、入力データを生成し、
前記入力データを処理することにより、動体のステータスを示すステータス情報を生成し、
前記ステータス情報が基準を満たした場合に、前記入力データに対して加工処理を行うことにより、加工処理後の前記入力データに対応する前記ステータス情報が動体以外の物体を検出していることを示すようにする、車両監視方法。
【請求項7】
コンピュータに、
電磁波を照射して当該電磁波の反射波を検出することにより動体を検出する動体センサが生成したデータであって、車両の周囲の動体の少なくとも位置を示す検出データを取得する取得部と、
前記検出データを処理することにより、入力データを生成する事前処理部と、
前記入力データを処理することにより、動体のステータスを示すステータス情報を生成する生成部と、
を持たせ、
前記事前処理部は、前記ステータス情報が基準を満たした場合に、前記入力データに対して加工処理を行うことにより、加工処理後の前記入力データに対応する前記ステータス情報が動体以外の物体を検出していることを示すようにする、プログラム。
発明の詳細な説明
【技術分野】
【0001】
本発明は、車両監視装置、車両監視方法、及びプログラムに関する。
続きを表示(約 2,000 文字)
【背景技術】
【0002】
近年は、画像を用いて動体の状態を検出することが行われている。例えば特許文献1には、以下の処理を行う装置が記載されている。この装置は、入力画像におけるエリアの一つたる注目エリアにおいて、第1期間にわたって動体が検出されたときに、当該注目エリアのエリア状態を不在状態から進入状態へと遷移させる。そしてこの装置は、進入状態において第2期間にわたって当該注目エリアに動体が検出されたときに、当該注目エリアのエリア状態を滞在状態へと遷移させる。さらにこの装置は、滞在状態において第3期間にわたって当該注目エリアに動体が検出されないときに、当該注目エリアのエリア状態を退去状態へと遷移させる。そしてこの装置は、退去状態において第4期間にわたって当該注目エリアに動体が検出されないときに、当該注目エリアのエリア状態を不在状態へと遷移させる。
【先行技術文献】
【特許文献】
【0003】
特開2015-184233号公報
【発明の概要】
【発明が解決しようとする課題】
【0004】
車両に、電磁波を用いて動体を検出するセンサが搭載されることがある。本発明の目的の一例は、このセンサの検出結果を用いて、車両に近づいてくる動体の状態を精度よく推定することにある。
【課題を解決するための手段】
【0005】
請求項1に記載の発明は、電磁波を照射して当該電磁波の反射波を検出することにより動体を検出する動体センサが生成したデータであって、車両の周囲の動体の少なくとも位置を示す検出データを取得する取得部と、
前記検出データを処理することにより、入力データを生成する事前処理部と、
前記入力データを処理することにより、動体のステータスを示すステータス情報を生成する生成部と、
を備え、
前記事前処理部は、前記ステータス情報が基準を満たした場合に、前記入力データに対して加工処理を行うことにより、加工処理後の前記入力データに対応する前記ステータス情報が動体以外の物体を検出していることを示すようにする、車両監視装置である。
【0006】
請求項6に記載の発明は、コンピュータが、
電磁波を照射して当該電磁波の反射波を検出することにより動体を検出する動体センサが生成したデータであって、車両の周囲の動体の少なくとも位置を示す検出データを取得し、
前記検出データを処理することにより、入力データを生成し、
前記入力データを処理することにより、動体のステータスを示すステータス情報を生成し、
前記ステータス情報が基準を満たした場合に、前記入力データに対して加工処理を行うことにより、加工処理後の前記入力データに対応する前記ステータス情報が動体以外の物体を検出していることを示すようにする、車両監視方法である。
【0007】
請求項7に記載の発明は、コンピュータに、
電磁波を照射して当該電磁波の反射波を検出することにより動体を検出する動体センサが生成したデータであって、車両の周囲の動体の少なくとも位置を示す検出データを取得する取得部と、
前記検出データを処理することにより、入力データを生成する事前処理部と、
前記入力データを処理することにより、動体のステータスを示すステータス情報を生成する生成部と、
を持たせ、
前記事前処理部は、前記ステータス情報が基準を満たした場合に、前記入力データに対して加工処理を行うことにより、加工処理後の前記入力データに対応する前記ステータス情報が動体以外の物体を検出していることを示すようにする、プログラムである。
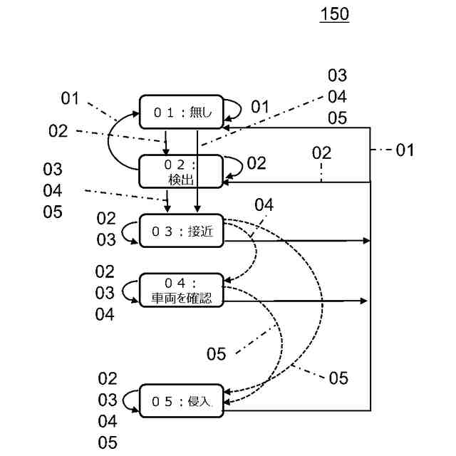
【図面の簡単な説明】
【0008】
実施形態に係る車両監視装置の使用環境を説明する図である。
車両監視装置の機能構成の一例を示す図である。
事前処理部が行う処理の一例を説明する図である。
第1生成部が行う処理の一例を説明する図である。
第2生成部が行う処理の一例を説明する図である。
車両監視装置のハードウェア構成例を示す図である。
車両監視装置が行う処理の一例を示すフローチャートである。
事前処理部が行う加工処理の一例を説明する図である。
【発明を実施するための形態】
【0009】
以下、本発明の実施の形態について、図面を用いて説明する。尚、すべての図面において、同様な構成要素には同様の符号を付し、適宜説明を省略する。
【0010】
図1は、実施形態に係る車両監視装置10の使用環境を説明する図である。車両監視装置10は、センサ装置20及び通信装置30と共に使用される。
(【0011】以降は省略されています)
この特許をJ-PlatPat(特許庁公式サイト)で参照する
関連特許
パイオニア株式会社
通信装置
5日前
パイオニア株式会社
通信装置
5日前
パイオニア株式会社
情報処理装置
2日前
パイオニア株式会社
情報処理装置
2日前
パイオニア株式会社
情報処理装置
2日前
パイオニア株式会社
情報処理装置
2日前
パイオニア株式会社
情報処理装置
2日前
パイオニア株式会社
情報処理装置
2日前
パイオニア株式会社
情報処理装置
2日前
パイオニア株式会社
情報処理装置
2日前
パイオニア株式会社
ルームミラー装置
2日前
パイオニア株式会社
ルームミラー装置
2日前
パイオニア株式会社
通信装置、ヘルメット
5日前
パイオニア株式会社
制御装置、制御方法、及びプログラム
2日前
パイオニア株式会社
検索装置、検索方法、及びプログラム
2日前
パイオニア株式会社
車両監視装置、車両監視方法、及びプログラム
2日前
パイオニア株式会社
情報処理装置、情報処理方法、及びプログラム
2日前
パイオニア株式会社
情報処理装置、情報処理方法、及びプログラム
2日前
パイオニア株式会社
情報処理装置、情報処理方法、プログラム及び記憶媒体
5日前
パイオニア株式会社
情報処理装置、情報処理方法、プログラム及び記憶媒体
5日前
パイオニア株式会社
情報処理装置、情報処理方法、プログラム及び記憶媒体
5日前
パイオニア株式会社
経路探索装置、経路探索方法、プログラム及び記憶媒体
2日前
パイオニア株式会社
経路探索装置、経路探索方法、プログラム及び記憶媒体
2日前
パイオニア株式会社
経路探索装置、経路探索方法、プログラム及び記憶媒体
2日前
パイオニア株式会社
情報処理装置、情報処理方法、プログラム及び記憶媒体
5日前
パイオニア株式会社
情報処理装置、情報処理方法、プログラム及び記憶媒体
5日前
パイオニア株式会社
取付機構
29日前
パイオニア株式会社
判定装置
22日前
パイオニア株式会社
サーバ装置
27日前
パイオニア株式会社
ライダ装置
20日前
パイオニア株式会社
情報処理装置
22日前
パイオニア株式会社
情報処理装置
27日前
パイオニア株式会社
表示制御装置
2日前
パイオニア株式会社
表示制御装置
20日前
パイオニア株式会社
情報処理装置、情報処理方法、情報処理プログラム及び記憶媒体
2日前
パイオニア株式会社
興奮度判定装置
20日前
続きを見る
他の特許を見る