TOP
|
特許
|
意匠
|
商標
特許ウォッチ
Twitter
他の特許を見る
10個以上の画像は省略されています。
公開番号
2025147053
公報種別
公開特許公報(A)
公開日
2025-10-03
出願番号
2025130761,2024060793
出願日
2025-08-05,2016-06-16
発明の名称
入力装置
出願人
パイオニア株式会社
,
東北パイオニア株式会社
代理人
個人
,
個人
,
個人
主分類
G06F
3/0488 20220101AFI20250926BHJP(計算;計数)
要約
【課題】操作性の向上を図った入力装置を提供する。
【解決手段】入力装置は、接触したことを検知する接触面が設けられた操作入力部1と、操作入力部からの信号に基づいて、電子機器20を制御する制御部10aと、を備え、制御部は、第1の接触状態で、第1領域11から該第1領域11に並置された第2領域12へ移動した際、第2領域12にて第1の接触状態と異なる第2の接触を検知した場合に、第1領域11から第2領域12に選択対象を切り替える。
【選択図】図3
特許請求の範囲
【請求項1】
接触したことを検知する接触面が設けられた操作入力部と、
前記操作入力部からの信号に基づいて、電子機器を制御する制御部と、を備え、
前記操作入力部は、第1領域および第2領域を有し、
前記第1領域には、
第1方向に選択候補が並んで表示され、
現在の選択項目を示し、接触位置の移動に伴って移動する指示部が設けられ、
第2領域は、前記第1領域の前記第1方向に並置して表示され、
前記制御部は、前記指示部に対して第1の接触が行われ、前記第1の接触が維持された状態のままで、第1領域から該第1領域に並置された第2領域へ移動した際、前記選択候補のうち最端部に位置する前記選択候補が選択され、かつ、前記第2領域にて前記第1の接触と異なる第2の接触を検知した場合にのみ、前記第1領域から前記第2領域に選択対象を切り替えることを特徴とする入力装置。
続きを表示(約 420 文字)
【請求項2】
請求項1に記載の入力装置において、
前記第2の接触は、前記第1の接触から一旦非接触となり、再度の接触であることを特徴とする入力装置。
【請求項3】
請求項1に記載の入力装置において、
前記第2の接触は、前記第1の接触で前記接触面が検知する第1押圧力よりも、前記接触面が検知する第2押圧力が大きいことを特徴とする入力装置。
【請求項4】
請求項1に記載の入力装置において、
前記第2の接触は、前記第1の接触で前記接触面が検知する当該接触面に対する第1接触面積よりも、前記接触面が検知する当該接触面に対する第2接触面積が大きいことを特徴とする入力装置。
【請求項5】
請求項1に記載の入力装置において、
前記第2の接触は、前記接触面が検知する接触箇所の数が、前記第1の接触において、前記接触面が検知する接触箇所の数よりも多いことを特徴とする入力装置。
発明の詳細な説明
【技術分野】
【0001】
本発明は、入力装置に関するものである。
続きを表示(約 1,900 文字)
【背景技術】
【0002】
従来、車両のステアリング部分に搭載され、操作者が表示部としてのナビゲーション装置のディスプレイやヘッドアップディスプレイに表示された画像を見ながら操作するためにタッチセンサを備えた入力装置が開示されている(例えば、特許文献1参照)。図9は、従来の入力オブジェクトを表示した図である。
【0003】
特許文献1に開示された入力用オブジェクト100は、図9に示すように、例えば音量調節を行うなど、可変量を変化させる入力を受け付ける際に用いるスライドバー200を含んで構成される。このスライドバー200は、例えば左端を最小値として、また右端を最大値として、操作者が可変量を変化させる操作入力を受け付ける。スライドバー200上にあるノブ300は、可変量の現在の値を示している。このように入力用オブジェクト100は、操作者が入力デバイスを用いてノブ300の位置を移動させることにより、所定の可変量を調整する入力を行うように制御されている。
【0004】
例えば、室内の温度設定を操作する場合があるが、操作者がスライドバー200上にあるノブ300の位置を、スライドバー200の端部に位置させようとした際に、誤って隣のアイコンをアクティブにしてしまうことがある。即ち、操作者が意図しない操作が入力されてしまう、という問題が一例として挙げられる。
【先行技術文献】
【特許文献】
【0005】
特開2011-048832
【発明の概要】
【発明が解決しようとする課題】
【0006】
本発明は、このような問題点に対処することを課題の一例とするものである。即ち、本発明は、操作性の向上を図った入力装置を課題の一例とする。
【課題を解決するための手段】
【0007】
上記課題を解決するために、第1の発明は、接触したことを検知する接触面が設けられた操作入力部と、前記操作入力部からの信号に基づいて、電子機器を制御する制御部と、を備え、前記操作入力部は、第1領域および第2領域を有し、前記第1領域には、第1方向に選択候補が並んで表示され、現在の選択項目を示し、接触位置の移動に伴って移動する指示部が設けられ、第2領域は、前記第1領域の前記第1方向に並置して表示され、前記制御部は、前記指示部に対して第1の接触が行われ、前記第1の接触が維持された状態のままで、第1領域から該第1領域に並置された第2領域へ移動した際、前記選択候補のうち最端部に位置する前記選択候補が選択され、かつ、前記第2領域にて前記第1の接触と異なる第2の接触を検知した場合にのみ、前記第1領域から前記第2領域に選択対象を切り替えることを特徴とする入力装置である。
【図面の簡単な説明】
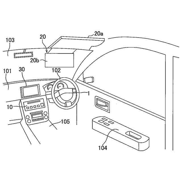
【0008】
本発明の入力装置が搭載された自動車の室内を模式的に示す斜視図である。
図1に示された入力装置を含むナビゲーションシステムの機能ブロック図である。
図2に示された制御部の動作の第1実施例を示すフローチャートである。
電子機器により表示される表示の一例を示す図である。
電子機器により表示される表示の一例を示す図である。
図2に示された制御部の動作の第2実施例を示すフローチャートである。
電子機器により表示される表示の一例を示す図である。
図2に示された制御部の動作の第3実施例を示すフローチャートである。
従来の入力オブジェクトを表示した図である。
【0009】
以下、本発明の一実施の形態にかかる入力装置を説明する。本発明の一実施の形態にかかる入力装置において、接触したことを検知する接触面が設けられた操作入力部と、前記操作入力部からの信号に基づいて、電子機器を制御する制御部と、を備え、前記制御部は、第1の接触状態で、第1領域から該第1領域に並置された第2領域へ移動した際、前記選択候補のうち最端部に位置する前記選択候補が選択され、かつ、前記第2領域にて前記第1の接触状態と異なる第2の接触を検知した場合にのみ、前記第1領域から前記第2領域に選択対象を切り替える。
【0010】
これにより、操作者は、指等の接触体を接触面に接触させた状態で、第1領域から第2領域まで指を移動した際に、操作者が意図せずに、第2領域に選択対象が切り替わることを抑制できる。このように操作者が意図しない操作が入力されてしまうことを抑制することで、操作性の向上を図ることができる。
(【0011】以降は省略されています)
この特許をJ-PlatPat(特許庁公式サイト)で参照する
関連特許
パイオニア株式会社
通信装置
11日前
パイオニア株式会社
通信装置
11日前
パイオニア株式会社
情報処理装置
8日前
パイオニア株式会社
情報処理装置
8日前
パイオニア株式会社
情報処理装置
8日前
パイオニア株式会社
情報処理装置
8日前
パイオニア株式会社
情報処理装置
8日前
パイオニア株式会社
情報処理装置
8日前
パイオニア株式会社
情報処理装置
8日前
パイオニア株式会社
情報処理装置
8日前
パイオニア株式会社
ルームミラー装置
8日前
パイオニア株式会社
ルームミラー装置
8日前
パイオニア株式会社
通信装置、ヘルメット
11日前
パイオニア株式会社
検索装置、検索方法、及びプログラム
8日前
パイオニア株式会社
制御装置、制御方法、及びプログラム
8日前
パイオニア株式会社
情報処理装置、情報処理方法、及びプログラム
8日前
パイオニア株式会社
情報処理装置、情報処理方法、及びプログラム
8日前
パイオニア株式会社
車両監視装置、車両監視方法、及びプログラム
8日前
パイオニア株式会社
車両監視装置、車両監視方法、及びプログラム
4日前
パイオニア株式会社
情報処理装置、情報処理方法、プログラム及び記憶媒体
11日前
パイオニア株式会社
情報処理装置、情報処理方法、プログラム及び記憶媒体
11日前
パイオニア株式会社
経路探索装置、経路探索方法、プログラム及び記憶媒体
8日前
パイオニア株式会社
経路探索装置、経路探索方法、プログラム及び記憶媒体
8日前
パイオニア株式会社
経路探索装置、経路探索方法、プログラム及び記憶媒体
8日前
パイオニア株式会社
情報処理装置、情報処理方法、プログラム及び記憶媒体
11日前
パイオニア株式会社
情報処理装置、情報処理方法、プログラム及び記憶媒体
11日前
パイオニア株式会社
情報処理装置、情報処理方法、プログラム及び記憶媒体
11日前
パイオニア株式会社
判定装置
28日前
パイオニア株式会社
入力装置
4日前
パイオニア株式会社
サーバ装置
1か月前
パイオニア株式会社
ライダ装置
26日前
パイオニア株式会社
表示制御装置
8日前
パイオニア株式会社
情報処理装置
1か月前
パイオニア株式会社
情報処理装置
28日前
パイオニア株式会社
表示制御装置
26日前
パイオニア株式会社
情報処理装置、情報処理方法、情報処理プログラム及び記憶媒体
8日前
続きを見る
他の特許を見る