TOP
|
特許
|
意匠
|
商標
特許ウォッチ
Twitter
他の特許を見る
公開番号
2025156421
公報種別
公開特許公報(A)
公開日
2025-10-14
出願番号
2025127110,2024078329
出願日
2025-07-30,2018-01-31
発明の名称
認識判定装置、認識判定方法及び認識判定プログラム
出願人
パイオニア株式会社
代理人
弁理士法人レクスト国際特許事務所
主分類
G06Q
30/0242 20230101AFI20251002BHJP(計算;計数)
要約
【課題】
情報がユーザに認識されたか否かを正確に判定することが可能な認識判定装置、認識判定方法及び認識判定プログラムを提供する。
【解決手段】
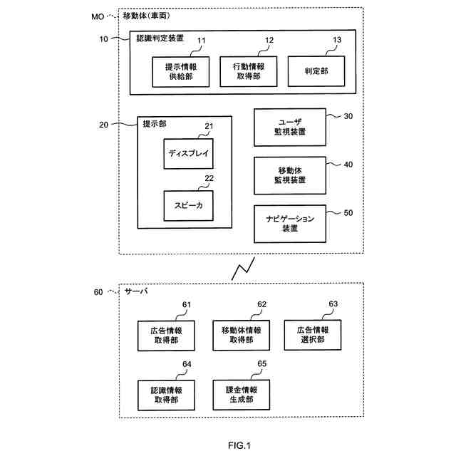
認識判定装置は、提示部に提示させる提示情報を供給する提示情報供給部と、提示情報の提示対象となるユーザの行動に関する行動情報を取得する行動情報取得部と、提示情報の内容と提示情報が提示されている間の行動情報の内容とに基づいて、提示情報がユーザに認識されたか否かを判定する判定部と、を有する。
【選択図】図2
特許請求の範囲
【請求項1】
提示部に提示させる提示情報を供給する提示情報供給部と、
前記提示情報の提示対象となるユーザの行動に関する行動情報を取得する行動情報取得部と、
前記提示情報の内容と前記提示情報が提示されている間の前記行動情報の内容とに基づいて、前記提示情報が前記ユーザに認識されたか否かを判定する判定部と、を有することを特徴とする認識判定装置。
発明の詳細な説明
【技術分野】
【0001】
本発明は、対象の情報がユーザに認識されたか否かを判定する認識判定装置、認識判定方法及び認識判定プログラムに関する。
続きを表示(約 1,200 文字)
【背景技術】
【0002】
一般に、広告業界では、広告代理店は、広告主の依頼によって種々の広告を制作し、また種々の媒体を介して当該広告を配布する。広告代理店は、当該広告を配布することによって、広告主から代金を得る。
【0003】
また、インターネット広告の普及によって、成功報酬型広告が一般化されつつある。成功報酬型広告は、例えば、商品の購入のきっかけが広告の配布(配信)であった場合に広告主から当該広告の配布に係る代金を得ることができる広告取引の仕組みである。
【0004】
例えば、特許文献1には、広告画像がユーザにより視認された時間を視認情報として生成する情報処理装置と、当該視認情報を用いて広告主へ課金をする金額を算出するサーバ装置と、が開示されている。
【先行技術文献】
【特許文献】
【0005】
特許第5245691号公報
【発明の概要】
【発明が解決しようとする課題】
【0006】
近年では、インターネット広告は、カーナビゲーションなどの車載機器やスマートフォンなどの携帯端末などを媒体として普及し始めている。従って、今後も、種々の機器と連携しつつ、成功報酬型広告が普及することが予想される。そして、成功報酬型広告が普及するためには、広告がユーザに認識されたか否かを正確に判定することが不可欠となる。
【0007】
また、単純な広告に限らず、提示される広告には、広告以外の内容の情報が含まれる場合がある。例えば、移動中のカーナビゲーションを広告媒体とした場合には、広告には、その広告の内容に加え、その広告を提示すべき地点に関する運転支援情報(例えば当該提示地点が事故多発地点などの運転に注意を要する地点である場合にその旨を知らせる情報)が含まれる場合がある。
【0008】
このような多種多様な広告をはじめ、あらゆる情報は、ユーザに認識されることが重要である。従って、例えば対象となる情報を提示した場合、当該提示した情報がユーザに認識されたか否かを正確に判定することが好ましい。
【0009】
本発明は上記した点に鑑みてなされたものであり、情報がユーザに認識されたか否かを正確に判定することが可能な認識判定装置、認識判定方法及び認識判定プログラムを提供することを課題の1つとしている。
【課題を解決するための手段】
【0010】
請求項1に記載の発明は、提示部に提示させる提示情報を供給する提示情報供給部と、提示情報の提示対象となるユーザの行動に関する行動情報を取得する行動情報取得部と、提示情報の内容と提示情報が提示されている間の行動情報の内容とに基づいて、提示情報がユーザに認識されたか否かを判定する判定部と、を有することを特徴とする。
【図面の簡単な説明】
(【0011】以降は省略されています)
この特許をJ-PlatPat(特許庁公式サイト)で参照する
関連特許
パイオニア株式会社
情報処理装置、情報処理方法及びプログラム
5日前
パイオニア株式会社
車両監視装置、車両監視方法、及びプログラム
11日前
パイオニア株式会社
情報処理装置、情報処理方法、及びプログラム
5日前
パイオニア株式会社
情報処理装置、制御方法、プログラム及び記憶媒体
4日前
パイオニア株式会社
情報処理装置、制御方法、プログラム及び記憶媒体
4日前
パイオニア株式会社
情報処理装置、情報処理方法および情報処理プログラム
4日前
パイオニア株式会社
情報処理装置、情報処理方法および情報処理プログラム
4日前
パイオニア株式会社
情報処理装置、情報処理方法および情報処理プログラム
4日前
パイオニア株式会社
情報処理装置、情報処理方法および情報処理プログラム
4日前
パイオニア株式会社
情報処理装置、情報処理方法および情報処理プログラム
4日前
パイオニア株式会社
情報処理装置、情報処理方法および情報処理プログラム
4日前
パイオニア株式会社
情報処理装置、情報処理方法および情報処理プログラム
4日前
パイオニア株式会社
入力装置
11日前
パイオニア株式会社
情報処理装置、情報処理方法、および情報処理プログラム
4日前
パイオニア株式会社
情報処理システム、情報処理方法、プログラム及び記録媒体
5日前
パイオニア株式会社
センサ装置
今日
パイオニア株式会社
表示制御装置
今日
パイオニア株式会社
ナビゲーション装置
今日
パイオニア株式会社
表示装置および表示装置の駆動方法
今日
パイオニア株式会社
通報装置、通報方法、及びプログラム
7日前
パイオニア株式会社
案内情報生成装置及び案内情報生成方法
今日
パイオニア株式会社
情報処理装置、方法、プログラム及び記憶媒体
11日前
パイオニア株式会社
情報送信装置、方法、プログラム及び記憶媒体
11日前
パイオニア株式会社
情報処理装置、方法、プログラム及び記憶媒体
14日前
パイオニア株式会社
予測装置、予測方法、予測プログラム及び記憶媒体
今日
パイオニア株式会社
情報処理装置、制御方法、プログラム及び記憶媒体
11日前
パイオニア株式会社
端末装置、情報処理方法及び端末装置用プログラム
11日前
パイオニア株式会社
認識判定装置、認識判定方法及び認識判定プログラム
今日
パイオニア株式会社
情報処理装置、情報出力方法、プログラム及び記憶媒体
今日
パイオニア株式会社
通信システム、通信装置、サーバ装置、通信方法、通信プログラム及び記憶媒体
今日
個人
詐欺保険
今日
個人
縁伊達ポイン
今日
個人
QRコードの彩色
4日前
個人
地球保全システム
13日前
個人
冷凍食品輸出支援構造
1か月前
個人
為替ポイント伊達夢貯
1か月前
続きを見る
他の特許を見る