TOP
|
特許
|
意匠
|
商標
特許ウォッチ
Twitter
他の特許を見る
10個以上の画像は省略されています。
公開番号
2025159134
公報種別
公開特許公報(A)
公開日
2025-10-17
出願番号
2025135292,2024084123
出願日
2025-08-15,2018-09-21
発明の名称
情報処理装置、情報処理方法、情報処理プログラム、及び記憶媒体
出願人
パイオニア株式会社
代理人
個人
,
個人
,
個人
主分類
G08G
1/00 20060101AFI20251009BHJP(信号)
要約
【課題】死角に対する注意喚起を効果的に補助することができる情報処理装置、情報処理方法、情報処理プログラム、及び記憶媒体を提供する。
【解決手段】情報処理装置100が、移動体1の外部の音を取得する音取得部110と、移動体1の外部の画像を取得する画像取得部120と、移動体1の位置を取得する位置取得部130と、外部の音に予め定められた要注意音が含まれており、且つ、当該要注意音の発生源が外部の画像に含まれていない場合に、位置取得部130で取得された位置又は当該位置を含む領域に関する個別注意情報を記憶する記憶部170と、を備えたことを特徴とする。
【選択図】図1
特許請求の範囲
【請求項1】
移動体の外部の音を取得する音取得部と、
前記移動体の外部の画像を取得する画像取得部と、
前記移動体の位置を取得する位置取得部と、
前記外部の音に予め定められた要注意音が含まれており、且つ、当該要注意音の発生源が前記外部の画像に含まれていない場合に、前記位置取得部で取得された位置又は当該位置を含む領域に関する注意情報を記憶する記憶部と、
を備えたことを特徴とする情報処理装置。
発明の詳細な説明
【技術分野】
【0001】
本発明は、移動体についての情報処理を行う情報処理装置、情報処理方法、情報処理プログラム、及び情報処理プログラムを記憶した記憶媒体に関する。
続きを表示(約 1,900 文字)
【背景技術】
【0002】
従来、移動体についての情報処理の一例として、過去の事故に関するデータを記憶しておき、走行時にはこのデータに基づいて運転者に適宜に注意を促す情報処理が提案されている(例えば、特許文献1参照。)。この特許文献1に記載の情報処理では、移動体の位置や走行状況と過去の事故との比較を介して運転者への注意喚起等が行われる。
【先行技術文献】
【特許文献】
【0003】
特開2003-14474号公報
【発明の概要】
【発明が解決しようとする課題】
【0004】
ここで、事故にまでは至らずとも、死角から自転車や子供が飛び出して運転者が緊張を強いられる等といった状況はしばしば生ずることである。しかしながら、このような死角に対する注意については、運転者個々の注意力に任されることが多く、死角に対する注意喚起を効果的に補助する情報処理については未だなされていないのが現状である。
【0005】
したがって、本発明の課題は、死角に対する注意喚起を効果的に補助することができる情報処理装置、情報処理方法、情報処理プログラム、及び記憶媒体を提供すること等が一例として挙げられる。
【課題を解決するための手段】
【0006】
前述した課題を解決し目的を達成するために、本発明の情報処理装置は、移動体の外部の音を取得する音取得部と、前記移動体の外部の画像を取得する画像取得部と、前記移動体の位置を取得する位置取得部と、前記外部の音に予め定められた要注意音が含まれており、且つ、当該要注意音の発生源が前記外部の画像に含まれていない場合に、前記位置取得部で取得された位置又は当該位置を含む領域に関する注意情報を記憶する記憶部と、を備えたことを特徴とする。
【0007】
また、前述した課題を解決し目的を達成するために、本発明の情報処理方法は、移動体の外部の音を取得する音取得工程と、前記移動体の外部の画像を取得する画像取得工程と、前記移動体の位置を取得する位置取得工程と、前記外部の音に予め定められた要注意音が含まれており、且つ、当該要注意音の発生源が前記外部の画像に含まれていない場合に、前記位置取得工程で取得された位置又は当該位置を含む領域に関する注意情報を記憶する記憶工程と、を備えたことを特徴とする。
【0008】
また、前述した課題を解決し目的を達成するために、本発明の情報処理プログラムは、上述した本発明の情報処理方法を、コンピュータにより実行させることを特徴とする。
【0009】
また、前述した課題を解決し目的を達成するために、本発明の記憶媒体は、上述した本発明の情報処理プログラムを記憶したことを特徴とする。
【図面の簡単な説明】
【0010】
移動体に搭載された、第1実施例に係る情報処理装置を示す模式的なブロック図である。
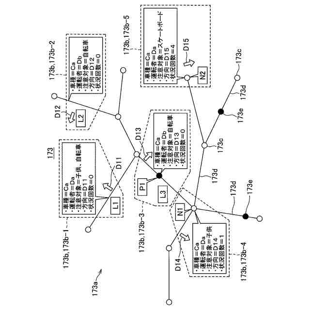
図1に示されている記憶部のメモリに記憶されるデータのデータ構造を示す模式図である。
図2に示されているデータ構造をテーブル形式で示す図である。
図1に示されている情報生成部において要注意音に関する判定に用いられる情報テーブルを示す図である。
注意情報記憶処理における処理の流れを示すフローチャートである。
注意喚起処理における処理の流れを示すフローチャートである。
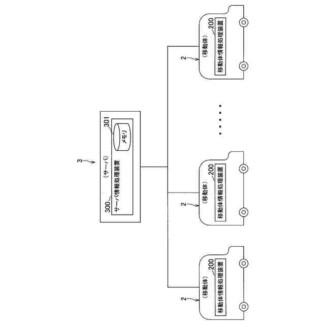
第2実施例における移動体とサーバとを示す模式図である。
図7に示されている移動体及びサーバそれぞれにおける情報処理装置を示す模式的なブロック図である。
図7及び図8に示されているサーバのメモリに記憶されるデータのデータ構造を示す模式図である。
図9に示されているデータ構造をテーブル形式で示す図である。
図8に示されているデータ作成部で行われる個別注意情報に対する統計処理を示す模式図である。
注意情報出力処理における処理の流れを示すフローチャートである。
データ作成処理における処理の流れを示すフローチャートである。
注意喚起処理における処理の流れを示すフローチャートである。
第3実施例における移動体とサーバそれぞれにおける装置構成を示す模式的なブロック図である。
情報出力処理における処理の流れを示すフローチャートである。
データ作成処理における処理の流れを示すフローチャートである。
【発明を実施するための形態】
(【0011】以降は省略されています)
この特許をJ-PlatPat(特許庁公式サイト)で参照する
関連特許
パイオニア株式会社
情報処理装置、情報処理方法及びプログラム
15日前
パイオニア株式会社
情報処理装置、情報処理方法、及びプログラム
15日前
パイオニア株式会社
情報処理装置、制御方法、プログラム及び記憶媒体
14日前
パイオニア株式会社
情報処理装置、制御方法、プログラム及び記憶媒体
14日前
パイオニア株式会社
情報処理装置、情報処理方法および情報処理プログラム
14日前
パイオニア株式会社
情報処理装置、情報処理方法および情報処理プログラム
14日前
パイオニア株式会社
情報処理装置、情報処理方法および情報処理プログラム
14日前
パイオニア株式会社
情報処理装置、情報処理方法および情報処理プログラム
14日前
パイオニア株式会社
情報処理装置、情報処理方法および情報処理プログラム
14日前
パイオニア株式会社
情報処理装置、情報処理方法および情報処理プログラム
14日前
パイオニア株式会社
情報処理装置、情報処理方法および情報処理プログラム
14日前
パイオニア株式会社
入力装置
21日前
パイオニア株式会社
情報処理装置、情報処理方法、および情報処理プログラム
14日前
パイオニア株式会社
センサ装置
10日前
パイオニア株式会社
情報処理システム、情報処理方法、プログラム及び記録媒体
15日前
パイオニア株式会社
音声出力装置
9日前
パイオニア株式会社
表示制御装置
10日前
パイオニア株式会社
情報出力装置
7日前
パイオニア株式会社
ナビゲーション装置
10日前
パイオニア株式会社
表示装置および表示装置の駆動方法
10日前
パイオニア株式会社
通報装置、通報方法、及びプログラム
17日前
パイオニア株式会社
案内情報生成装置及び案内情報生成方法
10日前
パイオニア株式会社
情報処理装置、方法、プログラム及び記憶媒体
21日前
パイオニア株式会社
情報送信装置、方法、プログラム及び記憶媒体
21日前
パイオニア株式会社
推定装置、システム、推定方法、およびプログラム
2日前
パイオニア株式会社
予測装置、予測方法、予測プログラム及び記憶媒体
10日前
パイオニア株式会社
情報処理装置、制御方法、プログラム及び記憶媒体
9日前
パイオニア株式会社
決定装置、決定方法、決定プログラム及び記録媒体
7日前
パイオニア株式会社
情報処理装置、制御方法、プログラム及び記憶媒体
21日前
パイオニア株式会社
端末装置、情報処理方法及び端末装置用プログラム
21日前
パイオニア株式会社
認識判定装置、認識判定方法及び認識判定プログラム
10日前
パイオニア株式会社
通信制御端末、通信制御方法及び通信制御プログラム
7日前
パイオニア株式会社
制御装置、制御方法、および、制御装置用プログラム
2日前
パイオニア株式会社
情報処理装置、情報出力方法、プログラム及び記憶媒体
10日前
パイオニア株式会社
料金算出装置、料金算出方法及び料金算出用プログラム
7日前
パイオニア株式会社
音出力制御装置、音出力制御方法および音出力制御プログラム
9日前
続きを見る
他の特許を見る