TOP
|
特許
|
意匠
|
商標
特許ウォッチ
Twitter
他の特許を見る
10個以上の画像は省略されています。
公開番号
2025168369
公報種別
公開特許公報(A)
公開日
2025-11-07
出願番号
2025136235,2024113193
出願日
2025-08-19,2016-11-21
発明の名称
制御装置、制御方法及び制御用プログラム
出願人
パイオニア株式会社
代理人
弁理士法人インテクト国際特許事務所
,
個人
主分類
G06F
1/16 20060101AFI20251030BHJP(計算;計数)
要約
【課題】大型のディスプレイをコンソール部の前方で用いる場合に、簡易且つスムーズにそのディスプレイ自体を移動等させることが可能な制御装置を提供する。
【解決手段】筐体により支持される表示部Dへの接触による押圧力を検出するタッチセンサ群TSと、筐体に対する第1方向又は第2方向のいずれかへの表示部Dの回転又は移動を、タッチセンサ群TSにより検出された押圧力に基づいて制御する制御部3と、を備える。
【選択図】図2
特許請求の範囲
【請求項1】
支持部により支持される表示部への接触による押圧力を検出する検出部と、
前記支持部に対する第1方向又は当該第1方向とは異なる第2方向のいずれかへの前記表示部の回転又は移動を、前記検出された押圧力に基づいて制御する制御部と、
を備えることを特徴とする制御装置。
発明の詳細な説明
【技術分野】
【0001】
本願は、制御装置、制御方法及び制御用プログラムの技術分野に属する。より詳細には、液晶ディスプレイ等の表示部の回転又は移動を制御する制御装置及び制御方法並びに当該制御装置用のプログラムの技術分野に属する。
続きを表示(約 1,700 文字)
【背景技術】
【0002】
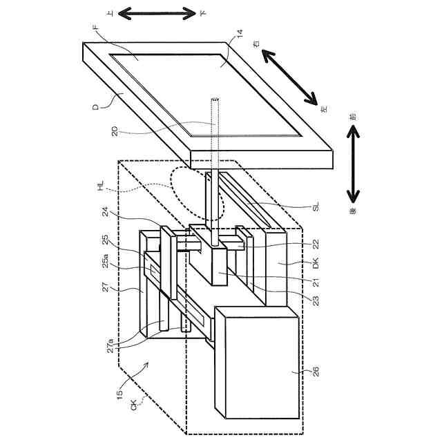
近年、液晶ディスプレイ等の表示部を備えた車載装置が広く一般化している。この車載装置では、例えば上記表示部における地図表示を伴ったナビゲーション処理や、使用者(例えば当該車両の同乗者)の指定によるコンテンツの当該表示部を用いた再生処理等が実行される。このとき、上述したような用途を鑑みると、上記表示部は大型である方が好ましい。
【0003】
一方上記の点に対して、当該車両の車室はその大きさ(広さ)が限られており、また運転時における運転者の視界の確保等の必要性もあるため、表示部を大型化するには様々な工夫が必要となる。そして、このような工夫を考慮した従来技術の一例として、例えば下記特許文献1に記載された技術がある。
【0004】
この特許文献1には、長方形で大型のディスプレイを、その使用時において車両の車室内に突出させると共に、当該ディスプレイにおける表示内容に応じて、ディスプレイの横長使用と縦長使用(ディスプレイ自体の回転)を制御する構成が開示されている。このときの表示内容とは、例えば地図又は操作用のアイコン等が挙げられている。そして、当該回転の制御に関し、横長使用時のディスプレイの上辺位置と縦長使用時の当該上辺位置とを略一致させることで、回転させても運転者の視界を妨げないようにする構成も開示されている。また更に、いわゆる近接センサで運転者又は同乗者の手の接近を検出したときに上記回転制御を行うと共に、当該回転とディスプレイ自体のスライド移動とを連携させる構成も開示されている。
【先行技術文献】
【特許文献】
【0005】
特開2013-121768号公報
【発明の概要】
【発明が解決しようとする課題】
【0006】
ここで、上記特許文献1に開示されているような大型のディスプレイを用いることは、その表示内容の視認の容易性や、一度に表示できる情報量の多さの点では有利である。しかしながら一方で、例えば操作ボタン等が元々配置されているコンソール部の前方(車内側)でそのディスプレイを用いる場合には、その大きさゆえに、その操作ボタン等がディスプレイの背後に隠れてしまって操作できない場合があるという問題点があった。この場合には、当該ディスプレイを例えば移動させてその操作ボタン等を操作可能とする必要がある。
【0007】
そこで、本願は上記の問題点及び要請に鑑みて為されたもので、その課題の一例は、大型のディスプレイをコンソール部の前方で用いる場合に、簡易且つスムーズにそのディスプレイ自体を移動等させることが可能な制御装置及び制御方法並びに当該制御装置用のプログラムを提供することにある。
【課題を解決するための手段】
【0008】
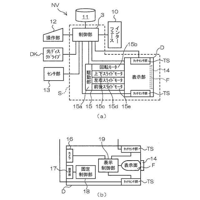
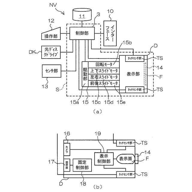
上記の課題を解決するために、請求項1に記載の発明は、支持部により支持される表示部への接触による押圧力を検出する検出部と、前記支持部に対する第1方向又は当該第1方向とは異なる第2方向のいずれかへの前記表示部の回転又は移動を、前記検出された押圧力に基づいて制御する制御部と、を備える。
【0009】
上記の課題を解決するために、請求項11に記載の発明は、支持部により支持される表示部への接触による押圧力を検出する検出部と、制御部と、を備える制御装置において実行される制御方法であって、前記支持部に対する第1方向又は当該第1方向とは異なる第2方向のいずれかへの前記表示部の回転又は移動を、前記検出された押圧力に基づいて前記制御部により制御する制御工程を含む。
【0010】
上記の課題を解決するために、請求項12に記載の発明は、支持部により支持される表示部への接触による押圧力を検出する検出部を備える制御装置に含まれるコンピュータを、前記支持部に対する第1方向又は当該第1方向とは異なる第2方向のいずれかへの前記表示部の回転又は移動を、前記検出された押圧力に基づいて制御する制御部として機能させる。
【図面の簡単な説明】
(【0011】以降は省略されています)
この特許をJ-PlatPat(特許庁公式サイト)で参照する
関連特許
パイオニア株式会社
センサ装置
1か月前
パイオニア株式会社
光制御装置
15日前
パイオニア株式会社
光制御装置
15日前
パイオニア株式会社
情報処理装置
23日前
パイオニア株式会社
情報処理装置
22日前
パイオニア株式会社
情報処理装置
22日前
パイオニア株式会社
情報処理装置
1か月前
パイオニア株式会社
情報出力装置
1か月前
パイオニア株式会社
音声出力装置
1か月前
パイオニア株式会社
情報表示装置
3日前
パイオニア株式会社
効果音出力装置
1か月前
パイオニア株式会社
情報処理装置、端末装置
22日前
パイオニア株式会社
認識装置、認識方法及び認識プログラム
11日前
パイオニア株式会社
制御装置、制御方法及び制御用プログラム
22日前
パイオニア株式会社
撮影装置、制御方法、プログラム及び記憶媒体
22日前
パイオニア株式会社
決定装置、決定方法、決定プログラム及び記録媒体
1か月前
パイオニア株式会社
情報処理装置、制御方法、プログラム及び記憶媒体
1か月前
パイオニア株式会社
推定装置、システム、推定方法、およびプログラム
1か月前
パイオニア株式会社
情報処理装置、制御方法、プログラム及び記憶媒体
24日前
パイオニア株式会社
表示装置、表示方法、プログラム、及び、記憶媒体
24日前
パイオニア株式会社
情報処理装置、判定方法、プログラム及び記憶媒体
1日前
パイオニア株式会社
情報処理装置、情報処理方法及び情報処理プログラム
1か月前
パイオニア株式会社
制御装置、制御方法、および、制御装置用プログラム
1か月前
パイオニア株式会社
通信制御端末、通信制御方法及び通信制御プログラム
1か月前
パイオニア株式会社
料金算出装置、料金算出方法及び料金算出用プログラム
1か月前
パイオニア株式会社
情報記録装置、情報記録方法及び情報記録用プログラム
15日前
パイオニア株式会社
車載装置、情報処理方法、情報管理装置及び情報管理方法
1日前
パイオニア株式会社
携帯端末装置、情報処理装置、連携システム及び表示制御方法
8日前
パイオニア株式会社
音出力制御装置、音出力制御方法および音出力制御プログラム
1か月前
パイオニア株式会社
情報処理装置、情報処理方法、情報処理プログラム及び記録媒体
24日前
パイオニア株式会社
情報処理装置、情報処理方法、情報処理プログラム、及び記憶媒体
1か月前
パイオニア株式会社
地点検索方法、地点検索プログラム、地点検索記憶媒体および地点検索装置
1か月前
パイオニア株式会社
情報処理装置、広告情報提示装置及びこれらの装置によって実行される方法
1か月前
パイオニア株式会社
通信端末、通信方法、通信プログラム、通信プログラムを格納した記録媒体および情報処理装置
1日前
パイオニア株式会社
情報処理装置、情報処理方法、情報処理プログラム及び情報処理プログラムを記録したコンピュータ読み取り可能な記録媒体
3日前
個人
詐欺保険
1か月前
続きを見る
他の特許を見る