TOP
|
特許
|
意匠
|
商標
特許ウォッチ
Twitter
他の特許を見る
公開番号
2025152746
公報種別
公開特許公報(A)
公開日
2025-10-10
出願番号
2024054799
出願日
2024-03-28
発明の名称
情報処理装置、制御方法、プログラム及び記憶媒体
出願人
パイオニア株式会社
代理人
個人
主分類
G06Q
50/40 20240101AFI20251002BHJP(計算;計数)
要約
【課題】エアコンのエネルギー消費量を的確に推定することが可能な情報処理装置を提供する。
【解決手段】情報処理装置は、取得部と、消費量分布生成部と、算出部と、を備える。取得部は、走行予定のエリアと、走行予定の時期と、を含む走行予定情報を取得する。消費量分布生成部は、前記走行予定情報と、過去の気温データと、に基づいて、エアコンの消費量分布を生成する。算出部は、前記エアコンの消費量分布に基づいて、期待値よりも高い消費量をエアコンのエネルギー消費量として算出する。
【選択図】図1
特許請求の範囲
【請求項1】
走行予定のエリアと、走行予定の時期と、を含む走行予定情報を取得する取得部と、
前記走行予定情報と、過去の気温データと、に基づいて、エアコンの消費量分布を生成する消費量分布生成部と、
前記エアコンの消費量分布に基づいて、期待値よりも高い消費量をエアコンのエネルギー消費量として算出する算出部と、
を備える情報処理装置。
続きを表示(約 700 文字)
【請求項2】
前記算出部は、前記消費量分布の95パーセンタイル値を前記エアコンのエネルギー消費量とする請求項1に記載の情報処理装置。
【請求項3】
前記消費量分布生成部は、前記走行予定情報と、過去の気温データと、将来の気温予測データと、に基づいて、エアコンの消費量分布を生成する請求項1に記載の情報処理装置。
【請求項4】
前記エアコンは車両に搭載されたエアコンである請求項1に記載の情報処理装置。
【請求項5】
情報処理装置が実行する制御方法であって、
走行予定のエリアと、走行予定の時期と、を含む走行予定情報を取得する取得工程と、
前記走行予定情報と、過去の気温データと、に基づいて、エアコンの消費量分布を生成する消費量分布生成工程と、
前記エアコンの消費量分布に基づいて、期待値よりも高い消費量をエアコンのエネルギー消費量として算出する算出工程と、
を有する制御方法。
【請求項6】
コンピュータが実行するプログラムであって、
走行予定のエリアと、走行予定の時期と、を含む走行予定情報を取得する取得手段と、
前記走行予定情報と、過去の気温データと、に基づいて、エアコンの消費量分布を生成する消費量分布生成手段と、
前記エアコンの消費量分布に基づいて、期待値よりも高い消費量をエアコンのエネルギー消費量として算出する算出手段としてコンピュータを機能させるプログラム。
【請求項7】
請求項6に記載のプログラムを記憶したことを特徴とする記憶媒体。
発明の詳細な説明
【技術分野】
【0001】
本発明は、エアコンのエネルギー消費量の推定に関する。
続きを表示(約 1,500 文字)
【背景技術】
【0002】
移動体のエネルギー消費量を推定する技術が知られている。例えば、特許文献1には、実際の走行状況に近いエネルギー消費量を推定する技術が開示されている。
【先行技術文献】
【特許文献】
【0003】
国際公開WO2013-080312号公報
【発明の概要】
【発明が解決しようとする課題】
【0004】
事業体におけるガソリン車から電気自動車(EV:Electric Vehicle)へ切り替え可能かをシミュレーションするために、そのガソリン車のエネルギー消費量を推定する必要がある。この際、問題なく切り替えができるかの指標として、冷暖房設備や空調設備(以下、「エアコン」と称する。)のエネルギー消費量を考慮する必要がある。
【0005】
本発明は、上述した課題を鑑み、エアコンのエネルギー消費量を的確に推定することが可能な情報処理装置を提供することを目的の一つとする。
【課題を解決するための手段】
【0006】
請求項に記載の発明は、情報処理装置であって、
走行予定のエリアと、走行予定の時期と、を含む走行予定情報を取得する取得部と、
前記走行予定情報と、過去の気温データと、に基づいて、エアコンの消費量分布を生成する消費量分布生成部と、
前記エアコンの消費量分布に基づいて、期待値よりも高い消費量をエアコンのエネルギー消費量として算出する算出部と、
を備える情報処理装置であることを特徴とする。
【0007】
また、請求項に記載の発明は、情報処理装置が実行する制御方法であって、
走行予定のエリアと、走行予定の時期と、を含む走行予定情報を取得する取得工程と、
前記走行予定情報と、過去の気温データと、に基づいて、エアコンの消費量分布を生成する消費量分布生成工程と、
前記エアコンの消費量分布に基づいて、期待値よりも高い消費量をエアコンのエネルギー消費量として算出する算出工程と、
を有する制御方法であることを特徴とする。
【0008】
また、請求項に記載の発明は、コンピュータが実行するプログラムであって、
走行予定のエリアと、走行予定の時期と、を含む走行予定情報を取得する取得手段と、
前記走行予定情報と、過去の気温データと、に基づいて、エアコンの消費量分布を生成する消費量分布生成手段と、
前記エアコンの消費量分布に基づいて、期待値よりも高い消費量をエアコンのエネルギー消費量として算出する算出手段としてコンピュータを機能させるプログラムである。
【図面の簡単な説明】
【0009】
実施例に係るエネルギー消費量推定システムの構成例を示す。
サーバ装置の概略構成の一例を示す。
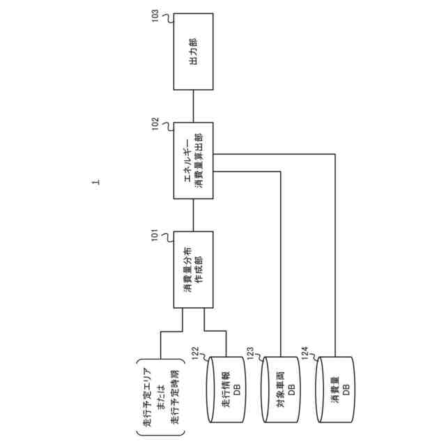
サーバ装置の機能構成の一例を示す。
消費量分布の生成の一例を示す。
実施例に係る処理手順を示すフローチャートである。
過去の気温データの一例を示す。
エアコンのエネルギー消費量分布の一例を示す。
【発明を実施するための形態】
【0010】
本発明の1つの好適な実施形態では、情報処理装置は、走行予定のエリアと、走行予定の時期と、を含む走行予定情報を取得する取得部と、前記走行予定情報と、過去の気温データと、に基づいて、エアコンの消費量分布を生成する消費量分布生成部と、前記エアコンの消費量分布に基づいて、期待値よりも高い消費量をエアコンのエネルギー消費量として算出する算出部と、を備える。
(【0011】以降は省略されています)
この特許をJ-PlatPat(特許庁公式サイト)で参照する
関連特許
パイオニア株式会社
光制御装置
24日前
パイオニア株式会社
光制御装置
24日前
パイオニア株式会社
情報表示装置
12日前
パイオニア株式会社
情報処理装置
1か月前
パイオニア株式会社
情報処理装置
1か月前
パイオニア株式会社
情報処理装置
1か月前
パイオニア株式会社
複合スピーカ装置
3日前
パイオニア株式会社
情報処理装置、端末装置
1か月前
パイオニア株式会社
認識装置、認識方法及び認識プログラム
20日前
パイオニア株式会社
制御装置、制御方法及び制御用プログラム
1か月前
パイオニア株式会社
撮影装置、制御方法、プログラム及び記憶媒体
1か月前
パイオニア株式会社
情報処理装置、判定方法、プログラム及び記憶媒体
10日前
パイオニア株式会社
表示装置、表示方法、プログラム、及び、記憶媒体
1か月前
パイオニア株式会社
情報記録装置、情報記録方法及び情報記録用プログラム
24日前
パイオニア株式会社
姿勢推定装置、姿勢推定方法、プログラム及び記憶媒体
3日前
パイオニア株式会社
車載装置、情報処理方法、情報管理装置及び情報管理方法
10日前
パイオニア株式会社
携帯端末装置、情報処理装置、連携システム及び表示制御方法
17日前
パイオニア株式会社
視線誘導装置、視線誘導方法、視線誘導プログラム及び記憶媒体
3日前
パイオニア株式会社
通信端末、通信方法、通信プログラム、通信プログラムを格納した記録媒体および情報処理装置
10日前
パイオニア株式会社
情報処理装置、情報処理方法、情報処理プログラム及び情報処理プログラムを記録したコンピュータ読み取り可能な記録媒体
12日前
個人
詐欺保険
1か月前
個人
縁伊達ポイン
1か月前
個人
5掛けポイント
1か月前
個人
RFタグシート
1か月前
個人
職業自動販売機
24日前
個人
QRコードの彩色
1か月前
個人
ペルソナ認証方式
1か月前
個人
自動調理装置
1か月前
個人
情報処理装置
1か月前
個人
立体グラフの利用方法
3日前
個人
農作物用途分配システム
1か月前
個人
残土処理システム
2か月前
NISSHA株式会社
入力装置
4日前
個人
知的財産出願支援システム
2か月前
個人
サービス情報提供システム
26日前
個人
インターネットの利用構造
1か月前
続きを見る
他の特許を見る