TOP
|
特許
|
意匠
|
商標
特許ウォッチ
Twitter
他の特許を見る
公開番号
2025178468
公報種別
公開特許公報(A)
公開日
2025-12-05
出願番号
2025166111,2021192025
出願日
2025-10-02,2021-11-26
発明の名称
複合スピーカ装置
出願人
パイオニア株式会社
,
東北パイオニア株式会社
代理人
個人
,
個人
,
個人
主分類
H04R
9/06 20060101AFI20251128BHJP(電気通信技術)
要約
【課題】磁気回路における磁束の利用効率を高めることができる複合スピーカ装置を提供する。
【解決手段】複合スピーカ装置1が、有底筒状のヨーク12と、ヨーク12の内底面に取り付けられた第1磁石13と、ヨーク12の内周との間に第1ギャップが開くように第1磁石13に取り付けられた有底筒状のプレート14と、プレート14の内底面に取り付けられた第2磁石15と、ヨーク12の開口及びプレート14の開口から突出せず、プレート14の内周との間に第2ギャップが開くように第2磁石15に取り付けられたセンターポール16と、第1ボイスコイル17と、低音用振動板18と、第2ボイスコイル19と、高音用振動板20と、を備えたことを特徴とする。
【選択図】図1
特許請求の範囲
【請求項1】
磁性体で音放射側に開口する有底筒状に形成されたヨークと、
前記ヨークの内底面に取り付けられた第1磁石と、
磁性体で前記音放射側に開口する有底筒状に形成され、前記ヨークの内周との間に環状の第1ギャップが開くように、前記第1磁石に取り付けられて前記ヨークに収められたプレートと、
前記プレートの内底面に取り付けられた第2磁石と、
磁性体で形成され、且つ前記プレートの内周との間に環状の第2ギャップが開くように、前記第2磁石に取り付けられて前記プレートに収められたセンターポールと、
前記第1ギャップに、軸方向について移動可能に配置される第1ボイスコイルと、
前記第1ギャップよりも前記音放射側に配置されて前記第1ボイスコイルに結合される環状の低音用振動板と、
前記第2ギャップに、前記軸方向について移動可能に配置される第2ボイスコイルと、
前記低音用振動板の内周開口の大きさ以下に形成されて前記内周開口の内側に配置され、前記第2ボイスコイルに結合される高音用振動板と、
を備え、
前記ヨーク、前記第1磁石、及び前記プレートが、前記低音用振動板を振動させる低音用磁気回路を構成し、当該低音用磁気回路は、前記第1磁石を発した第1磁束が、前記プレートから前記第1ギャップを通って前記ヨークに至り、更に、当該ヨークを通って前記第1磁石に帰還する磁気回路となっており、
前記プレート、前記第2磁石、前記センターポール、前記ヨーク、及び前記第1磁石が、前記高音用振動板を振動させる高音用磁気回路を構成し、当該高音用磁気回路は、前記第2磁石を発した第2磁束が、前記センターポールから前記第2ギャップを通って前記プレートに至り、更に、当該プレートにおいて前記第1磁束と合流しつつ前記第1ギャップを通って前記ヨークに至り、前記第1磁束とともに前記ヨークを通って前記第1磁石に達して前記第1磁束と別れ、その後、前記プレートを通って前記第2磁石に帰還する磁気回路となっていることを特徴とする複合スピーカ装置。
続きを表示(約 1,000 文字)
【請求項2】
前記センターポールは、前記音放射側の端部が前記ヨーク及び前記プレートの両方の開口から突出していないことを特徴とする請求項1に記載の複合スピーカ装置。
【請求項3】
前記第1ギャップ及び前記第2ギャップが、前記軸方向について互いに同位置となるように配置されていることを特徴とする請求項1又は2に記載の複合スピーカ装置。
【請求項4】
前記ヨークの開口、前記プレートの開口、及び前記センターポールにおける前記音放射側の端部、が前記軸方向について互いに同位置となるように配置されていることを特徴とする請求項1~3のうち何れか一項に記載の複合スピーカ装置。
【請求項5】
前記低音用振動板が、環状のコーン型の振動板であり、
前記高音用振動板が、ドーム部分と、当該ドーム部分の外周から環状に張り出したコーン部分と、を有するドーム/コーン型の振動板であり、
前記低音用振動板の傾斜と、前記高音用振動板における前記コーン部分の傾斜と、が互いに一致していることを特徴とする請求項1~4のうち何れか一項に記載の複合スピーカ装置。
【請求項6】
前記コーン部分を含む前記高音用振動板は、前記低音用振動板の内周開口の大きさよりも小さな形状に形成され、
前記高音用振動板における前記コーン部分の外周を保持するとともに、前記低音用振動
板の内周開口の内周と前記コーン部分の外周との間を埋める高音用フレームを更に備え、
前記高音用フレームは、前記音放射側の端面が、前記低音用振動板の傾斜、及び前記高音用振動板における前記コーン部分の傾斜と一致して傾斜し、一連なりの擂鉢状の面を構成する傾斜面となっていることを特徴とする請求項5に記載の複合スピーカ装置。
【請求項7】
前記ヨーク、前記プレート、前記センターポール、前記低音用振動板、及び前記高音用振動板、が互いに同軸となるように配置されていることを特徴とする請求項1~6のうち何れか一項に記載の複合スピーカ装置。
【請求項8】
前記プレートが、有底筒状のプレート本体と、当該プレート本体の開口から環状に張り出したフランジ部分と、を有しており、
前記第1ギャップは、前記フランジ部分の外周と前記ヨークの内周との間のギャップであることを特徴とする請求項1~7のうち何れか一項に記載の複合スピーカ装置。
発明の詳細な説明
【技術分野】
【0001】
本発明は、複合スピーカ装置に関する。
続きを表示(約 3,500 文字)
【背景技術】
【0002】
従来、低音用振動板と高音用振動板を備えた複合スピーカ装置が知られている(例えば、特許文献1参照。)。特許文献1に記載の複合スピーカ装置では、高音用振動板を振動させるための磁気回路の構成部品を、低音用振動板を振動させるための磁気回路の構成部品が兼ねることで、部品点数の削減等が図られている。
【先行技術文献】
【特許文献】
【0003】
特開2002-078086号公報
【発明の概要】
【発明が解決しようとする課題】
【0004】
ここで、上述の複合スピーカ装置では、高音/低音兼用部品の内部を、高音用及び低音用それぞれの磁束が通過する。このとき、磁束の一部が互いに逆向きに通過して打ち消し合い十分に利用されていない等というように、磁束の利用効率の点で改善の余地が見られる。磁束の利用効率の向上は、磁束を供給する磁石や周辺構造の小型化に繋がることから、複合スピーカ装置のサイズ面から望ましいことである。
【0005】
したがって、本発明の課題は、磁気回路における磁束の利用効率を高めることができる複合スピーカ装置を提供すること等が一例として挙げられる。
【課題を解決するための手段】
【0006】
前述した課題を解決し目的を達成するために、本発明の複合スピーカ装置は、磁性体で音放射側に開口する有底筒状に形成されたヨークと、前記ヨークの内底面に取り付けられた第1磁石と、磁性体で前記音放射側に開口する有底筒状に形成され、前記ヨークの内周との間に環状の第1ギャップが開くように、前記第1磁石に取り付けられて前記ヨークに収められたプレートと、前記プレートの内底面に取り付けられた第2磁石と、磁性体で形成され、前記音放射側の端部が前記ヨーク及び前記プレートの両方の開口から突出せず、且つ前記プレートの内周との間に環状の第2ギャップが開くように、前記第2磁石に取り付けられて前記プレートに収められたセンターポールと、前記第1ギャップに、軸方向について移動可能に配置される第1ボイスコイルと、前記第1ギャップよりも前記音放射側に配置されて前記第1ボイスコイルに結合される環状の低音用振動板と、前記第2ギャップに、前記軸方向について移動可能に配置される第2ボイスコイルと、前記低音用振動板の内周開口の大きさ以下に形成されて前記内周開口の内側に配置され、前記第2ボイスコイルに結合される高音用振動板と、を備え、前記ヨーク、前記第1磁石、及び前記プレートが、前記低音用振動板を振動させる低音用磁気回路を構成し、当該低音用磁気回路は、前記第1磁石を発した第1磁束が、前記プレートから前記第1ギャップを通って前記ヨークに至り、更に、当該ヨークを通って前記第1磁石に帰還する磁気回路となっており、前記プレート、前記第2磁石、前記センターポール、前記ヨーク、及び前記第1磁石が、前記高音用振動板を振動させる高音用磁気回路を構成し、当該高音用磁気回路は、前記第2磁石を発した第2磁束が、前記センターポールから前記第2ギャップを通って前記プレートに至り、更に、当該プレートにおいて前記第1磁束と合流しつつ前記第1ギャップを通って前記ヨークに至り、前記第1磁束とともに前記ヨークを通って前記第1磁石に達して前記第1磁束と別れ、その後、前記プレートを通って前記第2磁石に帰還する磁気回路となっていることを特徴とする。
【図面の簡単な説明】
【0007】
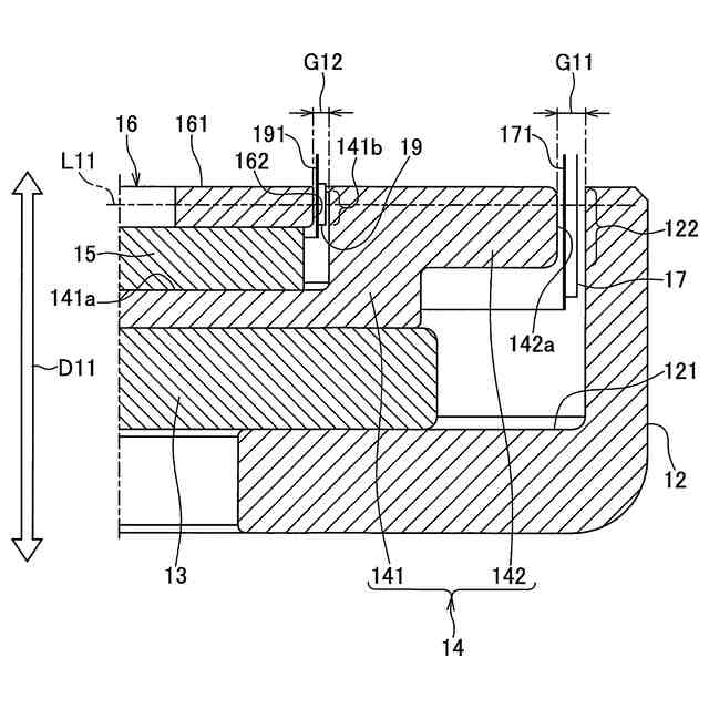
一実施例にかかる複合スピーカ装置を音放射方向に沿った断面で示した断面図である。
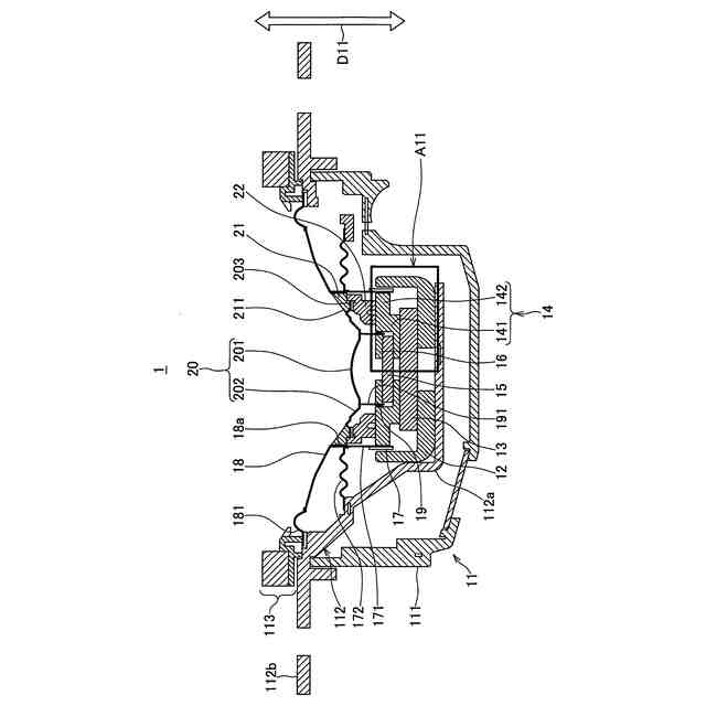
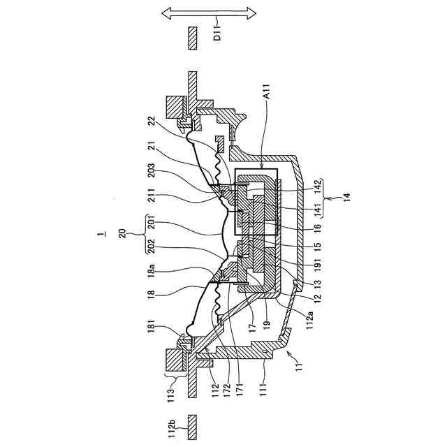
図1における領域A11の拡大図である。
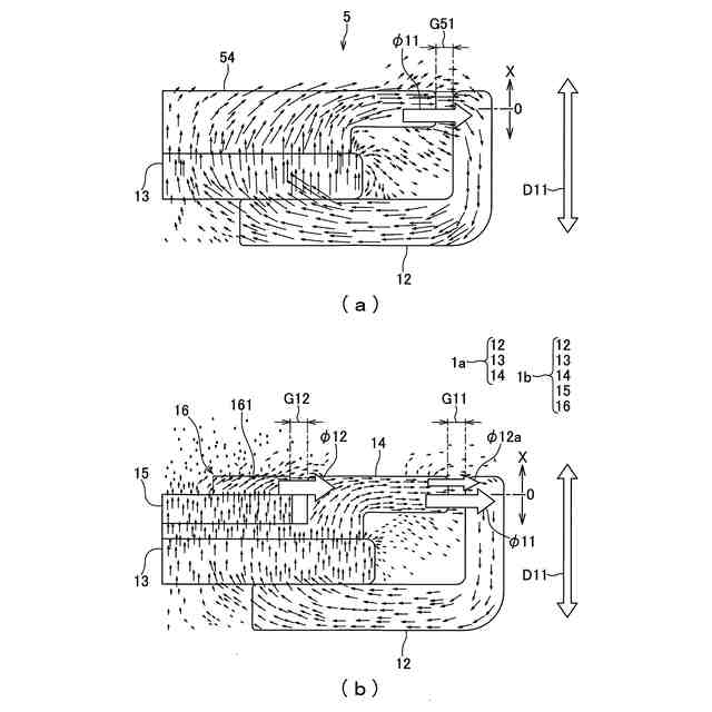
図1及び図2に示されている複合スピーカ装置においてボイスコイルを振動させるための磁気回路を、その回路中を流れる磁束とともに示す模式図である。
図3に示されている第1ギャップ及び単一ギャップそれぞれにおける磁束の通過量の差異を、各ギャップにおける磁束密度の分布で示した図である。
図3に示されている磁束の合流が、図1~図3に示されているプレートへのセンターポールの収容形態によって実現されることを、比較例を挙げて説明する説明図である。
【発明を実施するための形態】
【0008】
以下、本発明の一実施形態にかかる複合スピーカ装置を説明する。本発明の一実施形態にかかる複合スピーカ装置は、ヨークと、第1磁石と、プレートと、第2磁石と、センターポールと、第1ボイスコイルと、低音用振動板と、第2ボイスコイルと、高音用振動板と、を備えている。ヨークは、磁性体で音放射側に開口する有底筒状に形成された部材である。第1磁石は、ヨークの内底面に取り付けられた磁石部材である。プレートは、磁性体で音放射側に開口する有底筒状に形成され、ヨークの内周との間に環状の第1ギャップが開くように、第1磁石に取り付けられてヨークに収められた部材である。第2磁石は、プレートの内底面に取り付けられた磁石部材である。センターポールは、磁性体で形成され、音放射側の端部がヨーク及びプレートの両方の開口から突出せず、且つプレートの内周との間に環状の第2ギャップが開くように、第2磁石に取り付けられてプレートに収められた部材である。第1ボイスコイルは、第1ギャップに、軸方向について移動可能に配置されるコイル部材である。低音用振動板は、第1ギャップよりも音放射側に配置されて第1ボイスコイルに結合される環状の振動板部材である。第2ボイスコイルは、第2ギャップに、軸方向について移動可能に配置されるコイル部材である。高音用振動板は、低音用振動板の内周開口の大きさ以下に形成されて内周開口の内側に配置され、第2ボイスコイルに結合される振動板部材である。
【0009】
この複合スピーカ装置では、ヨーク、第1磁石、及びプレートによって、低音用振動板を振動させる磁気回路が構成される。第1磁石を発した磁束は、プレートから第1ギャップを通ってヨークに至り、更に、ヨークを通って第1磁石に帰還する。他方、高音用振動板を振動させる磁気回路は、プレート、第2磁石、センターポール、ヨーク、及び第1磁石によって構成される。第2磁石を発した磁束は、センターポールから第2ギャップを通ってプレートに至る。このとき、プレートには第1ギャップを通ってヨークへと向かう第1磁石からの磁束の流れが形成されている。本実施形態では、センターポールは、音放射側の端部がヨーク及びプレートの両方の開口から突出しないようにプレートに収められており、第2磁石からの磁束は、第1磁石からの磁束の流れと略同じ方向でプレートに至ることとなる。その結果、第2磁石からの磁束の多くが、プレートにおいて第1磁石からの磁束と合流し、プレートから第1ギャップを通ってヨークへと向かうこととなる。これら2種類の磁束はヨークを通って第1磁石に至り、ここで第2磁石からの磁束が第1磁石からの磁束と別れ、プレートを通って第2磁石に帰還する。このように、本実施形態では、第1磁石からの磁束と第2磁石からの磁束とがプレートにおいて合流して第1ギャップを通るように構成されている。第1のギャップの磁束は、第1ボイスコイルを介した低音用振動板の振動に使われるが、この磁束として上述のように2つの磁石からの合流磁束が使われることとなっており、磁気回路における磁束の利用効率を高めることができる。そして、このような磁束の利用効率の向上を見越して、第1磁石の小型化が可能となり、延いては複合スピーカの小型化及び軽量化を図ることができる。
【0010】
ここで、第2ギャップ及び第1ギャップが、軸方向について互いに同位置となるように配置されていることが好適である。この構成によれば、第2ギャップを通過する第2磁石からの磁束が、第1ギャップを通過してヨークへと向かう第1磁石からの磁束と合流し易く、磁気回路における磁束の利用効率を一層高めることができる。また、上記の構成によれば、軸方向について、第1ギャップにおける第1ボイスコイルを介した低音用振動板の振動発生位置と、第2ギャップにおける第2ボイスコイルを介した高音用振動板の振動発生位置と、が互いに一致することとなる。これにより、聴き手に、低音と高音とを奥行方向について同じ位置から発した音として聴かせることができ、複合スピーカにおける音質を向上させることができる。
(【0011】以降は省略されています)
この特許をJ-PlatPat(特許庁公式サイト)で参照する
関連特許
パイオニア株式会社
情報処理装置、制御方法、プログラム及び記憶媒体
1か月前
パイオニア株式会社
情報処理装置、制御方法、プログラム及び記憶媒体
1か月前
パイオニア株式会社
情報処理装置、情報処理方法および情報処理プログラム
1か月前
パイオニア株式会社
情報処理装置、情報処理方法および情報処理プログラム
1か月前
パイオニア株式会社
情報処理装置、情報処理方法および情報処理プログラム
1か月前
パイオニア株式会社
情報処理装置、情報処理方法および情報処理プログラム
1か月前
パイオニア株式会社
情報処理装置、情報処理方法および情報処理プログラム
1か月前
パイオニア株式会社
情報処理装置、情報処理方法および情報処理プログラム
1か月前
パイオニア株式会社
情報処理装置、情報処理方法および情報処理プログラム
1か月前
パイオニア株式会社
情報処理装置、情報処理方法、および情報処理プログラム
1か月前
パイオニア株式会社
センサ装置
1か月前
パイオニア株式会社
光制御装置
23日前
パイオニア株式会社
光制御装置
23日前
パイオニア株式会社
情報処理装置
1か月前
パイオニア株式会社
情報処理装置
1か月前
パイオニア株式会社
情報処理装置
1か月前
パイオニア株式会社
表示制御装置
1か月前
パイオニア株式会社
情報表示装置
11日前
パイオニア株式会社
情報処理装置
1か月前
パイオニア株式会社
音声出力装置
1か月前
パイオニア株式会社
情報出力装置
1か月前
パイオニア株式会社
効果音出力装置
1か月前
パイオニア株式会社
複合スピーカ装置
2日前
パイオニア株式会社
ナビゲーション装置
1か月前
パイオニア株式会社
情報処理装置、端末装置
1か月前
パイオニア株式会社
表示装置および表示装置の駆動方法
1か月前
パイオニア株式会社
案内情報生成装置及び案内情報生成方法
1か月前
パイオニア株式会社
認識装置、認識方法及び認識プログラム
19日前
パイオニア株式会社
制御装置、制御方法及び制御用プログラム
1か月前
パイオニア株式会社
撮影装置、制御方法、プログラム及び記憶媒体
1か月前
パイオニア株式会社
予測装置、予測方法、予測プログラム及び記憶媒体
1か月前
パイオニア株式会社
情報処理装置、制御方法、プログラム及び記憶媒体
1か月前
パイオニア株式会社
表示装置、表示方法、プログラム、及び、記憶媒体
1か月前
パイオニア株式会社
推定装置、システム、推定方法、およびプログラム
1か月前
パイオニア株式会社
情報処理装置、制御方法、プログラム及び記憶媒体
1か月前
パイオニア株式会社
情報処理装置、判定方法、プログラム及び記憶媒体
9日前
続きを見る
他の特許を見る