TOP
|
特許
|
意匠
|
商標
特許ウォッチ
Twitter
他の特許を見る
10個以上の画像は省略されています。
公開番号
2025152947
公報種別
公開特許公報(A)
公開日
2025-10-10
出願番号
2024055137
出願日
2024-03-29
発明の名称
情報処理装置、情報処理方法および情報処理プログラム
出願人
パイオニア株式会社
代理人
個人
主分類
G01C
21/26 20060101AFI20251002BHJP(測定;試験)
要約
【課題】コンテンツが出力される機会を増やすこと。
【解決手段】情報処理装置は、異なる複数の発話エージェント装置によって提供されたコンテンツを端末装置に送信し、配信部と、選択部とを備える。配信部は、発話エージェント装置それぞれに付与された優先順位に基づいて、コンテンツの出力条件が定義された、コンテンツの提供要求を前記発話エージェント装置に配信する。選択部は、コンテンツの提供要求に応じて提供された候補コンテンツのコンテンツ長に基づいて、候補コンテンツの中から、端末装置に送信される対象コンテンツを選択する。
【選択図】図11
特許請求の範囲
【請求項1】
異なる複数の発話エージェント装置によって提供されたコンテンツを端末装置に送信する情報処理装置であって、
前記発話エージェント装置それぞれに付与された優先順位に基づいて、コンテンツの出力条件が定義された、コンテンツの提供要求を前記発話エージェント装置に配信する配信部と、
前記コンテンツの提供要求に応じて提供された候補コンテンツのコンテンツ長に基づいて、前記候補コンテンツの中から、前記端末装置に送信される対象コンテンツを選択する選択部と、
を備える情報処理装置。
続きを表示(約 2,000 文字)
【請求項2】
前記優先順位を決定する決定部をさらに備え、
前記決定部は、コンテンツが出力されてから経過した経過時間の長さ、前記端末装置を有するユーザの嗜好性と前記発話エージェント装置が提供可能なコンテンツのジャンルとの類似性、前記端末装置の位置、現在の時間帯、または、前記発話エージェント装置にコンテンツを入稿した入稿元が支払うコンテンツ料金に基づいて、前記発話エージェント装置の間で前記優先順位を決定する
請求項1に記載の情報処理装置。
【請求項3】
前記配信部は、前記発話エージェント装置のうち、前記優先順位が高い上位所定数の発話エージェント装置に対してのみ前記コンテンツの提供要求を配信する
請求項1に記載の情報処理装置。
【請求項4】
前記配信部は、前記発話エージェント装置のうち、前記優先順位が高い発話エージェント装置ほど、前記コンテンツの提供要求に応じてコンテンツを提供できる期間である提供可能期間を有利に設定し、設定した提供可能期間を含む前記コンテンツの提供要求を、複数の前記発話エージェント装置の全てに配信する
請求項1に記載の情報処理装置。
【請求項5】
コンテンツの出力を許可する区間である出力可能区間を示す情報を前記出力条件として含む前記コンテンツの提供要求を前記端末装置から受信する受信部をさらに備え、
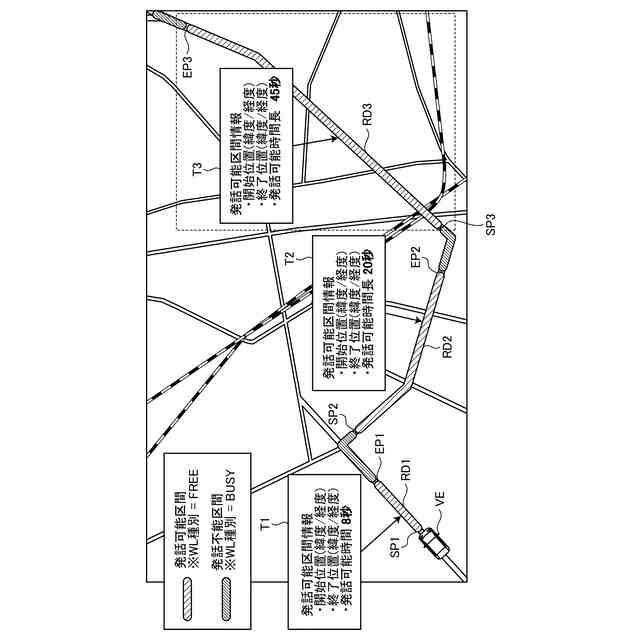
前記出力可能区間を示す情報は、前記端末装置を搭載する移動体が走行する走行経路に含まれる道路区間ごとに、当該道路区間が、基準値と比較して運転負荷が低いことを示す第1の種別、または、基準値と比較して運転負荷が高いことを示す第2の種別のいずれであるかを推定された推定結果に基づき前記端末装置によって生成される
請求項1に記載の情報処理装置。
【請求項6】
前記出力可能区間を示す情報には、前記第1の種別と推定された道路区間でコンテンツを出力させることが可能な時間長である出力可能時間が含まれ、
前記選択部は、前記コンテンツの提供要求に応じて提供された候補コンテンツのコンテンツ長と、前記出力可能時間とに基づいて、前記出力可能時間を有効活用可能な前記候補コンテンツの組合せを、前記対象コンテンツとして選択する
請求項5に記載の情報処理装置。
【請求項7】
前記選択部は、前記コンテンツの提供要求に応じて提供された候補コンテンツのうち、コンテンツ長の差が所定間隔以上離れる候補コンテンツの組合せの中から、前記出力可能時間を有効活用可能な前記候補コンテンツの組合せを前記優先順位に基づき選択する
請求項6に記載の情報処理装置。
【請求項8】
前記出力可能区間を示す情報には、前記第1の種別と推定された道路区間において、コンテンツの出力を開始させる位置である開始位置と、コンテンツの出力を終了させる位置である終了位置とが含まれ、
前記発話エージェント装置は、前記開始位置と前記終了位置とに基づき生成された範囲において、コンテンツの主題となる場所を探索し、探索結果の場所に基づきコンテンツの出力タイミングを定義する地理的範囲を設定し、
前記選択部は、前記コンテンツの提供要求に応じて提供された候補コンテンツのうち、互いに前記地理的範囲が重複しない、または、重複する領域が所定値以下の候補コンテンツの組合せの中から、前記出力可能時間を有効活用可能な前記候補コンテンツの組合せを前記優先順位に基づき選択する
請求項6に記載の情報処理装置。
【請求項9】
異なる複数の発話エージェント装置によって提供されたコンテンツを端末装置に送信する情報処理装置が実行する情報処理方法であって、
前記発話エージェント装置それぞれに付与された優先順位に基づいて、コンテンツの出力条件が定義された、コンテンツの提供要求を前記発話エージェント装置に配信する配信工程と、
前記コンテンツの提供要求に応じて提供された候補コンテンツのコンテンツ長に基づいて、前記候補コンテンツの中から、前記端末装置に送信される対象コンテンツを選択する選択工程と、
を含む情報処理方法。
【請求項10】
異なる複数の発話エージェント装置によって提供されたコンテンツを端末装置に送信する情報処理装置が実行する情報処理プログラムであって、
前記発話エージェント装置それぞれに付与された優先順位に基づいて、コンテンツの出力条件が定義された、コンテンツの提供要求を前記発話エージェント装置に配信する配信手順と、
前記コンテンツの提供要求に応じて提供された候補コンテンツのコンテンツ長に基づいて、前記候補コンテンツの中から、前記端末装置に送信される対象コンテンツを選択する選択手順と、
を前記情報処理装置に実行させる情報処理プログラム。
発明の詳細な説明
【技術分野】
【0001】
本発明は、情報処理装置、情報処理方法および情報処理プログラムに関する。
続きを表示(約 1,700 文字)
【背景技術】
【0002】
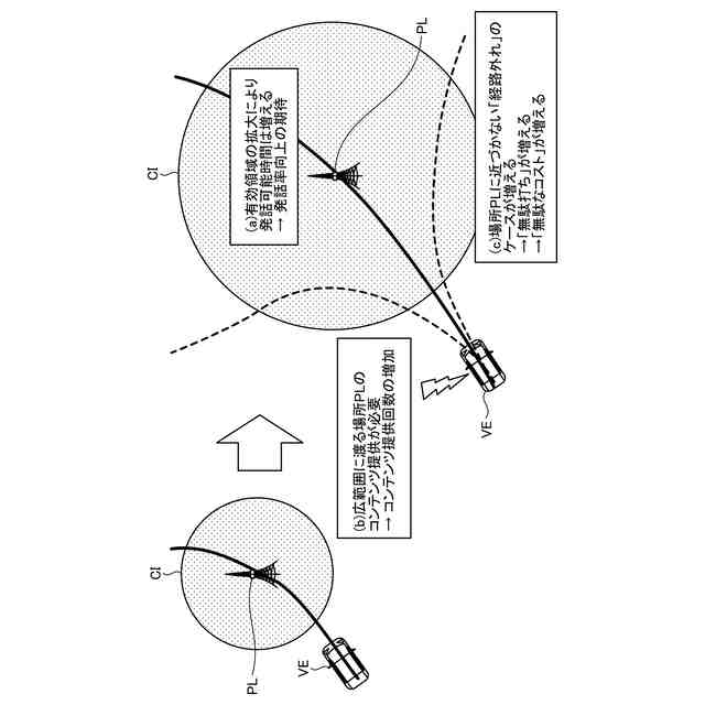
指定された領域の中に移動体が位置している場合に、その領域を指定した発話エージェントのコンテンツを移動体のユーザに向けて出力させる位置指定発話という技術が存在する。位置指定発話では、発話エージェントが提供したコンテンツのうち、基準値と比較して運転負荷が低い道路区間を移動体が走行している間に出力を完了させることのできるコンテンツが出力される場合がある。
【先行技術文献】
【特許文献】
【0003】
特開2023-127377号公報
【発明の概要】
【発明が解決しようとする課題】
【0004】
例えば、位置指定発話では、発話エージェントを制御する発話エージェント装置それぞれによるプッシュ形式でのコンテンツ提供が行われる。例えば、発話エージェント装置が複数存在する場合には、発話エージェント装置それぞれが提供したコンテンツを移動体側(すなわちエッジ側)の端末装置に送信し、端末装置が出力可能時間等の移動体側の状況に基づき出力可能なコンテンツを選択する。
【0005】
このとき、発話エージェント装置それぞれが提供したコンテンツの間でコンテンツ長が偏ってしまうと、端末装置は、適切にコンテンツを選択することができず、コンテンツが出力される機会を増やすことができなくなってしまうという問題がある。例えば、端末装置は、出力可能時間を有効活用するようなコンテンツを選択できず、一部の少数のコンテンツのみ出力可能時間の間に出力させるに留まり、さらなるコンテンツを出力させ得る余白時間が出来てしまうという問題がある。
【0006】
上記の従来技術では、端末装置が適切にコンテンツを選択できるような仕組みが考慮されておらず、コンテンツが出力される機会を増やす点で改善の余地がある。
【0007】
本発明は、上記に鑑みてなされたものであって、コンテンツが出力される機会を増やすことができる情報処理装置、情報処理方法および情報処理プログラムを提供する。
【課題を解決するための手段】
【0008】
請求項1に係る情報処理装置は、異なる複数の発話エージェント装置によって提供されたコンテンツを端末装置送信する情報処理装置であって、前記発話エージェント装置それぞれに付与された優先順位に基づいて、コンテンツの出力条件が定義された、コンテンツの提供要求を前記発話エージェント装置に配信する配信部と、前記コンテンツの提供要求に応じて提供された候補コンテンツのコンテンツ長に基づいて、前記候補コンテンツの中から、前記端末装置に送信される対象コンテンツを選択する選択部と、を備える。
【0009】
請求項9に係る情報処理方法は、異なる複数の発話エージェント装置によって提供されたコンテンツを端末装置に送信する情報処理装置が実行する情報処理方法であって、前記発話エージェント装置それぞれに付与された優先順位に基づいて、コンテンツの出力条件が定義された、コンテンツの提供要求を前記発話エージェント装置に配信する配信工程と、前記コンテンツの提供要求に応じて提供された候補コンテンツのコンテンツ長に基づいて、前記候補コンテンツの中から、前記端末装置に送信される対象コンテンツを選択する選択工程と、を含む。
【0010】
請求項10に係る情報処理プログラムは、異なる複数の発話エージェント装置によって提供されたコンテンツを端末装置に送信する情報処理装置が実行する情報処理プログラムであって、前記発話エージェント装置それぞれに付与された優先順位に基づいて、コンテンツの出力条件が定義された、コンテンツの提供要求を前記発話エージェント装置に配信する配信手順と、前記コンテンツの提供要求に応じて提供された候補コンテンツのコンテンツ長に基づいて、前記候補コンテンツの中から、前記端末装置に送信される対象コンテンツを選択する選択手順と、を前記情報処理装置に実行させる。
【図面の簡単な説明】
(【0011】以降は省略されています)
この特許をJ-PlatPat(特許庁公式サイト)で参照する
関連特許
パイオニア株式会社
光制御装置
23日前
パイオニア株式会社
光制御装置
23日前
パイオニア株式会社
情報表示装置
11日前
パイオニア株式会社
情報処理装置
1か月前
パイオニア株式会社
情報処理装置
1か月前
パイオニア株式会社
情報処理装置
1か月前
パイオニア株式会社
複合スピーカ装置
2日前
パイオニア株式会社
情報処理装置、端末装置
1か月前
パイオニア株式会社
認識装置、認識方法及び認識プログラム
19日前
パイオニア株式会社
制御装置、制御方法及び制御用プログラム
1か月前
パイオニア株式会社
撮影装置、制御方法、プログラム及び記憶媒体
1か月前
パイオニア株式会社
情報処理装置、判定方法、プログラム及び記憶媒体
9日前
パイオニア株式会社
表示装置、表示方法、プログラム、及び、記憶媒体
1か月前
パイオニア株式会社
情報記録装置、情報記録方法及び情報記録用プログラム
23日前
パイオニア株式会社
姿勢推定装置、姿勢推定方法、プログラム及び記憶媒体
2日前
パイオニア株式会社
車載装置、情報処理方法、情報管理装置及び情報管理方法
9日前
パイオニア株式会社
携帯端末装置、情報処理装置、連携システム及び表示制御方法
16日前
パイオニア株式会社
視線誘導装置、視線誘導方法、視線誘導プログラム及び記憶媒体
2日前
パイオニア株式会社
通信端末、通信方法、通信プログラム、通信プログラムを格納した記録媒体および情報処理装置
9日前
パイオニア株式会社
情報処理装置、情報処理方法、情報処理プログラム及び情報処理プログラムを記録したコンピュータ読み取り可能な記録媒体
11日前
個人
視触覚センサ
2日前
個人
採尿及び採便具
1か月前
日本精機株式会社
検出装置
1か月前
個人
計量機能付き容器
27日前
甲神電機株式会社
電流検出装置
1か月前
日本精機株式会社
発光表示装置
10日前
株式会社ミツトヨ
測定器
1か月前
株式会社カクマル
境界杭
17日前
株式会社トプコン
測量装置
9日前
ユニパルス株式会社
トルク変換器
2日前
ユニパルス株式会社
トルク変換器
2日前
ユニパルス株式会社
トルク変換器
2日前
大成建設株式会社
風洞実験装置
27日前
日本特殊陶業株式会社
ガスセンサ
25日前
個人
計量具及び計量機能付き容器
27日前
日本特殊陶業株式会社
ガスセンサ
2日前
続きを見る
他の特許を見る