TOP
|
特許
|
意匠
|
商標
特許ウォッチ
Twitter
他の特許を見る
公開番号
2025159005
公報種別
公開特許公報(A)
公開日
2025-10-17
出願番号
2025128265,2024035540
出願日
2025-07-31,2015-12-24
発明の名称
決定装置、決定方法、決定プログラム及び記録媒体
出願人
パイオニア株式会社
代理人
弁理士法人インテクト国際特許事務所
,
個人
主分類
G06F
3/04842 20220101AFI20251009BHJP(計算;計数)
要約
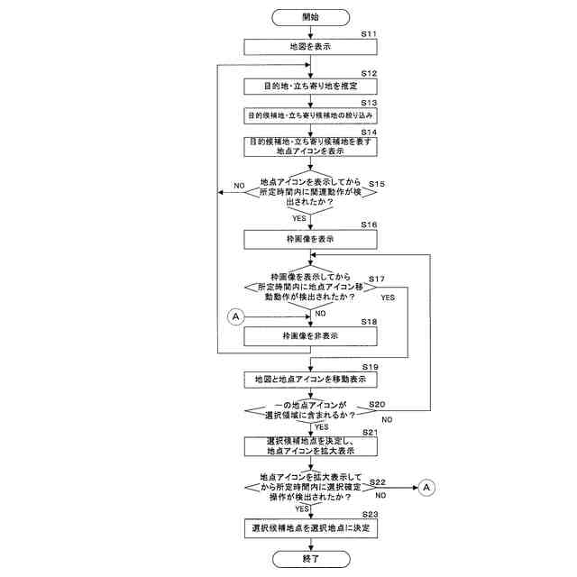
【課題】操作部に対する操作をハンドルから手を離して行う必要がなく、操作者が地図上に表示される地点のうち選択対象の候補である選択候補地点を決定することができる決定装置等を提供する。
【解決手段】ハンドルに付された操作部に対する操作者の操作を受け付け、画面上に表示される地図に地点を表す地点画像を表示させ、操作者の操作に応じて、地点画像の画面上の位置又は画面に設定された選択部の位置を移動させ、画面における地点画像と選択部の位置関係に基づいて選択候補地点を決定する。
【選択図】図6
特許請求の範囲
【請求項1】
移動体のハンドルに付された操作部に対する操作者の操作を受け付ける受付手段と、
画面上の地図に前記操作者に提示する地点を表す地点画像を表示させ、前記操作に応じて、前記地点画像の前記画面上の位置又は前記画面に設定された選択部の位置を移動させる表示制御手段と、
前記地点画像と前記選択部の位置関係に基づいて、選択対象の候補となる選択候補地点を決定する決定手段と、
を備えることを特徴とする決定装置。
発明の詳細な説明
【技術分野】
【0001】
本願は、地図上に表示される地点のうち操作者の選択対象の候補となる選択候補地点を決定する決定装置等の技術分野に関する。
続きを表示(約 1,900 文字)
【背景技術】
【0002】
従来、自動車等の移動体とともに移動し、経路案内等を行うナビゲーション装置が普及している。こうしたナビゲーション装置などの情報提供装置では、地図上にレストランや公園など目的地となりうる地点を表す画像を表示し、操作者により画像が選択された場合に、当該画像が表す地点が選択されたと判定し、当該地点を目的地に設定するなどの処理を行う。その際、操作者によるどのような操作によって画像を選択できるようにするかが、安全運転を考える上で重要となる。
【0003】
一方で、画面に表示される項目のうち何れの項目が選択されたかを判定する手法が多々提案されている。例えば、特許文献1には、操作画面に表示された複数の操作項目のうち何れかの操作項目を操作面の小さな入力装置を用いて選択する技術が開示されている。具体的には、タッチ操作が可能な操作面を備える入力装置と、複数の操作項目を含む操作画面を表示するディスプレイと、処理装置とを備え、処理装置はディスプレイに、入力装置により操作可能な画面範囲を表す枠であって、複数の操作項目のうちの一部の操作項目のみを囲む枠を表示する。そしてユーザによる枠移動操作に応じて枠の位置を移動させた後、枠内の操作項目に対するユーザによる選択操作に応じてユーザが選択した操作項目を特定する。すなわち、ユーザは枠を移動させて選択候補の操作項目を限定し、次いで、枠内の選択候補の中から実際に選択する操作項目を指定する。
【先行技術文献】
【特許文献】
【0004】
特開2013-33343号公報
【発明の概要】
【発明が解決しようとする課題】
【0005】
しかしながら、特許文献1には、操作面(タッチパッド)を自動車のセンターコンソールやインストルメントパネルに配置する旨が開示されており、自動車の運転手はタッチ操作を行うためにハンドルから手を離して操作を行う必要があり安全運転に支障を及ぼす場合がある。
【0006】
本願発明は、こうした事情に鑑み、操作部に対する操作をハンドルから手を離して行う必要がなく、操作者が地図上に表示される地点のうち選択対象の候補である選択候補地点を決定することができる決定装置等を提供することを課題とする。
【課題を解決するための手段】
【0007】
請求項1に記載の発明は、移動体のハンドルに付された操作部に対する操作者の操作を受け付ける受付手段と、画面上の地図に前記操作者に提示する地点を表す地点画像を表示させ、前記操作に応じて、前記地点画像の前記画面上の位置又は前記画面に設定された選択部の位置を移動させる表示制御手段と、前記地点画像と前記選択部の位置関係に基づいて、選択対象の候補となる選択候補地点を決定する決定手段と、を備えることを特徴とする。
【0008】
請求項14に記載の発明は、決定装置が行う決定方法であって、移動体のハンドルに付された操作部に対する操作者の操作を受け付ける受付工程と、画面上の地図に前記操作者に提示する地点を表す地点画像を表示させ、前記操作に応じて、前記地点画像の前記画面上の位置又は前記画面に設定された選択部の位置を移動させる表示制御工程と、前記地点画像と前記選択部の位置関係に基づいて、選択対象の候補となる選択候補地点を決定する決定工程と、を含むことを特徴とする。
【0009】
請求項15に記載の発明は、コンピュータを、移動体のハンドルに付された操作部に対する操作者の操作を受け付ける受付手段、画面上の地図に前記操作者に提示する地点を表す地点画像を表示させ、前記操作に応じて、前記地点画像の前記画面上の位置又は前記画面に設定された選択部の位置を移動させる表示制御手段、前記地点画像と前記選択部の位置関係に基づいて、選択対象の候補となる選択候補地点を決定する決定手段、として機能させることを特徴とする。
【0010】
請求項16に記載の発明は、コンピュータを、移動体のハンドルに付された操作部に対する操作者の操作を受け付ける受付手段、画面上の地図に前記操作者に提示する地点を表す地点画像を表示させ、前記操作に応じて、前記地点画像の前記画面上の位置又は前記画面に設定された選択部の位置を移動させる表示制御手段、前記地点画像と前記選択部の位置関係に基づいて、選択対象の候補となる選択候補地点を決定する決定手段、として機能させることを特徴とする決定プログラムを記録したコンピュータ読み取り可能な記録媒体である。
【図面の簡単な説明】
(【0011】以降は省略されています)
この特許をJ-PlatPat(特許庁公式サイト)で参照する
関連特許
パイオニア株式会社
情報処理装置、情報処理方法及びプログラム
15日前
パイオニア株式会社
情報処理装置、情報処理方法、及びプログラム
15日前
パイオニア株式会社
情報処理装置、制御方法、プログラム及び記憶媒体
14日前
パイオニア株式会社
情報処理装置、制御方法、プログラム及び記憶媒体
14日前
パイオニア株式会社
情報処理装置、情報処理方法および情報処理プログラム
14日前
パイオニア株式会社
情報処理装置、情報処理方法および情報処理プログラム
14日前
パイオニア株式会社
情報処理装置、情報処理方法および情報処理プログラム
14日前
パイオニア株式会社
情報処理装置、情報処理方法および情報処理プログラム
14日前
パイオニア株式会社
情報処理装置、情報処理方法および情報処理プログラム
14日前
パイオニア株式会社
情報処理装置、情報処理方法および情報処理プログラム
14日前
パイオニア株式会社
情報処理装置、情報処理方法および情報処理プログラム
14日前
パイオニア株式会社
情報処理装置、情報処理方法、および情報処理プログラム
14日前
パイオニア株式会社
入力装置
21日前
パイオニア株式会社
情報処理システム、情報処理方法、プログラム及び記録媒体
15日前
パイオニア株式会社
センサ装置
10日前
パイオニア株式会社
音声出力装置
9日前
パイオニア株式会社
表示制御装置
10日前
パイオニア株式会社
情報出力装置
7日前
パイオニア株式会社
ナビゲーション装置
10日前
パイオニア株式会社
表示装置および表示装置の駆動方法
10日前
パイオニア株式会社
通報装置、通報方法、及びプログラム
17日前
パイオニア株式会社
案内情報生成装置及び案内情報生成方法
10日前
パイオニア株式会社
推定装置、システム、推定方法、およびプログラム
2日前
パイオニア株式会社
予測装置、予測方法、予測プログラム及び記憶媒体
10日前
パイオニア株式会社
情報処理装置、制御方法、プログラム及び記憶媒体
9日前
パイオニア株式会社
決定装置、決定方法、決定プログラム及び記録媒体
7日前
パイオニア株式会社
情報処理装置、制御方法、プログラム及び記憶媒体
21日前
パイオニア株式会社
制御装置、制御方法、および、制御装置用プログラム
2日前
パイオニア株式会社
認識判定装置、認識判定方法及び認識判定プログラム
10日前
パイオニア株式会社
通信制御端末、通信制御方法及び通信制御プログラム
7日前
パイオニア株式会社
情報処理装置、情報出力方法、プログラム及び記憶媒体
10日前
パイオニア株式会社
料金算出装置、料金算出方法及び料金算出用プログラム
7日前
パイオニア株式会社
音出力制御装置、音出力制御方法および音出力制御プログラム
9日前
パイオニア株式会社
情報処理装置、情報処理方法、情報処理プログラム、及び記憶媒体
7日前
パイオニア株式会社
通信システム、通信装置、サーバ装置、通信方法、通信プログラム及び記憶媒体
10日前
個人
詐欺保険
10日前
続きを見る
他の特許を見る