TOP
|
特許
|
意匠
|
商標
特許ウォッチ
Twitter
他の特許を見る
公開番号
2025139330
公報種別
公開特許公報(A)
公開日
2025-09-26
出願番号
2024038207
出願日
2024-03-12
発明の名称
電力ケーブル接続部カバー
出願人
中国電力株式会社
代理人
弁理士法人維新国際特許事務所
,
個人
,
個人
主分類
H02G
15/10 20060101AFI20250918BHJP(電力の発電,変換,配電)
要約
【課題】製造コストが安く、屋外でも安全に使用できる電力ケーブル接続部カバーを提供する。
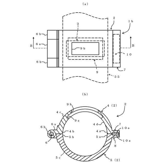
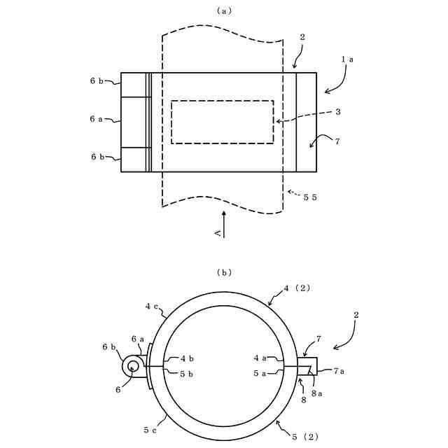
【解決手段】電力ケーブル接続部カバー1aは、軸棒6を介して開閉可能に連結された第1の半割体4及び第2の半割体5からなり、電力ケーブル接続部に装着されるポリカーボネート製のカバー本体2と、特定の温度になると変色するシート状の温度検知材からなり、カバー本体2の内部に設置される示温材3を備えており、第1の半割体4及び第2の半割体5の自由端4a、5aの外側面4c、5cには、突出部7、8が係合可能にそれぞれ設けられている。
【選択図】図1
特許請求の範囲
【請求項1】
電力ケーブルの接続箇所に設置される電力ケーブル接続部カバーであって、
前記接続箇所の表面に設置される示温材と、
この示温材を覆うように前記接続箇所に設置されるカバー本体と、を備え、
前記カバー本体は、少なくとも一部が前記示温材を視認し得る透明な部材によって形成されていることを特徴とする電力ケーブル接続部カバー。
続きを表示(約 560 文字)
【請求項2】
前記カバー本体は、軸棒を介して開閉自在に連結される一対の半割体からなることを特徴とする請求項1に記載の電力ケーブル接続部カバー。
【請求項3】
前記カバー本体は窓部を有し、
前記透明な部材によって形成されて前記示温材を覆うとともに前記窓部から露出するように前記カバー本体内に設置される板状部材を備えていることを特徴とする請求項2に記載の電力ケーブル接続部カバー。
【請求項4】
前記カバー本体が閉じられた状態を維持するための固定手段が一対の前記半割体の外側面に設けられていることを特徴とする請求項2又は請求項3に記載の電力ケーブル接続部カバー。
【請求項5】
一対の前記半割体には、自由端に突出部がそれぞれ設けられており、
前記固定手段は、前記突出部にそれぞれ内蔵された一対の磁石によって構成されており、
この一対の磁石は前記カバー本体が閉じられた状態で互いに近接するように又は接触するように配置されていることを特徴とする請求項4に記載の電力ケーブル接続部カバー。
【請求項6】
前記透明な部材がポリカーボネートであることを特徴とする請求項1乃至請求項3のいずれか1項に記載の電力ケーブル接続部カバー。
発明の詳細な説明
【技術分野】
【0001】
本発明は、電力ケーブルの接続箇所に設置されるカバーに係り、特に、当該箇所における接触不良に伴う発熱の有無を検出することが可能な電力ケーブル接続部カバーに関する。
続きを表示(約 2,800 文字)
【背景技術】
【0002】
電柱に設置されたSOG(高圧交流気中負荷開閉器)に接続される電力ケーブルの終端部には、碍管やゴムストレスコーンが装着された状態となっている。ここで、SOGに接続される電力ケーブルの終端部の構造について図5を用いて説明する。なお、図5は電力ケーブルの終端部の外観の一例を示した図である。
図5に示すように、電力ケーブル50は被覆が剥がされた状態の端部(図示せず)に、ゴムストレスコーン51と、先端にキャップ53が取り付けられるとともに内部に絶縁コンパウンドが充填された碍管52が装着されており、キャップ53と一体成形された端子54には、電力ケーブル50の導体端(図示せず)が固着されている。また、ゴムストレスコーン51の端部には、電力ケーブル50の一部にまたがるように巻かれた粘着性ポリエチレン絶縁テープ又は自己融着性絶縁テープによって保護層55が形成されている。さらに、ゴムストレスコーン51には、本体取付金具56が保護層55の上方に設置されており、保護層55の下方から錫メッキ軟銅線からなる接地線57が引き出されている。なお、3本の電力ケーブル50は、ゴムストレスコーン51の下方に設置されたケーブルブラケット58によって1本にまとめられている。
【0003】
このように電力ケーブル50が接続された部分(以下、電力ケーブル接続部という。)に接触不良が存在していると、その部分が発熱することにより、導体接続点の溶損や周辺の絶縁物の焼損を招き、最終的には地絡事故に繋がるおそれがある。そこで、従来、サーモトレーサーなどを用いて、上記部分における発熱の有無が確認されていた。しかしながら、このような方法では、サーモトレーサーの持ち運びや設置、あるいはその操作に手間がかかるため、接触不良に伴う発熱箇所を短時間で効率良く発見することが困難であった。
【0004】
接触不良による発熱箇所を発見する技術に関しては、例えば、特許文献1に「空気調和機等の差込プラグ」という名称で、空気調和機などの比較的大電流が流れる機器において、電気的な接触不良による発煙や発火などを防ぐことが可能な差込プラグに関する考案が開示されている。
特許文献1に開示された考案は、図面に示された符号を用いて説明すると、差込プラグ本体1の外表面中央に示温部4として、約45℃で変色するサーモラベル(登録商標)が貼付されたことを特徴としている。
このような構造によれば、空気調和機の差込プラグ本体1が差し込まれたコンセントが、例えば、天井の近くなどのように空気調和機の使用者が簡単には近づくことができない場所に設置されている場合であっても、作業者は示温部4の変色を目視で確認することにより、当該部分が発熱していることを短時間で効率良く発見することができる。
【0005】
また、特許文献2には「電力ケーブル接続部構造体及びそれに使用する温度検出部、温度感知装置」という名称で、地中配電線などの電力ケーブル接続部における異常発熱を感知して地絡事故や火災を防ぐ装置に関する考案が開示されている。
特許文献2に開示された考案は、図面に示された符号を用いて説明すると、電力ケーブル1が電力ケーブル接続部を構成するコネクター2、2、2を介して開閉器や変圧器などの電気機器3と接続されており、電力ケーブル接続部の環境温度の上昇に伴い、感温素子が溶融して回路を遮断する温度検出部4、4aがコネクター2、2、2に取り付けられた構造となっている。
このような構造によれば、電力ケーブルの接続部における異常発熱の遠隔監視を低コストで行うことができる。
【0006】
さらに、特許文献3には「導体異常発熱検出装置」という名称で、電気機器における導体の異常発熱を検出する装置に関する考案が開示されている。
特許文献3に開示された考案は、図面に示された符号を用いて説明すると、検出電極6の対向位置の電圧に応じた起電力を静電誘導により発生させて警報のための信号を出力する検電装置と、導体1の異常発熱の監視対象部位に付設された形状記憶合金4と、この形状記憶合金4に付設され、導体1に電気的に接続された可動電極5を備えており、形状記憶合金4が、導体1の異常発熱に対応する温度を越えた時に変形して可動電極5を検出電極6の対向位置まで変形させることを特徴としている。
このような構造によれば、導体1の異常発熱によって変形した形状記憶合金4により、可動電極5が電圧検出装置の対向位置に変位することで警報が出力されるため、人間による目視観察を必要としない。
【先行技術文献】
【特許文献】
【0007】
実開昭60-134282号公報
実開平6-60249号公報
実開平4-15030号公報
【発明の概要】
【発明が解決しようとする課題】
【0008】
特許文献1に開示された考案は、差込プラグ本体1の外表面にサーモラベルが貼付された構造であるため、屋外で使用した場合、サーモラベルが雨に濡れて剥がれてしまうおそれがある。特許文献2に開示された考案は、感温素子を有する回路によって温度検出部4が構成されているため、屋外で使用した場合、雨水などがかかってショートするおそれがあった。また、特許文献2に開示された考案は、温度検出部4を電力ケーブル接続部に設置する作業に手間がかかることに加え、製造コストが高いという課題もあった。さらに、特許文献3に開示された考案は、異常発熱の有無を検出する機構が複雑なため、安価に製造できないという課題があった。
【0009】
本発明は、このような従来の事情に対処してなされたものであり、製造コストが安く、屋外でも安全に使用できる電力ケーブル接続部カバーを提供することを目的とする。
【課題を解決するための手段】
【0010】
上記目的を達成するため、第1の発明は、電力ケーブルの接続箇所に設置される電力ケーブル接続部カバーであって、接続箇所の表面に設置される示温材と、この示温材を覆うように接続箇所に設置されるカバー本体と、を備え、カバー本体は、少なくとも一部が示温材を視認し得る透明な部材によって形成されていることを特徴とする。
このような構造の第1の発明においては、電力ケーブルの接続箇所の表面に設置された示温材がカバー本体で覆われており、風雨に曝されることがないため、劣化し難いという作用を有する。また、第1の発明は構造が簡単なため、製造コストが安いという作用を有する。
(【0011】以降は省略されています)
この特許をJ-PlatPat(特許庁公式サイト)で参照する
関連特許
中国電力株式会社
標示旗
1か月前
中国電力株式会社
養生シート
4日前
中国電力株式会社
電柱管理システム
10日前
中国電力株式会社
異常箇所検出装置
1か月前
中国電力株式会社
落雪損傷判定方法
5日前
中国電力株式会社
空き家判定システム
10日前
中国電力株式会社
鉄塔地際部雨よけ具
1か月前
中国電力株式会社
落雪損傷範囲推定装置
4日前
中国電力株式会社
安全装備チェックシステム
12日前
中国電力株式会社
需要及び電源想定システム
11日前
中国電力株式会社
電力ケーブル接続部カバー
24日前
中国電力株式会社
医薬品使用履歴登録システム
10日前
中国電力株式会社
容器内の水分量検知システム
10日前
中国電力株式会社
生体情報の異常検知システム
10日前
中国電力株式会社
品質判定装置及び品質判定方法
13日前
中国電力株式会社
配薬カートの医薬品提供システム
10日前
中国電力株式会社
分散型エネルギー資源管理システム
10日前
中国電力株式会社
沈砂池排砂方法及び沈砂池排砂システム
25日前
中国電力株式会社
配薬カートの引き出し方向制御システム
10日前
中国電力株式会社
充電部可視化装置、及び充電部可視化方法
11日前
中国電力株式会社
無人航空機を用いた検針方法、及び無人航空機
11日前
中国電力株式会社
管理対象者又は管理対象物の位置特定システム
10日前
中国電力株式会社
表示装置、撮像防止装置、表示方法およびプログラム
21日前
中国電力株式会社
文書作成支援システムおよび文書作成支援プログラム
1か月前
中国電力株式会社
ノイズ推定装置、ノイズ推定装置の制御方法及びプログラム
12日前
中国電力株式会社
停電エリア表示システム及び停電エリア表示方法及び表示画面
21日前
中国電力株式会社
離隔判定装置、離隔判定システム、離隔判定方法及びプログラム
11日前
中国電力株式会社
計測データ分析装置、計測データ分析装置の制御方法及びプログラム
12日前
中国電力株式会社
ケーブル支持具、高圧ケーブルの取付工法および高圧ケーブルの取外し工法
1か月前
中国電力株式会社
圧縮位置表示シール及び圧縮位置表示シールセット及び圧縮位置表示シール付き圧縮スリーブ
1か月前
中国電力株式会社
二酸化炭素排出量の計算システム、二酸化炭素排出量の計算方法、二酸化炭素排出量を計算するプログラム
12日前
中国電力株式会社
二酸化炭素排出量の計算システム、二酸化炭素排出量の計算方法および二酸化炭素排出量を計算するプログラム
12日前
個人
単極モータ
6日前
株式会社アイシン
ロータ
6日前
株式会社FUJI
制御盤
21日前
株式会社アイシン
ロータ
10日前
続きを見る
他の特許を見る