TOP
|
特許
|
意匠
|
商標
特許ウォッチ
Twitter
他の特許を見る
10個以上の画像は省略されています。
公開番号
2025139061
公報種別
公開特許公報(A)
公開日
2025-09-26
出願番号
2024037788
出願日
2024-03-12
発明の名称
タッチパネルの取付構造
出願人
株式会社JVCケンウッド
代理人
個人
,
個人
,
個人
主分類
G06F
3/041 20060101AFI20250918BHJP(計算;計数)
要約
【課題】パネル枠に対して適正な位置にタッチパネルを固定することが可能なタッチパネルの取付構造を提供する。
【解決手段】パネル枠100の上辺部H1に沿った内側面の2箇所に、2個のヒンジ11a、11bと、2個ヒンジ11a、11bに連結され上辺部H1に沿って変位可能な揺動部12と、揺動部12に形成されたボス13からなるヒンジ部材1L、1Rが形成されている。タッチパネル200には、パネル枠100への取り付け位置において、ボス13に対して、上辺部H1に沿う第1の方向に所定距離L1だけオフセットした位置に、開口部21L、21Rが形成されている。開口部21L、21Rを、ボス13に嵌合してタッチパネル200をパネル枠100に取り付ける。
【選択図】 図7
特許請求の範囲
【請求項1】
矩形状を有するパネル枠内にタッチパネルを取り付ける取付構造であって、
前記パネル枠には、
第1の辺に沿った内側面の少なくとも1箇所に、2個のヒンジと、前記2個のヒンジに連結され前記第1の辺に沿って変位可能な揺動部と、前記揺動部に形成された第1のボスと、からなるヒンジ部材が形成されており、
前記タッチパネルには、
前記パネル枠への取り付け位置において、前記第1のボスに対して、前記第1の辺に沿う第1の方向に所定距離だけオフセットした位置に、挿入部が形成されており、
前記挿入部を、前記第1のボスに嵌合して前記タッチパネルを前記パネル枠に取り付ける
タッチパネルの取付構造。
続きを表示(約 560 文字)
【請求項2】
前記ヒンジ部材は、前記パネル枠の前記第1の辺に沿った内側面の2箇所に設置されており、
前記挿入部は、前記タッチパネルにおける前記第1の方向に沿った2箇所に形成されており、
2つの挿入部を、2つのヒンジ部材に形成された前記第1のボスに嵌合して、前記パネル枠に前記タッチパネルを取り付ける
請求項1に記載のタッチパネルの取付構造。
【請求項3】
前記ヒンジ部材は、前記パネル枠の第1の辺に沿った内側面の、一端側の1箇所にのみ設けられており、前記内側面の他端側には、第2のボスが形成されており、
前記挿入部は、前記タッチパネルにおける前記第1の方向に沿った2箇所に形成されており、
2箇所の前記挿入部は、それぞれ前記第1のボス及び第2のボスに嵌合し、
前記第2のボスに嵌合する挿入部は、前記第1の辺の方向に沿って広がる長孔である
請求項1に記載のタッチパネルの取付構造。
【請求項4】
前記パネル枠の前記第1の辺に交差し、前記第1のボスが前記挿入部と嵌合することにより前記ヒンジ部が付勢する側となる第2の辺の内側面には、突起部が形成されている
請求項1~3のいずれか1項に記載のタッチパネルの取付構造。
発明の詳細な説明
【技術分野】
【0001】
本発明は、タッチパネルの取付構造に関する。
続きを表示(約 1,900 文字)
【背景技術】
【0002】
車両に搭載されるナビゲーションシステムのディスプレイ、或いはタブレット端末などのタッチパネルディスプレイは、液晶表示パネルの前面に位置する、矩形状を有するパネル枠の内側面にタッチパネルを収納した構成を有している。タッチパネルをパネル枠に取り付ける方法として、特許文献1に開示された技術が提案されている。
【0003】
特許文献1には、第1電極基板の下面に凹部を設け、ケースの内側底面に凸部を設け、凹部と凸部を嵌合させることにより、基板アセンブリをケースに対して位置決めすることが記載されている。
【先行技術文献】
【特許文献】
【0004】
特開2022-160107号公報
【発明の概要】
【発明が解決しようとする課題】
【0005】
しかし、特許文献1に開示された技術は、基板アセンブリをケースの内側面に寄せ止めする構成ではないので、基板アセンブリをケースに対して適正な位置に固定することができない。即ち、ケースに形成されている基板アセンブリの収納スペースは、公差を考慮して基板アセンブリよりも大きめにしている。従って、ボスと開口部を嵌合させて固定する方法では、長期間の使用により基板アセンブリとケースとの間に隙間が発生し、ガタが生じる可能性がある。
【0006】
本発明は、このような従来の課題を解決するためになされたものであり、その目的とするところは、パネル枠に対して適正な位置にタッチパネルを固定することが可能なタッチパネルの取付構造を提供することにある。
【課題を解決するための手段】
【0007】
上記目的を達成するため、本発明に係るタッチパネルの取付構造は、矩形状を有するパネル枠内にタッチパネルを取り付ける取付構造であって、前記パネル枠には、第1の辺に沿った内側面の少なくとも1箇所に、2個のヒンジと、前記2個のヒンジに連結され前記第1の辺に沿って変位可能な揺動部と、前記揺動部に形成された第1のボスと、からなるヒンジ部材が形成されており、前記タッチパネルには、前記パネル枠への取り付け位置において、前記第1のボスに対して、前記第1の辺に沿う第1の方向に所定距離だけオフセットした位置に、挿入部が形成されており、前記挿入部を、前記第1のボスに嵌合して前記タッチパネルを前記パネル枠に取り付ける。
【発明の効果】
【0008】
本発明では、パネル枠に対して適正な位置にタッチパネルを固定することが可能になる。
【図面の簡単な説明】
【0009】
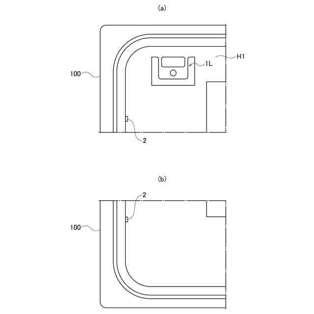
図1は、第1実施形態に係る取付構造に用いるパネル枠の正面図である。
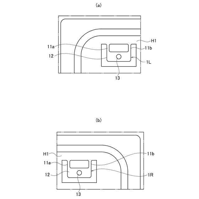
図2は、パネル枠に形成されるヒンジ部材の構成を示す説明図であり、(a)は左側、(b)は右側のヒンジ部材を示す。
図3は、ヒンジ部材が左右に変位した様子を示す説明図であり、(a)は右側に変位した状態、(b)は左側に変位した状態を示す。
図4は、パネル枠に形成されるリブを示す説明図であり、(a)は左上に形成されるリブ、(b)は右上に形成されるリブを示す。
図5Aは、タッチパネルの正面図である。
図5Bは、タッチパネルの裏面図である。
図6は、タッチパネルの要部の側面図である。
図7は、パネル枠のヒンジ部材に、タッチパネルの開口部を嵌合する様子を示す説明図である。
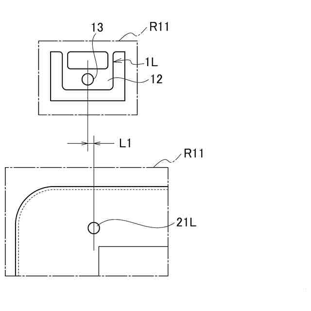
図8Aは、左側のヒンジ部材に形成されるボスと、タッチパネルに形成される左側の開口部に生じるオフセットを示す説明図である。
図8Bは、右側のヒンジ部材に形成されるボスと、タッチパネルに形成される右側の開口部に生じるオフセットを示す説明図である。
図9は、第1実施形態の変形例に係る取付構造に用いるパネル枠を示す正面図である。
図10は、第2実施形態に係る取付構造を示す説明図であり、(a)はパネル枠の右側上端、(b)はタッチパネルの右側上端を示す。
【発明を実施するための形態】
【0010】
[第1実施形態の説明]
以下、図面を参照して実施形態について説明する。図1は、第1実施形態に係るタッチパネルの取付構造が適用されたパネル枠100の構成を示す説明図である。図2は、パネル枠100に形成されるヒンジ部材の構成を示す説明図であり、図1の符号R1、R2に示す領域の拡大図である。
(【0011】以降は省略されています)
この特許をJ-PlatPat(特許庁公式サイト)で参照する
関連特許
株式会社JVCケンウッド
光造形装置
5日前
株式会社JVCケンウッド
再生装置及び再生方法
今日
株式会社JVCケンウッド
評価装置及び評価方法
2日前
株式会社JVCケンウッド
再生装置及び再生方法
今日
株式会社JVCケンウッド
再生装置及び再生方法
今日
株式会社JVCケンウッド
放熱構造および電子機器
12日前
株式会社JVCケンウッド
タッチパネルの取付構造
5日前
株式会社JVCケンウッド
プリント基板の取付構造
12日前
株式会社JVCケンウッド
ヘッドマウントディスプレイ
2日前
株式会社JVCケンウッド
集光レンズ及び投射型表示装置
2日前
株式会社JVCケンウッド
集光レンズ及び投射型表示装置
2日前
株式会社JVCケンウッド
出力制御装置および出力制御方法
5日前
株式会社JVCケンウッド
経路探索装置および経路探索方法
12日前
株式会社JVCケンウッド
行動監視装置および行動監視方法
12日前
株式会社JVCケンウッド
物体検出システム及び物体検出方法
2日前
株式会社JVCケンウッド
立体視画像生成装置およびプログラム
2日前
株式会社JVCケンウッド
通信装置、通信方法およびプログラム
2日前
株式会社JVCケンウッド
クリッピング装置及びクリッピング方法
2日前
株式会社JVCケンウッド
光造形制御装置および造形物の製造方法
5日前
株式会社JVCケンウッド
光路制御装置、表示装置、及び光路制御方法
5日前
株式会社JVCケンウッド
仮想空間制御システムおよび仮想空間制御方法
6日前
株式会社JVCケンウッド
仮想空間制御システムおよび仮想空間制御方法
6日前
株式会社JVCケンウッド
仮想空間制御システムおよび仮想空間制御方法
2日前
株式会社JVCケンウッド
仮想空間制御システムおよび仮想空間制御方法
2日前
株式会社JVCケンウッド
無線キー装置、ドアロック解錠システム、解錠方法
12日前
株式会社JVCケンウッド
無線キー装置、ドアロック解錠システム、解錠方法
12日前
株式会社JVCケンウッド
ナビゲーションシステム、および、ナビゲーション方法
2日前
株式会社JVCケンウッド
画像分類装置、画像分類方法、および画像分類プログラム
6日前
株式会社JVCケンウッド
画像分類装置、画像分類方法、および画像分類プログラム
6日前
株式会社JVCケンウッド
画像分類装置、画像分類方法、および画像分類プログラム
6日前
株式会社JVCケンウッド
携帯機器保持用のアタッチメント,携帯機器の保持構造,及び保持方法
6日前
株式会社JVCケンウッド
液晶デバイス、波長選択スイッチ装置、及び、液晶デバイスの故障検出方法
2日前
株式会社JVCケンウッド
空き状況情報提供装置、空き状況情報提供プログラム、および空き状況情報提供方法
2日前
株式会社JVCケンウッド
表示制御装置、プログラムおよび表示制御方法
2日前
株式会社JVCケンウッド
情報配信装置、情報生成方法、及び情報生成プログラム
2日前
株式会社JVCケンウッド
画像符号化装置、画像符号化方法、画像符号化プログラム、画像復号装置、画像復号方法及び画像復号プログラム
12日前
続きを見る
他の特許を見る