TOP
|
特許
|
意匠
|
商標
特許ウォッチ
Twitter
他の特許を見る
10個以上の画像は省略されています。
公開番号
2025141995
公報種別
公開特許公報(A)
公開日
2025-09-29
出願番号
2025115083,2024021467
出願日
2025-07-08,2019-09-25
発明の名称
情報配信装置、情報生成方法、及び情報生成プログラム
出願人
株式会社JVCケンウッド
代理人
主分類
G06T
19/00 20110101AFI20250919BHJP(計算;計数)
要約
【課題】ユーザが自分以外の第三者に対しても試着を実行可能な情報配信装置、情報生成
方法、及び情報生成プログラムを提供する。
【解決手段】情報配信装置は、特定の対象物を含む撮影画像を撮影する撮影部と、撮影画
像の中から特定の対象物の対象画像を取得する対象画像取得部と、仮想空間における登録
アバターと、対象画像とに基づいて試着データを生成する試着データ生成部と、を備える
。
【選択図】図2
特許請求の範囲
【請求項1】
特定の対象物を含む撮影画像を撮影する撮影部と、
前記撮影画像の中から前記特定の対象物の対象画像を取得する対象画像取得部と、
ユーザの顔を含む容姿からアバターの顔の登録画像を生成し、前記撮影画像に含まれる前記対象画像に対応する部位に前記登録画像の配置を行うことで前記撮影画像としての試着データを生成する試着データ生成部と、
を備えた情報配信装置。
続きを表示(約 380 文字)
【請求項2】
特定の対象物を含む撮影画像を撮影することと、
前記撮影画像の中から識別情報に対応する対象画像を取得することと、
ユーザの顔を含む容姿からアバターの顔の登録画像を生成し、前記撮影画像に含まれる前記対象画像に対応する部位に前記登録画像の配置を行うことで前記撮影画像としての試着データを生成することと、
を含む情報配信方法。
【請求項3】
特定の対象物を含む撮影画像を撮影する処理と、
前記撮影画像の中から識別情報に対応する対象画像を取得する処理と、
ユーザの顔を含む容姿からアバターの顔の登録画像を生成し、前記撮影画像に含まれる前記対象画像に対応する部位に前記登録画像の配置を行うことで前記撮影画像としての試着データを生成する処理と、
をコンピュータに実行させる情報配信プログラム
発明の詳細な説明
【技術分野】
【0001】
本発明は、情報配信装置、情報生成方法、及び情報生成プログラムに関する。
続きを表示(約 1,400 文字)
【背景技術】
【0002】
複数の端末装置間を通信可能な状態とすることにより、仮想空間においてリアルタイム
で対話を行いつつショッピングを行うことが可能なシステムが知られている(例えば、特
許文献1参照)。
【先行技術文献】
【特許文献】
【0003】
特許第5845830号公報
【発明の概要】
【発明が解決しようとする課題】
【0004】
上記のようなシステムにおいて、例えば衣服等の試着を行う場合、ユーザが自ら試着を
行う場合が前提となっている。これに対して、ユーザが自分以外の第三者に対しても試着
を実行可能なシステムが求められている。
【0005】
本発明は、上記に鑑みてなされたものであり、ユーザが自分以外の第三者に対しても試
着を実行可能な情報配信装置、情報生成方法、及び情報生成プログラムを提供することを
目的とする。
【課題を解決するための手段】
【0006】
本発明に係る情報配信装置は、特定の対象物を含む撮影画像を撮影する撮影部と、前記
撮影画像の中から前記特定の対象物の対象画像を取得する対象画像取得部と、仮想空間に
おける登録アバターと、前記対象画像とに基づいて試着データを生成する試着データ生成
部とを備える。
【0007】
本発明に係る情報生成方法は、特定の対象物を含む撮影画像を撮影することと、前記撮
影画像の中から前記特定の対象物の対象画像を取得することと、仮想空間における登録ア
バターと、前記対象画像とに基づいて試着データを生成することとを含む。
【0008】
本発明に係る情報生成プログラムは、特定の対象物を含む撮影画像を撮影する処理と、
前記撮影画像の中から前記特定の対象物の対象画像を取得する処理と、仮想空間における
登録アバターと、前記対象画像とに基づいて試着データを生成する処理とをコンピュータ
に実行させる。
【発明の効果】
【0009】
本発明によれば、ユーザが自分以外の第三者に対しても試着を実行可能となる。
【図面の簡単な説明】
【0010】
図1は、第1実施形態に係る情報配信システムの一例を模式的に示す図である。
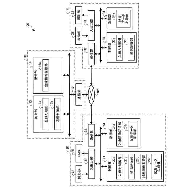
図2は、情報配信システムの一例を示す機能ブロック図である。
図3は、試着対象物を撮影した撮影画像の一例を示す図である。
図4は、試着対象物を撮影した撮影画像の一例を示す図である。
図5は、試着対象物を撮影した撮影画像の一例を示す図である。
図6は、試着対象物を撮影した撮影画像の一例を示す図である。
図7は、登録画像を含む撮影画像の一例を示す図である。
図8は、情報配信システムの動作の一例を示すフローチャートである。
図9は、第2実施形態に係る情報配信システムの一例を示す図である。
図10は、情報配信システムの動作の一例を示すフローチャートである。
図11は、第3実施形態に係る情報配信システムの一例を示す図である。
図12は、情報配信システムの動作の一例を示すフローチャートである。
【発明を実施するための形態】
(【0011】以降は省略されています)
この特許をJ-PlatPat(特許庁公式サイト)で参照する
関連特許
株式会社JVCケンウッド
再生装置及び再生方法
今日
株式会社JVCケンウッド
再生装置及び再生方法
今日
株式会社JVCケンウッド
再生装置及び再生方法
今日
株式会社JVCケンウッド
通信装置、通信方法およびプログラム
2日前
株式会社JVCケンウッド
表示制御装置、プログラムおよび表示制御方法
2日前
株式会社JVCケンウッド
情報配信装置、情報生成方法、及び情報生成プログラム
2日前
個人
裁判のAI化
2か月前
個人
情報処理システム
2か月前
個人
フラワーコートA
1か月前
個人
地球保全システム
今日
個人
工程設計支援装置
1か月前
個人
検査システム
2か月前
個人
介護情報提供システム
2か月前
個人
冷凍食品輸出支援構造
27日前
個人
為替ポイント伊達夢貯
27日前
個人
設計支援システム
2か月前
個人
設計支援システム
2か月前
個人
表変換編集支援システム
20日前
個人
携帯情報端末装置
1か月前
株式会社サタケ
籾摺・調製設備
2か月前
個人
結婚相手紹介支援システム
1か月前
個人
知財出願支援AIシステム
27日前
キヤノン電子株式会社
携帯装置
2か月前
株式会社カクシン
支援装置
2か月前
個人
パスワード管理支援システム
20日前
個人
AIによる情報の売買の仲介
29日前
個人
行動時間管理システム
22日前
個人
アンケート支援システム
1か月前
個人
パスポートレス入出国システム
1か月前
個人
備蓄品の管理方法
2か月前
日本精機株式会社
施工管理システム
29日前
個人
システム及びプログラム
13日前
個人
海外支援型農作物活用システム
12日前
個人
AIキャラクター制御システム
20日前
株式会社アジラ
進入判定装置
1か月前
個人
未来型家系図構築システム
12日前
続きを見る
他の特許を見る