TOP
|
特許
|
意匠
|
商標
特許ウォッチ
Twitter
他の特許を見る
10個以上の画像は省略されています。
公開番号
2025142455
公報種別
公開特許公報(A)
公開日
2025-10-01
出願番号
2024041811
出願日
2024-03-18
発明の名称
再生装置及び再生方法
出願人
株式会社JVCケンウッド
代理人
個人
主分類
H04N
7/15 20060101AFI20250924BHJP(電気通信技術)
要約
【課題】仮想空間でのユーザの満足度のさらなる向上を図ること。
【解決手段】本発明の再生装置20は、仮想空間において、アバターの履歴情報がエリアに応じて分類された第1クラス情報またはアバターの履歴情報が会話内容に応じて分類された第2クラス情報を、アバターの動作ログと共に記録部23に記録する記録制御部21と、仮想空間においてアバターの動作を再生する際に、ユーザが操作するアバターの履歴情報が属するクラスと、第1クラス情報または第2クラス情報と、が一致する動作ログに対し、所定の優先度を付与し、優先度が所定の閾値以上の動作ログを選択し、選択された動作ログに基づいて、アバターの動作を再生する再生部22と、を備える。
【選択図】図9
特許請求の範囲
【請求項1】
仮想空間において、アバターの履歴情報がエリアに応じて分類された第1クラス情報またはアバターの履歴情報が会話内容に応じて分類された第2クラス情報を、アバターの動作ログと共に記録部に記録する記録制御部と、
前記仮想空間においてアバターの動作を再生する際に、ユーザが操作するアバターの履歴情報が属するクラスと、第1クラス情報または第2クラス情報と、が一致する前記動作ログに対し、所定の優先度を付与し、前記優先度が所定の閾値以上の前記動作ログを選択し、選択された前記動作ログに基づいて、アバターの動作を再生する再生部と、を備える、
再生装置。
続きを表示(約 910 文字)
【請求項2】
前記履歴情報は、少なくともアバターが位置したエリア、またはアバターが会話した会話内容を含む、
請求項1に記載の再生装置。
【請求項3】
仮想空間において、アバターを操作するユーザの属性に応じて分類された第3クラス情報を、アバターの動作ログと共に記録部に記録する記録制御部と、
前記仮想空間においてアバターの動作を再生する際に、前記ユーザの属性が属するクラスと、第3クラス情報と、が一致する前記動作ログに対し、所定の優先度を付与し、前記優先度が所定の閾値以上の動作ログを選択し、選択された動作ログに基づいて、アバターの動作を再生する再生部と、を備える、
再生装置。
【請求項4】
前記記録制御部は、アバターの前記動作ログと共に、前記動作ログの記録日時を示す記録日時情報を前記記録部にさらに記録し、
前記再生部は、前記仮想空間においてアバターの動作を再生する際に、前記記録部に前記動作ログと共に記録された前記記録日時情報が示す記録日時と、所定の日時と、の差分が、所定の閾値未満の前記動作ログに対し、所定の優先度を付与し、前記優先度の合計値を算出し、前記優先度の合計値が所定の閾値以上の動作ログを選択し、選択された動作ログに基づいて、アバターの動作を再生する、
請求項1または2に記載の再生装置。
【請求項5】
再生装置により実行される再生方法であって、
仮想空間において、アバターの履歴情報がエリアに応じて分類された第1クラス情報またはアバターの履歴情報が会話内容に応じて分類された第2クラス情報を、アバターの動作ログと共に記録部に記録する記録制御ステップと、
前記仮想空間においてアバターの動作を再生する際に、ユーザが操作するアバターの履歴情報が属するクラスと、第1クラス情報または第2クラス情報と、が一致する前記動作ログに対し、所定の優先度を付与し、前記優先度が所定の閾値以上の前記動作ログを選択し、選択された前記動作ログに基づいて、アバターの動作を再生する再生ステップと、を含む、
再生方法。
発明の詳細な説明
【技術分野】
【0001】
本発明は、再生装置及び再生方法に関する。
続きを表示(約 2,200 文字)
【背景技術】
【0002】
近年、仮想空間、特に、メタバース空間と呼ばれるような、不特定多数のユーザが、世界中の様々な場所から、ログインすることができ、かつ、互いに交流することができるサービスが進化を遂げ、注目を集めている。しかし、メタバース空間は、ユーザのログイン時間に自由度があることなどが影響し、ごく少数のユーザしかログインしていない時間帯が発生し得る。そのような時間帯にメタバース空間にログインしたユーザには、メタバース空間は、活気がなくつまらなそうな空間という印象を与えてしまうため、メタバース空間でのユーザの満足度が低下してしまうことが懸念される。
【0003】
そのため、最近は、メタバース空間などの仮想空間でのユーザの満足度の向上を図るべく、仮想空間を活気があるように演出するための技術も提案されている。例えば、特許文献1に記載された技術によれば、第1ユーザがコンテンツを視聴している間に操作した第1アバターの動作ログを生成し、第1ユーザがコンテンツを視聴した後に第2ユーザがコンテンツを視聴する際に、コンテンツを再生すると共に、動作ログに基づいて第1アバターの動作を再生する。これにより、仮想空間において、第2ユーザが第1ユーザと一緒にコンテンツを視聴している状態を演出することができる。
【先行技術文献】
【特許文献】
【0004】
特開2022-184724号公報
【発明の概要】
【発明が解決しようとする課題】
【0005】
メタバース空間などの仮想空間において、上述した特許文献1に記載された技術を適用することにより、過去のアバターを再生することが可能である。しかし、ユーザが操作するアバターとは全く異なる行動を取っている過去のアバター(例えば、全く異なるエリアを移動しているアバターなど)の姿が多いと、ユーザは、疎外感を感じ、かえって、仮想空間での満足度を損なわれてしまうと考えられる。
【0006】
本発明の目的は、上述した課題に鑑みてなされたものであって、仮想空間でのユーザの満足度のさらなる向上を図ることが可能な再生装置及び再生方法を提供することにある。
【課題を解決するための手段】
【0007】
一態様による再生装置は、
仮想空間において、アバターの履歴情報がエリアに応じて分類された第1クラス情報またはアバターの履歴情報が会話内容に応じて分類された第2クラス情報を、アバターの動作ログと共に記録部に記録する記録制御部と、
前記仮想空間においてアバターの動作を再生する際に、ユーザが操作するアバターの履歴情報が属するクラスと、第1クラス情報または第2クラス情報と、が一致する前記動作ログに対し、所定の優先度を付与し、前記優先度が所定の閾値以上の前記動作ログを選択し、選択された前記動作ログに基づいて、アバターの動作を再生する再生部と、を備える。
【0008】
一態様による再生方法は、
再生装置により実行される再生方法であって、
仮想空間において、アバターの履歴情報がエリアに応じて分類された第1クラス情報またはアバターの履歴情報が会話内容に応じて分類された第2クラス情報を、アバターの動作ログと共に記録部に記録する記録制御ステップと、
前記仮想空間においてアバターの動作を再生する際に、ユーザが操作するアバターの履歴情報が属するクラスと、第1クラス情報または第2クラス情報と、が一致する前記動作ログに対し、所定の優先度を付与し、前記優先度が所定の閾値以上の前記動作ログを選択し、選択された前記動作ログに基づいて、アバターの動作を再生する再生ステップと、を含む。
【発明の効果】
【0009】
上述の態様によれば、仮想空間でのユーザの満足度のさらなる向上を図ることが可能な再生装置及び再生方法を提供できるという効果が得られる。
【図面の簡単な説明】
【0010】
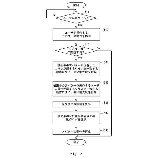
ログインしているユーザ数が多い時のメタバース空間のイメージ例を示す図である。
ログインしているユーザ数が極端に少ない時のメタバース空間のイメージ例を示す図である。
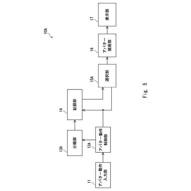
実施の形態1に係る再生装置の構成例を示すブロック図である。
実施の形態1に係る再生装置において、アバターの動作を再生する際の概略的な動作の流れの例を説明するフロー図である。
実施の形態2に係る再生装置の構成例を示すブロック図である。
実施の形態2に係る再生装置において、アバターの動作を再生する際の概略的な動作の流れの例を説明するフロー図である。
実施の形態3に係る再生装置の構成例を示すブロック図である。
実施の形態3に係る再生装置において、アバターの動作を再生する際の概略的な動作の流れの例を説明するフロー図である。
実施の形態4に係る再生装置の構成例を示すブロック図である。
実施の形態4に係る再生装置において、アバターの動作を再生する際の概略的な動作の流れの例を説明するフロー図である。
実施の形態1~4に係る再生装置の全部又は一部の機能を実現するコンピュータのハードウェア構成例を示すブロック図である。
【発明を実施するための形態】
(【0011】以降は省略されています)
この特許をJ-PlatPat(特許庁公式サイト)で参照する
関連特許
個人
店内配信予約システム
2か月前
サクサ株式会社
中継装置
2か月前
WHISMR合同会社
収音装置
20日前
キヤノン株式会社
電子機器
2か月前
アイホン株式会社
電気機器
14日前
キヤノン株式会社
撮像装置
3か月前
キヤノン株式会社
撮像装置
1か月前
株式会社リコー
画像形成装置
1か月前
キヤノン電子株式会社
画像読取装置
21日前
日本精機株式会社
画像投映システム
2か月前
株式会社リコー
画像形成装置
1か月前
個人
ワイヤレスイヤホン対応耳掛け
12日前
キヤノン電子株式会社
モバイル装置
2か月前
ヤマハ株式会社
信号処理装置
3か月前
株式会社リコー
画像形成装置
1か月前
株式会社ニコン
撮像装置
2か月前
ブラザー工業株式会社
読取装置
1か月前
キヤノン株式会社
撮像システム
14日前
株式会社松平商会
携帯機器カバー
23日前
沖電気工業株式会社
画像形成装置
2日前
株式会社小糸製作所
画像照射装置
29日前
DXO株式会社
情報処理システム
2か月前
国立大学法人電気通信大学
小型光学装置
1か月前
キヤノン電子株式会社
シート材搬送装置
1か月前
パテントフレア株式会社
水中電波通信法
1か月前
パテントフレア株式会社
超高速電波通信
28日前
大日本印刷株式会社
写真撮影装置
13日前
株式会社大林組
監視システム
1か月前
日本無線株式会社
無線通信システム
1か月前
個人
外部ヘッダ変換通信装置および通信網
3か月前
日本無線株式会社
無線通信システム
23日前
株式会社オーディオテクニカ
受光器
2か月前
株式会社国際電気
遠隔監視システム
29日前
テックス通信株式会社
電話システム
2か月前
日本無線株式会社
無線通信システム
6日前
日本無線株式会社
無線通信システム
1か月前
続きを見る
他の特許を見る