TOP
|
特許
|
意匠
|
商標
特許ウォッチ
Twitter
他の特許を見る
公開番号
2025141189
公報種別
公開特許公報(A)
公開日
2025-09-29
出願番号
2024041005
出願日
2024-03-15
発明の名称
立体視画像生成装置およびプログラム
出願人
株式会社JVCケンウッド
代理人
個人
,
個人
,
個人
,
個人
主分類
H04N
13/268 20180101AFI20250919BHJP(電気通信技術)
要約
【課題】ユーザにとって違和感の少ない立体画像を提示する。
【解決手段】立体視画像生成装置は、可視光センサと、可視光センサの画素に対応する位置に配置された距離センサとを備える撮像部から、被写体を可視光センサが撮像した画像情報と、距離センサが撮像した画素ごとに検出した被写体までの距離を示す情報であって、画像情報に基づくエンコード条件によって情報量が低減された距離情報と、を含む被写体情報を、ネットワークを介して取得する被写体情報取得部と、ユーザの左右眼の距離に応じた視差設定情報を取得する視差設定情報取得部と、取得された距離情報を、画像情報に基づいてデコードするデコード部と、ユーザの他方の眼に提示される画像を示す第2画像情報を、視差設定情報と、デコードされた距離情報と、画像情報とに基づいて生成する画像生成部と、第1画像情報と、第2画像情報とを対にして、立体視画像情報として出力する出力部とを備える。
【選択図】図1
特許請求の範囲
【請求項1】
可視光センサと、前記可視光センサの画素に対応する位置に配置された距離センサとを備える撮像部から、被写体を前記可視光センサが撮像した画像情報と、前記距離センサが撮像した画素ごとに検出した前記被写体までの距離を示す情報であって、前記画像情報に基づく所定のエンコード条件によって情報量が低減された距離情報と、を含む被写体情報を、ネットワークを介して取得する被写体情報取得部と、
ユーザの左右眼の距離に応じた視差設定情報を取得する視差設定情報取得部と、
取得された前記距離情報を、前記画像情報に基づいてデコードするデコード部と、
前記画像情報を前記ユーザの左右眼のうち一方の眼に提示される画像を示す第1画像情報とした場合に、前記ユーザの他方の眼に提示される画像を示す第2画像情報を、前記視差設定情報と、デコードされた前記距離情報と、前記画像情報とに基づいて生成する画像生成部と、
前記第1画像情報と、前記第2画像情報とを対にして、立体視画像情報として出力する出力部と、
を備える立体視画像生成装置。
続きを表示(約 940 文字)
【請求項2】
前記エンコード条件には、前記被写体のうち、前記撮像部から所定の距離範囲の被写体についての前記距離情報を送信対象とし、前記距離範囲外の前記距離情報を送信対象外とすることにより、前記距離情報の情報量を低減することが含まれる
請求項1に記載の立体視画像生成装置。
【請求項3】
前記エンコード条件には、前記被写体のうち、動きが相対的に大きい被写体についての前記距離情報を送信対象とし、動きが相対的に小さい被写体についての前記距離情報を送信対象外とすることにより、前記距離情報の情報量を低減することが含まれる
請求項1に記載の立体視画像生成装置。
【請求項4】
前記距離情報は、ランレングス符号化によって情報量が低減されることにより、絶対距離によって前記被写体までの距離を示す絶対距離情報よりも階調値が少ない情報であって、前記絶対距離に対する相対距離によって前記被写体までの距離を示す相対距離情報を用いることにより、情報量が低減されている
請求項1に記載の立体視画像生成装置。
【請求項5】
コンピュータに、
可視光センサと、前記可視光センサの画素に対応する位置に配置された距離センサとを備える撮像部から、被写体を前記可視光センサが撮像した画像情報と、前記距離センサが前記画素ごとに検出した前記被写体までの距離を示す情報であって、前記画像情報に基づく所定のエンコード条件によって情報量が低減された距離情報と、を含む被写体情報を、ネットワークを介して取得することと、
ユーザの左右眼の視差設定情報を取得することと、
取得された前記距離情報を、前記画像情報に基づいてデコードすることと、
前記画像情報をユーザの左右眼のうち一方の眼に提示される画像を示す第1画像情報とした場合に、ユーザの他方の眼に提示される画像を示す第2画像情報を、前記視差設定情報と、デコードされた前記距離情報と、前記画像情報とに基づいて生成することと、
前記第1画像情報と、前記第2画像情報とを対にして、立体視画像情報として出力することと、
を実行させるためのプログラム。
発明の詳細な説明
【技術分野】
【0001】
本発明は、立体視画像生成装置およびプログラムに関する。
続きを表示(約 2,100 文字)
【背景技術】
【0002】
従来、ユーザの左眼および右眼に、互いに視差を与えた左眼画像と右眼画像とを提示することにより、立体視を可能にした画像表示装置が開示されている(例えば、特許文献1を参照)。
【先行技術文献】
【特許文献】
【0003】
特開2013-167791号公報
【発明の概要】
【発明が解決しようとする課題】
【0004】
このような画像表示装置において、ユーザによっては、左眼画像と右眼画像との視差に違和感(例えば、いわゆる「3D酔い」のような不快感)を生じることがある。
しかしながら、上記のような従来技術においては、ユーザにとって違和感の少ない立体画像を提示することが困難であるという問題があった。
【課題を解決するための手段】
【0005】
本発明の一実施形態は、可視光センサと、前記可視光センサの画素に対応する位置に配置された距離センサとを備える撮像部から、被写体を前記可視光センサが撮像した画像情報と、前記距離センサが撮像した画素ごとに検出した前記被写体までの距離を示す情報であって、前記画像情報に基づく所定のエンコード条件によって情報量が低減された距離情報と、を含む被写体情報を、ネットワークを介して取得する被写体情報取得部と、ユーザの左右眼の距離に応じた視差設定情報を取得する視差設定情報取得部と、取得された前記距離情報を、前記画像情報に基づいてデコードするデコード部と、前記画像情報をユーザの左右眼のうち一方の眼に提示される画像を示す第1画像情報とした場合に、ユーザの他方の眼に提示される画像を示す第2画像情報を、前記視差設定情報と、デコードされた前記距離情報と、前記画像情報とに基づいて生成する画像生成部と、前記第1画像情報と、前記第2画像情報とを対にして、立体視画像情報として出力する出力部と、を備える立体視画像生成装置である。
【0006】
本発明の一実施形態は、コンピュータに、可視光センサと、前記可視光センサの画素に対応する位置に配置された距離センサとを備える撮像部から、被写体を前記可視光センサが撮像した画像情報と、前記距離センサが撮像した画素ごとに検出した前記被写体までの距離を示す情報であって、前記画像情報に基づく所定のエンコード条件によって情報量が低減された距離情報と、を含む被写体情報を、ネットワークを介して取得することと、前記ユーザの左右眼の視差設定情報を取得することと、取得された前記距離情報を、前記画像情報に基づいてデコードすることと、前記画像情報をユーザの左右眼のうち一方の眼に提示される画像を示す第1画像情報とした場合に、ユーザの他方の眼に提示される画像を示す第2画像情報を、前記視差設定情報と、デコードされた前記距離情報と、前記画像情報とに基づいて生成することと、前記第1画像情報と、前記第2画像情報とを対にして、立体視画像情報として出力することと、を実行させるためのプログラムである。
【発明の効果】
【0007】
この発明によれば、ユーザにとって違和感の少ない立体画像を提示することが可能な立体視画像生成装置およびプログラムを提供することができる。
【図面の簡単な説明】
【0008】
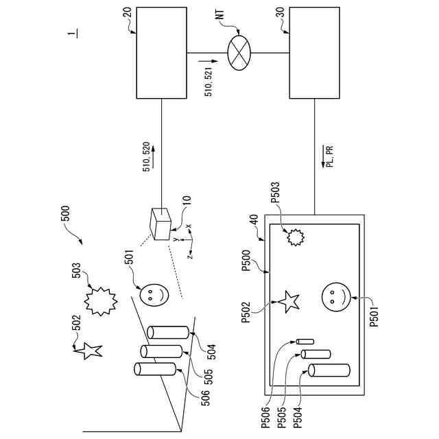
本実施形態の立体視画像生成システムの構成の一例を示す図である。
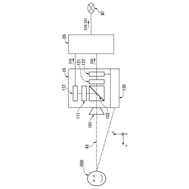
本実施形態の撮像部の構成の一例を示す図である。
本実施形態の距離情報の情報量の低減対象となる被写体の一例を示す図である。
本実施形態の立体視画像生成装置の機能構成の一例を示す図である。
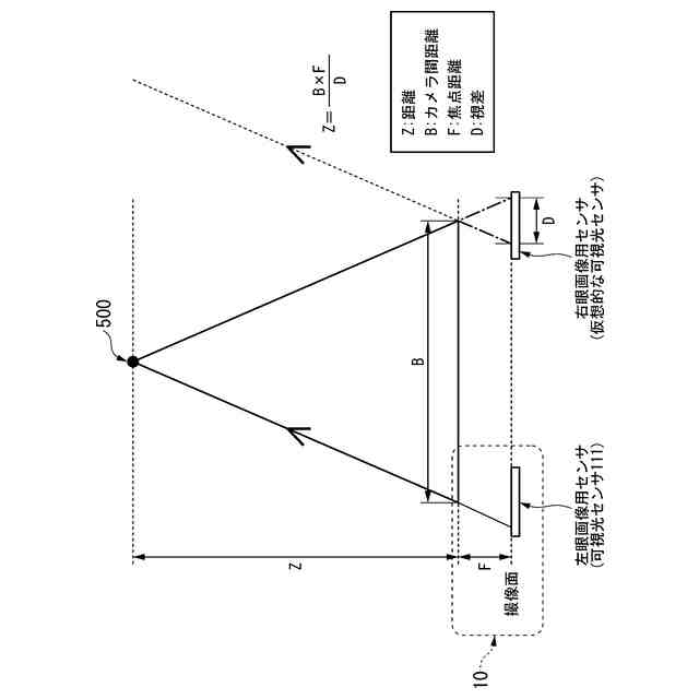
被写体を立体視する場合の幾何学的な位置関係の一例を示す図である。
本実施形態の立体視画像生成装置の動作の流れの一例を示す図である。
【発明を実施するための形態】
【0009】
以下、図面を参照して、本発明の実施形態を説明する。
図1は、本実施形態の立体視画像生成システム1の構成の一例を示す図である。立体視画像生成システム1は、撮像部10と、送信装置20と、立体視画像生成装置30と、表示装置40を備える。
これらの各装置のうち、送信装置20と、立体視画像生成装置30とは、例えば、インターネットなどのネットワークNTを介して接続されている。したがって、撮像部10および送信装置20の装置群と、立体視画像生成装置30および表示装置40の装置群とは、互いに空間的に離れた場所(つまり、遠隔地)に配置することが可能である。
【0010】
撮像部10は、被写体500を撮像する。本実施形態の一例では、被写体500には、第1被写体501~第6被写体506の各種の被写体が含まれる。以下の説明において、これら個別の被写体(第1被写体501~第6被写体506)を区別しない場合には、被写体500と総称する。
(【0011】以降は省略されています)
この特許をJ-PlatPat(特許庁公式サイト)で参照する
関連特許
株式会社JVCケンウッド
光造形装置
5日前
株式会社JVCケンウッド
無線通信装置
20日前
株式会社JVCケンウッド
再生装置及び再生方法
今日
株式会社JVCケンウッド
評価装置及び評価方法
2日前
株式会社JVCケンウッド
再生装置及び再生方法
今日
株式会社JVCケンウッド
再生装置及び再生方法
今日
株式会社JVCケンウッド
タッチパネルの取付構造
5日前
株式会社JVCケンウッド
電源装置および増幅装置
12日前
株式会社JVCケンウッド
貸出車両の運用管理装置
12日前
株式会社JVCケンウッド
放熱構造および電子機器
12日前
株式会社JVCケンウッド
プリント基板の取付構造
12日前
株式会社JVCケンウッド
ヘッドマウントディスプレイ
2日前
株式会社JVCケンウッド
集光レンズ及び投射型表示装置
2日前
株式会社JVCケンウッド
集光レンズ及び投射型表示装置
2日前
株式会社JVCケンウッド
出力制御装置および出力制御方法
5日前
株式会社JVCケンウッド
経路探索装置および経路探索方法
12日前
株式会社JVCケンウッド
行動監視装置および行動監視方法
12日前
株式会社JVCケンウッド
物体検出システム及び物体検出方法
2日前
株式会社JVCケンウッド
運転支援制御装置および運転支援方法
12日前
株式会社JVCケンウッド
立体視画像生成装置およびプログラム
2日前
株式会社JVCケンウッド
通信装置、通信方法およびプログラム
2日前
株式会社JVCケンウッド
クリッピング装置及びクリッピング方法
2日前
株式会社JVCケンウッド
光造形制御装置および造形物の製造方法
5日前
株式会社JVCケンウッド
光路制御装置、表示装置、及び光路制御方法
5日前
株式会社JVCケンウッド
仮想空間制御システムおよび仮想空間制御方法
12日前
株式会社JVCケンウッド
仮想空間制御システムおよび仮想空間制御方法
6日前
株式会社JVCケンウッド
仮想空間制御システムおよび仮想空間制御方法
6日前
株式会社JVCケンウッド
仮想空間制御システムおよび仮想空間制御方法
2日前
株式会社JVCケンウッド
仮想空間制御システムおよび仮想空間制御方法
2日前
株式会社JVCケンウッド
無線キー装置、ドアロック解錠システム、解錠方法
12日前
株式会社JVCケンウッド
無線キー装置、ドアロック解錠システム、解錠方法
12日前
株式会社JVCケンウッド
ナビゲーションシステム、および、ナビゲーション方法
2日前
株式会社JVCケンウッド
画像分類装置、画像分類方法、および画像分類プログラム
6日前
株式会社JVCケンウッド
画像分類装置、画像分類方法、および画像分類プログラム
6日前
株式会社JVCケンウッド
画像分類装置、画像分類方法、および画像分類プログラム
6日前
株式会社JVCケンウッド
携帯機器保持用のアタッチメント,携帯機器の保持構造,及び保持方法
6日前
続きを見る
他の特許を見る