TOP
|
特許
|
意匠
|
商標
特許ウォッチ
Twitter
他の特許を見る
10個以上の画像は省略されています。
公開番号
2025138438
公報種別
公開特許公報(A)
公開日
2025-09-25
出願番号
2024037533
出願日
2024-03-11
発明の名称
仮想空間制御システムおよび仮想空間制御方法
出願人
株式会社JVCケンウッド
代理人
弁理士法人酒井国際特許事務所
主分類
G06F
21/60 20130101AFI20250917BHJP(計算;計数)
要約
【課題】自己のアバターの周囲における他のアバターのユーザとの情報共有条件を適切に設定すること。
【解決手段】仮想空間制御システム1が備える制御部は、情報端末装置10のユーザの音声を検出し、ユーザの発話内容に基づいて、情報端末装置10のユーザに対応したアバターの情報共有範囲における対話相手以外のユーザに出力される音声の態様を変更する。
【選択図】図3
特許請求の範囲
【請求項1】
情報端末装置に仮想空間を表示させ、前記仮想空間に前記情報端末装置のユーザに対応するアバターを表示させる仮想空間制御システムであって、
前記仮想空間制御システムが備える制御部は、
前記情報端末装置のユーザの音声を検出し、前記ユーザの発話内容に基づいて、前記情報端末装置のユーザに対応したアバターの情報共有範囲における対話相手以外のユーザに出力される音声の態様を変更する、
仮想空間制御システム。
続きを表示(約 760 文字)
【請求項2】
前記制御部は、
前記ユーザの音声をテキストデータに変換し、前記テキストデータに含まれる所定文言に基づき秘匿性の有無を判定し、秘匿性有と判定された場合、前記情報端末装置のユーザに対応したアバターの情報共有範囲における対話相手以外のユーザに出力される音声の態様を変更する、
請求項1に記載の仮想空間制御システム。
【請求項3】
前記制御部は、
秘匿性有と判定された場合において、前記ユーザに対応したアバターの向きに他のユーザに対応する他のアバターの位置が含まれ発話のある前記他のユーザであり、かつ、前記他のアバターの向きが、前記ユーザに対応する前記アバターの位置を含んでいる場合に、前記他のアバターを対話相手と判定し、前記対話相手以外に出力される音声の態様を変更する、
請求項1または2に記載の仮想空間制御システム。
【請求項4】
前記制御部は、
秘匿性有と判定された場合において、前記対話相手以外と判定された前記他のユーザに対して、前記情報端末装置の前記ユーザに対応した前記アバターの周囲に出力される音声の音量を変化させて出力する、
請求項3に記載の仮想空間制御システム。
【請求項5】
情報端末装置に仮想空間を表示させ、前記仮想空間に前記情報端末装置のユーザに対応するアバターを表示させる仮想空間制御システムが実行する仮想空間制御方法であって、
前記情報端末装置のユーザの音声を検出し、前記ユーザの発話内容に基づいて、前記情報端末装置のユーザに対応したアバターの情報共有範囲における対話相手以外のユーザに出力される音声の態様を変更すること、
を仮想空間制御システムが実行する仮想空間制御方法。
発明の詳細な説明
【技術分野】
【0001】
本発明は、仮想空間制御システムおよび仮想空間制御方法に関する。
続きを表示(約 1,700 文字)
【背景技術】
【0002】
仮想空間に構成した仮想オフィス(バーチャルオフィス)などにおいては、各々のユーザがアバターなどを利用して、仮想オフィス内で業務等を行う。各アバターは、仮想空間上の距離が近い場合や同一空間内などにおいては、相互に声などの音声が聞こえるような状態とする技術が知られている(例えば、特許文献1参照)。
【先行技術文献】
【特許文献】
【0003】
特開2022-071314号公報
【発明の概要】
【発明が解決しようとする課題】
【0004】
各アバターのユーザは、各々の情報端末装置の画面上に仮想空間を表示させるため、業務内容などによっては、仮想空間を表示する画面を確認していない場合や、確認できない場合が生じる。このような状態において、他のユーザのアバターが近づいてきたことに気付かずに発話を継続すると、発話内容を聞かれることを意図していない他のアバターのユーザに発話を聞かれてしまうおそれがある。
【0005】
本開示は、自己のアバターの周囲における他のアバターのユーザとの情報共有条件を適切に設定することを目的とする。
【課題を解決するための手段】
【0006】
上述した課題を解決し、目的を達成するために、本開示に係る仮想空間制御システムは、情報端末装置に仮想空間を表示させ、前記仮想空間に前記情報端末装置のユーザに対応するアバターを表示させる仮想空間制御システムであって、前記仮想空間制御システムが備える制御部は、前記情報端末装置のユーザの音声を検出し、前記ユーザの発話内容に基づいて、前記情報端末装置のユーザに対応したアバターの情報共有範囲における対話相手以外のユーザに出力される音声の態様を変更する。
【0007】
本開示に係る仮想空間制御方法は、情報端末装置に仮想空間を表示させ、前記仮想空間に前記情報端末装置のユーザに対応するアバターを表示させる仮想空間制御システムが実行する仮想空間制御方法であって、前記情報端末装置のユーザの音声を検出し、前記ユーザの発話内容に基づいて、前記情報端末装置のユーザに対応したアバターの情報共有範囲における対話相手以外のユーザに出力される音声の態様を変更すること、を仮想空間制御システムが実行する。
【発明の効果】
【0008】
本開示によれば、自己のアバターの周囲における他のアバターのユーザとの情報共有条件を適切に設定することができる。
【図面の簡単な説明】
【0009】
図1は、第一実施形態に係る仮想空間制御システムの構成例を示す概略図である。
図2は、第一実施形態に係る情報端末装置の構成例を示すブロック図である。
図3は、第一実施形態に係るサーバ装置の構成例を示すブロック図である。
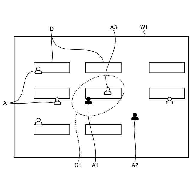
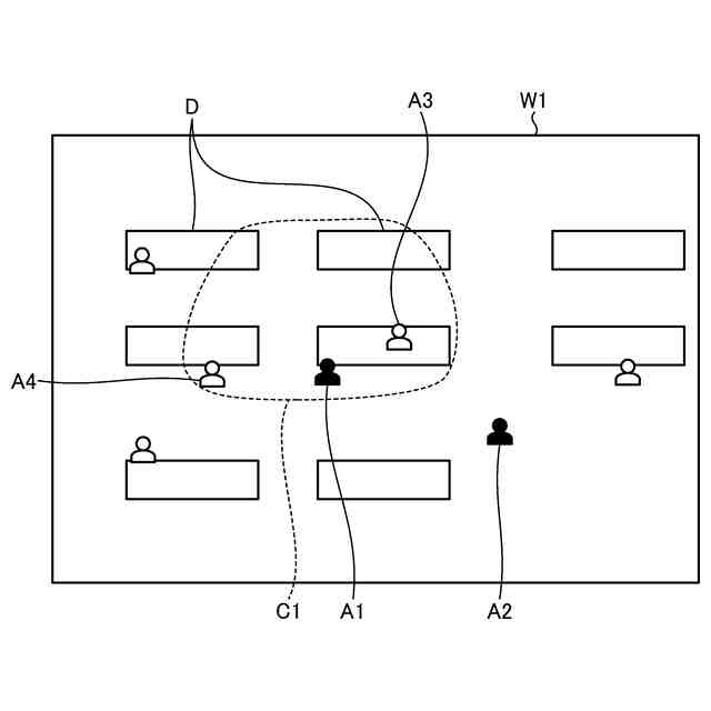
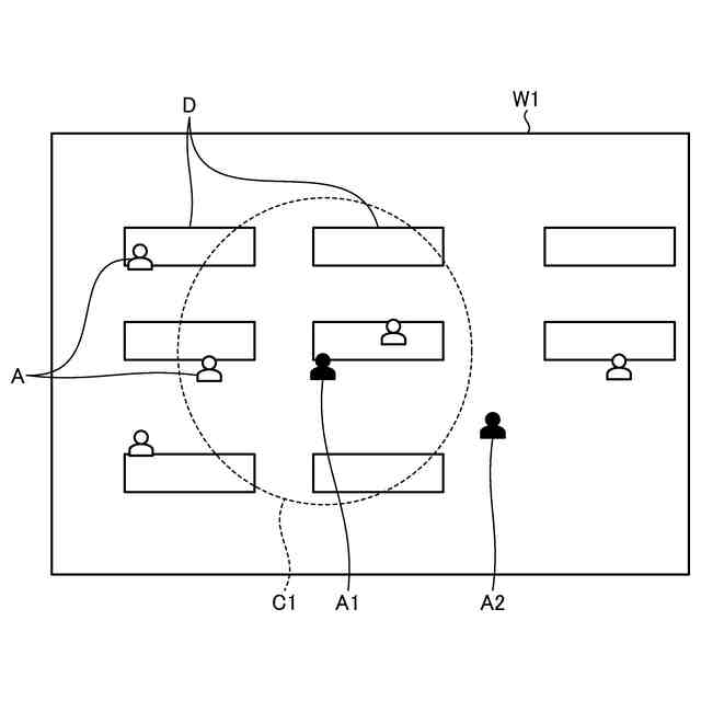
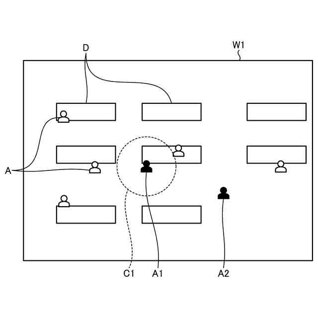
図4は、情報端末装置の表示画面に表示された仮想オフィスの表示画面の一例を示す図である。
図5は、情報端末装置の表示画面に表示された仮想オフィスの表示画面の他の例を示す図である。
図6は、情報端末装置の表示画面に表示された仮想オフィスの表示画面の他の例を示す図である。
図7は、情報端末装置の表示画面に表示された仮想オフィスの表示画面の他の例を示す図である。
図8は、第一実施形態に係る仮想空間制御方法の一例を示すフローチャートである。
図9は、第二実施形態に係る仮想空間制御方法の一例を示すフローチャートである。
図10は、アバター同士の情報共有範囲およびアバターの向きの一例を示す図である。
図11は、アバター同士の情報共有範囲およびアバターの向きの他の例を示す図である。
図12は、第三実施形態に係る仮想空間制御方法の一例を示すフローチャートである。
【発明を実施するための形態】
【0010】
以下に添付図面を参照して、本発明に係る仮想空間制御システムおよび仮想空間制御方法の実施形態を詳細に説明する。なお、以下の実施形態により本発明が限定されるものではない。
(【0011】以降は省略されています)
この特許をJ-PlatPat(特許庁公式サイト)で参照する
関連特許
株式会社JVCケンウッド
光造形装置
5日前
株式会社JVCケンウッド
再生装置及び再生方法
今日
株式会社JVCケンウッド
再生装置及び再生方法
今日
株式会社JVCケンウッド
評価装置及び評価方法
2日前
株式会社JVCケンウッド
再生装置及び再生方法
今日
株式会社JVCケンウッド
タッチパネルの取付構造
5日前
株式会社JVCケンウッド
ヘッドマウントディスプレイ
2日前
株式会社JVCケンウッド
集光レンズ及び投射型表示装置
2日前
株式会社JVCケンウッド
集光レンズ及び投射型表示装置
2日前
株式会社JVCケンウッド
出力制御装置および出力制御方法
5日前
株式会社JVCケンウッド
物体検出システム及び物体検出方法
2日前
株式会社JVCケンウッド
立体視画像生成装置およびプログラム
2日前
株式会社JVCケンウッド
通信装置、通信方法およびプログラム
2日前
株式会社JVCケンウッド
光造形制御装置および造形物の製造方法
5日前
株式会社JVCケンウッド
クリッピング装置及びクリッピング方法
2日前
株式会社JVCケンウッド
光路制御装置、表示装置、及び光路制御方法
5日前
株式会社JVCケンウッド
仮想空間制御システムおよび仮想空間制御方法
2日前
株式会社JVCケンウッド
仮想空間制御システムおよび仮想空間制御方法
2日前
株式会社JVCケンウッド
仮想空間制御システムおよび仮想空間制御方法
6日前
株式会社JVCケンウッド
仮想空間制御システムおよび仮想空間制御方法
6日前
株式会社JVCケンウッド
ナビゲーションシステム、および、ナビゲーション方法
2日前
株式会社JVCケンウッド
画像分類装置、画像分類方法、および画像分類プログラム
6日前
株式会社JVCケンウッド
画像分類装置、画像分類方法、および画像分類プログラム
6日前
株式会社JVCケンウッド
画像分類装置、画像分類方法、および画像分類プログラム
6日前
株式会社JVCケンウッド
携帯機器保持用のアタッチメント,携帯機器の保持構造,及び保持方法
6日前
株式会社JVCケンウッド
液晶デバイス、波長選択スイッチ装置、及び、液晶デバイスの故障検出方法
2日前
株式会社JVCケンウッド
空き状況情報提供装置、空き状況情報提供プログラム、および空き状況情報提供方法
2日前
株式会社JVCケンウッド
表示制御装置、プログラムおよび表示制御方法
2日前
株式会社JVCケンウッド
情報配信装置、情報生成方法、及び情報生成プログラム
2日前
株式会社JVCケンウッド
画像符号化装置、画像符号化方法、画像符号化プログラム、画像復号装置、画像復号方法及び画像復号プログラム
12日前
個人
裁判のAI化
2か月前
個人
フラワーコートA
1か月前
個人
情報処理システム
2か月前
個人
地球保全システム
今日
個人
工程設計支援装置
1か月前
個人
検査システム
2か月前
続きを見る
他の特許を見る