TOP
|
特許
|
意匠
|
商標
特許ウォッチ
Twitter
他の特許を見る
10個以上の画像は省略されています。
公開番号
2025138146
公報種別
公開特許公報(A)
公開日
2025-09-25
出願番号
2024037052
出願日
2024-03-11
発明の名称
画像分類装置、画像分類方法、および画像分類プログラム
出願人
株式会社JVCケンウッド
代理人
個人
主分類
G06N
20/00 20190101AFI20250917BHJP(計算;計数)
要約
【課題】少数画像での追加学習に対して追加クラスの画像の汎化性能と分類精度を向上することができる画像分類技術を提供する。
【解決手段】文章特徴量出力部30は、画像ラベル情報に言葉を追加した加工文章を入力し文章特徴量を出力する。文章特徴量類似度算出部40は、文章特徴量出力部30が継続学習前に出力した全ての基本クラスと追加クラスの文章特徴量を文章重みベクトルとし、前記基本クラスの文章重みベクトルと、追加クラスの文章重みベクトルとを保持し、文章特徴量を入力とし、文章類似度を算出する。画像特徴量類似度算出部20は、文章特徴量出力部30が継続学習前に出力した全ての追加クラスの文章特徴量を追加クラスの画像重みベクトルとし、基本クラスの学習で更新済みの基本クラスの画像重みベクトルと、追加クラスの画像重みベクトルとを保持し、画像特徴量を入力とし、画像類似度を算出する。
【選択図】図21
特許請求の範囲
【請求項1】
継続学習を行う画像分類装置であって、
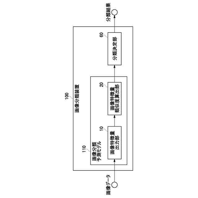
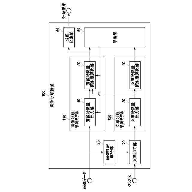
複数ラベルを持つ画像を入力とし、画像ラベル情報を取得する画像情報取得部と、
前記画像ラベル情報を入力とし、前記画像ラベル情報に言葉を追加して加工文章を生成する文章加工部と、
前記加工文章を入力とし、文章特徴量を出力する文章特徴量出力部と、
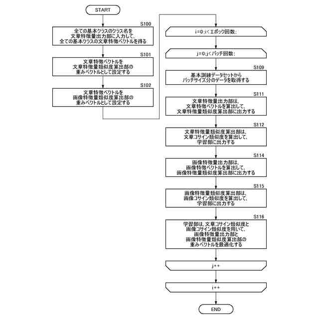
前記文章特徴量出力部が継続学習前に出力した全ての基本クラスと追加クラスの文章特徴量を文章重みベクトルとし、前記基本クラスの文章重みベクトルと、前記追加クラスの文章重みベクトルとを保持し、前記文章特徴量を入力とし、文章類似度を算出する文章特徴量類似度算出部と、
前記画像を入力とし、画像特徴量を出力する画像特徴量出力部と、
前記文章特徴量出力部が継続学習前に出力した全ての追加クラスの文章特徴量を追加クラスの画像重みベクトルとし、基本クラスの学習で更新済みの基本クラスの画像重みベクトルと、前記追加クラスの画像重みベクトルとを保持し、前記画像特徴量を入力とし、画像類似度を算出する画像特徴量類似度算出部と、
前記文章類似度と前記画像類似度とを入力として損失計算を行い、前記画像特徴量類似度算出部の前記基本クラスの画像重みベクトルと前記追加クラスの画像重みベクトルとを更新する学習部とを備えることを特徴とする画像分類装置。
続きを表示(約 1,700 文字)
【請求項2】
前記画像を入力とし、前記画像を加工して加工画像を出力し、さらに前記画像に対してどのような加工をしたかを示す画像加工情報を出力する画像加工部をさらに備え、
前記画像特徴量出力部は、前記加工画像を入力とし、画像特徴量を出力し、
前記文章加工部は、前記画像ラベル情報と前記画像加工情報とを入力とし、前記画像ラベル情報に、前記画像加工情報に関する言葉を追加した加工文章を生成することを特徴とする請求項1に記載の画像分類装置。
【請求項3】
前記画像を入力とし、前記画像のクラスとは無関係である前記画像に含まれる物体に対して不明瞭化する加工をして非対象物不明瞭化画像を生成し、さらに前記画像に対してどのような前記不明瞭化する加工をしたかを示す不明瞭化情報を生成する画像加工部をさらに備え、
前記画像特徴量出力部は、前記非対象物不明瞭化画像を入力とし、画像特徴量を出力し、
前記文章加工部は、前記画像ラベル情報と前記不明瞭化情報とを入力とし、前記画像ラベル情報に、前記不明瞭化情報に関する言葉を追加した加工文章を生成することを特徴とする請求項1に記載の画像分類装置。
【請求項4】
継続学習を行う画像分類方法であって、
複数ラベルを持つ画像を入力とし、画像ラベル情報を取得する画像情報取得ステップと、
前記画像ラベル情報を入力とし、前記画像ラベル情報に言葉を追加して加工文章を生成する文章加工ステップと、
前記加工文章を入力とし、文章特徴量を出力する文章特徴量出力ステップと、
前記文章特徴量出力ステップが継続学習前に出力した全ての基本クラスと追加クラスの文章特徴量を文章重みベクトルとし、前記基本クラスの文章重みベクトルと、前記追加クラスの文章重みベクトルとを保持し、前記文章特徴量を入力とし、文章類似度を算出する文章特徴量類似度算出ステップと、
前記画像を入力とし、画像特徴量を出力する画像特徴量出力ステップと、
前記文章特徴量出力ステップが継続学習前に出力した全ての追加クラスの文章特徴量を追加クラスの画像重みベクトルとし、基本クラスの学習で更新済みの基本クラスの画像重みベクトルと、前記追加クラスの画像重みベクトルとを保持し、前記画像特徴量を入力とし、画像類似度を算出する画像特徴量類似度算出ステップと、
前記文章類似度と前記画像類似度とを入力として損失計算を行い、前記基本クラスの画像重みベクトルと前記追加クラスの画像重みベクトルとを更新する学習ステップとを備えることを特徴とする画像分類方法。
【請求項5】
継続学習を行う画像分類プログラムであって、
複数ラベルを持つ画像を入力とし、画像ラベル情報を取得する画像情報取得ステップと、
前記画像ラベル情報を入力とし、前記画像ラベル情報に言葉を追加して加工文章を生成する文章加工ステップと、
前記加工文章を入力とし、文章特徴量を出力する文章特徴量出力ステップと、
前記文章特徴量出力ステップが継続学習前に出力した全ての基本クラスと追加クラスの文章特徴量を文章重みベクトルとし、前記基本クラスの文章重みベクトルと、前記追加クラスの文章重みベクトルとを保持し、前記文章特徴量を入力とし、文章類似度を算出する文章特徴量類似度算出ステップと、
前記画像を入力とし、画像特徴量を出力する画像特徴量出力ステップと、
前記文章特徴量出力ステップが継続学習前に出力した全ての追加クラスの文章特徴量を追加クラスの画像重みベクトルとし、基本クラスの学習で更新済みの基本クラスの画像重みベクトルと、前記追加クラスの画像重みベクトルとを保持し、前記画像特徴量を入力とし、画像類似度を算出する画像特徴量類似度算出ステップと、
前記文章類似度と前記画像類似度とを入力として損失計算を行い、前記基本クラスの画像重みベクトルと前記追加クラスの画像重みベクトルとを更新する学習ステップとをコンピュータに実行させることを特徴とする画像分類プログラム。
発明の詳細な説明
【技術分野】
【0001】
本発明は、画像分類技術に関する。
続きを表示(約 1,600 文字)
【背景技術】
【0002】
人間は長期にわたる経験を通して新しい知識を学習することができ、昔の知識を忘れないように維持することができる。一方、畳み込みニューラルネットワーク(Convolutional Neural Network(CNN))等を用いたディープニューラルネットワーク(Deep Neural Network(DNN))の知識は学習に使用したデータセットに依存しており、データ分布の変化に適応するためにはデータセット全体に対してDNNのパラメータの再学習が必要となる。DNNでは、新しいタスクについて学習していくにつれて、昔のタスクに対する推定精度は低下していく。このようにDNNでは連続学習を行うと新しいタスクの学習中に昔のタスクの学習結果を忘れてしまう破滅的忘却(catastrophic forgetting)が避けられない。
【0003】
破滅的忘却を回避する手法として、継続学習(incremental learningまたはcontinual learning)が提案されている。継続学習とは、新しいタスクや新しいデータが発生した時に、最初からモデルを学習するのではなく、現在の学習済みのモデルを改善して学習する学習方法である。
【0004】
また、人間は少数画像から新しい知識を学習することができる。一方、畳み込みニューラルネットワーク等を用いた深層学習を利用した人工知能は学習に使用するビッグデータ(大量の画像)に依存している。深層学習を利用した人工知能を少数画像で学習すると、局所性能は良いが汎化性能に劣る過剰適合に陥ることが知られている。
【0005】
過剰適合を回避する手法として、少数ショット学習(few shot learning)が提案されている。少数ショット学習とは、基本タスクでビッグデータを利用して基本知識を学び、基本知識を利用して新規タスクの少数画像から新規知識を学習する学習方法である。
【0006】
継続学習と少数ショット学習の両方の課題を解決する手法として少数ショットクラス追加学習(few shot class incremental learning)があり、平均化した特徴ベクトルを重みベクトルとして利用する技術がある(特許文献1)。
【0007】
また、文章の特徴ベクトルと画像の特徴ベクトルをマッチングさせる技術がある(非特許文献1)。さらに、画像に関するキャプションを生成する技術がある(非特許文献2)。
【先行技術文献】
【非特許文献】
【0008】
特願2023-039351号
Radford, Alec, et al. "Learning transferable visual models from natural language supervision." International conference on machine learning. PMLR, 2021.
Mokady, Ron, Amir Hertz, and Amit H. Bermano. "Clipcap: Clip prefix for image captioning." arXiv preprint arXiv:2111.09734 (2021).
【発明の概要】
【発明が解決しようとする課題】
【0009】
先行技術では、少数画像での追加学習に対して追加クラスの画像の分類精度が十分に高くならない課題があった。
【0010】
本発明はこうした状況に鑑みてなされたものであり、その目的は、文章の特徴ベクトルを利用することで、少数画像での追加学習に対して追加クラスの画像の汎化性能と分類精度を向上することができる画像分類技術を提供することにある。
【課題を解決するための手段】
(【0011】以降は省略されています)
この特許をJ-PlatPat(特許庁公式サイト)で参照する
関連特許
株式会社JVCケンウッド
光造形装置
5日前
株式会社JVCケンウッド
再生装置及び再生方法
今日
株式会社JVCケンウッド
再生装置及び再生方法
今日
株式会社JVCケンウッド
再生装置及び再生方法
今日
株式会社JVCケンウッド
評価装置及び評価方法
2日前
株式会社JVCケンウッド
タッチパネルの取付構造
5日前
株式会社JVCケンウッド
ヘッドマウントディスプレイ
2日前
株式会社JVCケンウッド
集光レンズ及び投射型表示装置
2日前
株式会社JVCケンウッド
集光レンズ及び投射型表示装置
2日前
株式会社JVCケンウッド
行動監視装置および行動監視方法
12日前
株式会社JVCケンウッド
出力制御装置および出力制御方法
5日前
株式会社JVCケンウッド
経路探索装置および経路探索方法
12日前
株式会社JVCケンウッド
物体検出システム及び物体検出方法
2日前
株式会社JVCケンウッド
立体視画像生成装置およびプログラム
2日前
株式会社JVCケンウッド
通信装置、通信方法およびプログラム
2日前
株式会社JVCケンウッド
光造形制御装置および造形物の製造方法
5日前
株式会社JVCケンウッド
クリッピング装置及びクリッピング方法
2日前
株式会社JVCケンウッド
光路制御装置、表示装置、及び光路制御方法
5日前
株式会社JVCケンウッド
仮想空間制御システムおよび仮想空間制御方法
2日前
株式会社JVCケンウッド
仮想空間制御システムおよび仮想空間制御方法
6日前
株式会社JVCケンウッド
仮想空間制御システムおよび仮想空間制御方法
6日前
株式会社JVCケンウッド
仮想空間制御システムおよび仮想空間制御方法
2日前
株式会社JVCケンウッド
無線キー装置、ドアロック解錠システム、解錠方法
12日前
株式会社JVCケンウッド
無線キー装置、ドアロック解錠システム、解錠方法
12日前
株式会社JVCケンウッド
ナビゲーションシステム、および、ナビゲーション方法
2日前
株式会社JVCケンウッド
画像分類装置、画像分類方法、および画像分類プログラム
6日前
株式会社JVCケンウッド
画像分類装置、画像分類方法、および画像分類プログラム
6日前
株式会社JVCケンウッド
画像分類装置、画像分類方法、および画像分類プログラム
6日前
株式会社JVCケンウッド
携帯機器保持用のアタッチメント,携帯機器の保持構造,及び保持方法
6日前
株式会社JVCケンウッド
液晶デバイス、波長選択スイッチ装置、及び、液晶デバイスの故障検出方法
2日前
株式会社JVCケンウッド
空き状況情報提供装置、空き状況情報提供プログラム、および空き状況情報提供方法
2日前
株式会社JVCケンウッド
表示制御装置、プログラムおよび表示制御方法
2日前
株式会社JVCケンウッド
情報配信装置、情報生成方法、及び情報生成プログラム
2日前
株式会社JVCケンウッド
画像符号化装置、画像符号化方法、画像符号化プログラム、画像復号装置、画像復号方法及び画像復号プログラム
12日前
個人
裁判のAI化
2か月前
個人
工程設計支援装置
1か月前
続きを見る
他の特許を見る