TOP
|
特許
|
意匠
|
商標
特許ウォッチ
Twitter
他の特許を見る
10個以上の画像は省略されています。
公開番号
2025138318
公報種別
公開特許公報(A)
公開日
2025-09-25
出願番号
2024037342
出願日
2024-03-11
発明の名称
携帯機器保持用のアタッチメント,携帯機器の保持構造,及び保持方法
出願人
株式会社JVCケンウッド
代理人
個人
,
個人
,
個人
主分類
H04M
1/11 20060101AFI20250917BHJP(電気通信技術)
要約
【課題】コスト高となりにくく、振動で飛び出しにくく、容易に取り外すことができる携帯機器保持用のアタッチメントを提供する。
【解決手段】携帯機器保持用のアタッチメント(2)は、スマートフォンを保持するホルダ(1)に取り付けられて用いられ、矩形平板状に形成され携帯機器(3)のクリップ部(32)が第1の方向に係合可能なベース部(21)と、第1の方向に直交する第2の方向に対向する領域であるベース部(21)の縁部から同じ向きに突出する一対の側壁部(22,23)と、を有して断面コ字状に形成されている。ベース部(21)の内面(21a)を第2の方向に2分割して第1領域(AR1)と第2領域(AR2)としたときに、第2領域(AR2)は平坦であり、第1領域(AR1)は、第1の方向の一方側が平坦とされ、他方側に、第1の方向の断面が略三角形状で内面(21a)から突出し第2の方向に延びる係合凸部(251)が第1の方向に複数並設された係合部(25)が設けられている。
【選択図】図2B
特許請求の範囲
【請求項1】
スマートフォンを保持するホルダに取り付けられて用いられ、
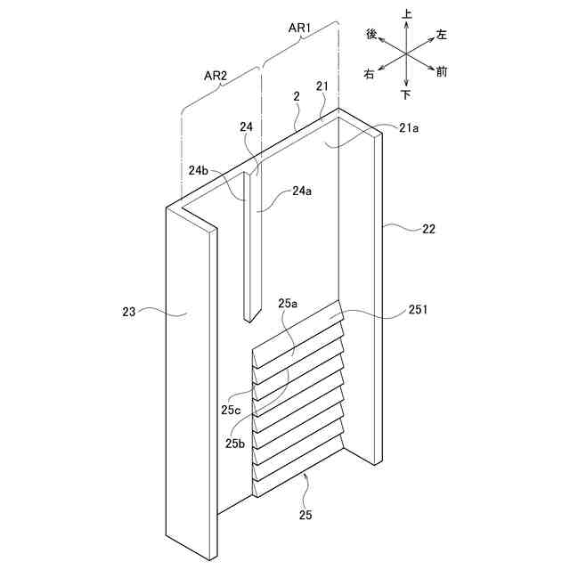
矩形平板状に形成され携帯機器のクリップ部が第1の方向に係合可能なベース部と、前記第1の方向に直交する第2の方向に対向する領域である前記ベース部の縁部から同じ向きに突出する一対の側壁部と、を有して断面コ字状に形成され、
前記ベース部の内面を前記第2の方向に2分割して第1領域と第2領域としたときに、
前記第2領域は平坦であり、
前記第1領域は、前記第1の方向の一方側が平坦とされ、他方側に、前記第1の方向の断面が略三角形状で前記内面から突出し前記第2の方向に延びる係合凸部が前記第1の方向に複数並設された係合部が設けられた携帯機器保持用のアタッチメント。
続きを表示(約 1,000 文字)
【請求項2】
前記内面の前記第1の方向の一方側において前記第1領域と前記第2領域とに跨ると共に前記第2領域に向かうにしたがって前記内面からの突出高さが高くなる傾斜面を有して前記第1の方向に延びるよう形成されたガイド部を有する請求項1記載の携帯機器保持用のアタッチメント。
【請求項3】
前記係合凸部は、前記第2領域の側の端部が、前記端部に向かうほど突出高さが高くなる傾斜部とされている請求項1記載の携帯機器保持用のアタッチメント。
【請求項4】
前記係合凸部は、前記第2領域の側の端部において、頂部が前記端部に向かうほど前記第1の方向の前記一方側に曲がる湾曲部とされている請求項1記載の携帯機器保持用のアタッチメント。
【請求項5】
ベース板を有し前記ベース板に載置されたスマートフォンを保持可能なホルダと、
前記ベース板に載置されて前記ホルダに保持されたアタッチメントと、
を備え、
前記アタッチメントは請求項1~4のいずれか1項に記載の携帯機器保持用のアタッチメントであって、前記一対の側壁部が前記ベース板の側となる向きに保持されて、前記ホルダの前記ベース板と前記アタッチメントの前記ベース部との間に空間が形成されており、
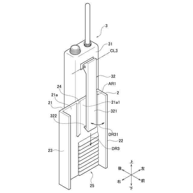
クリップ腕部を有するクリップ部を備えた携帯機器を、前記クリップ部のクリップ腕部を前記空間内の前記アタッチメントの前記第1領域に前記一方側から進入させて前記係合部に係合させることで保持し、
保持した前記携帯機器を、前記第2領域に横スライドさせて前記クリップ腕部と前記係合部との係合を解除してから、前記一方側に向け移動させることで前記空間から離脱して抜き取ることができる、携帯機器の保持構造。
【請求項6】
クリップ部を備えた携帯機器を保持するアタッチメントを、
第1の方向の一方側を平坦面とし他方側に前記クリップ部と係合する係合部を設けた第1領域と、前記第1領域に対し前記第1の方向と直交する第2の方向に隣接する平坦面の第2領域とを有するよう形成し、
前記携帯機器を、前記第1領域に、前記第1の方向の一方側から前記クリップ部に挟みながら進入させて前記係合部に係合する保持状態とし、
前記保持状態の携帯機器を、前記第2の方向に横スライドさせて前記クリップ部と前記係合部との係合が解除する第2領域に移動してから、前記第1の方向の一方側に向け移動することで前記アタッチメントから取り外すことができる、携帯機器の保持方法。
発明の詳細な説明
【技術分野】
【0001】
本発明は、携帯機器保持用のアタッチメント,携帯機器の保持構造,及び保持方法に関する。
続きを表示(約 3,300 文字)
【背景技術】
【0002】
携帯無線機などの携帯機器を壁面などに保持させる保持構造が特許文献1に記載されている。特許文献1に記載された保持構造は、挿入孔を形成する係合凹部形成部材を有するベース板と、ベース板の挿入孔に係合させるクリップを有し携帯無線機を挟着可能なホルダ本体とを有する。そして、ベース板を、携帯無線機を保持させたい壁面などに予め固定しておき、携帯無線機を挟着したホルダ本体のクリップを、ベース板の挿入孔に係合させる。これにより、携帯無線機を壁面などに保持させることができる。
【先行技術文献】
【特許文献】
【0003】
特開平8-214051号公報
【発明の概要】
【発明が解決しようとする課題】
【0004】
スマートフォンの普及に伴い、スマートフォンを自動車のダッシュボードに保持させるための汎用ホルダも普及している。このホルダは、例えば、ダッシュボードに固定される背板と、背板から居室側に突出し、スマートフォンの下縁を支持する底壁部と、スマートフォンの両側面を弾性的に挟持する複数の腕部とを有する。この構造のホルダは、外形寸法の違いが小さい種々のスマートフォンを保持できて高い汎用性を有する。
一方、携帯無線機は、一般的に、使用者のポケット或いはベルトなどに容易に保持させることができるよう背面にクリップを有する、或いはクリップを装着可能とされている。
【0005】
ベルトに引っ掛けるためのクリップを有する携帯機器である例えば携帯無線機を、例えばダッシュボードに保持させるために特許文献1に記載された保持構造を採用する場合、携帯無線機とスマートフォンとは外形形状が大きく異なるため、ホルダにスマートフォン用のホルダを利用することができない。すなわち、携帯無線機の外形形状に合わせた専用のホルダを用いる必要がありコスト高となる。また、その保持構造が、クリップをベース板に摺動させて挿入する構造の場合、自動車の激しい上下振動で携帯無線機が飛び出して外れてしまう虞がある。このような携帯無線機の飛び出しを避けるために、クリップとベース板とに波板状の係合構造を採用することが検討されるが、取り外しの際には、波板状の係合を解除するためクリップ先端を指で開くなどして抜き取る必要があり、取り外しが必ずしも容易とは言えない。
そのため、コスト高となりにくく、振動で飛び出すことがなく、容易に取り外すことができる携帯機器の保持構造が望まれている。
【0006】
そこで、本発明の目的は、コスト高となりにくく、振動で飛び出しにくく、容易に取り外すことができる携帯機器保持用のアタッチメント,携帯機器の保持構造,及び保持方法を提供することにある。
【課題を解決するための手段】
【0007】
上述した課題を解決するために、本発明の実施形態の一態様である携帯機器保持用のアタッチメント及び携帯機器の保持構造は次の構成を有する。
1) スマートフォンを保持するホルダに取り付けられて用いられ、
矩形平板状に形成され携帯機器のクリップ部が第1の方向に係合可能なベース部と、前記第1の方向に直交する第2の方向に対向する領域である前記ベース部の縁部から同じ向きに突出する一対の側壁部と、を有して断面コ字状に形成され、
前記ベース部の内面を前記第2の方向に2分割して第1領域と第2領域としたときに、
前記第2領域は平坦であり、
前記第1領域は、前記第1の方向の一方側が平坦とされ、他方側に、前記第1の方向の断面が略三角形状で前記内面から突出し前記第2の方向に延びる係合凸部が前記第1の方向に複数並設された係合部が設けられた携帯機器保持用のアタッチメントである。
2) ベース板を有し前記ベース板に載置されたスマートフォンを保持可能なホルダと、
前記ベース板に載置されて前記ホルダに保持されたアタッチメントと、
を備え、
前記アタッチメントは1)に記載の携帯機器保持用のアタッチメントであって、前記一対の側壁部が前記ベース板の側となる向きに保持されて、前記ホルダの前記ベース板と前記アタッチメントの前記ベース部との間に空間が形成されており、
クリップ腕部を有するクリップ部を備えた携帯機器を、前記クリップ部のクリップ腕部を前記空間内の前記アタッチメントの前記第1領域に前記一方側から進入させて前記係合部に係合させることで保持し、
保持した前記携帯機器を、前記第2領域に横スライドさせて前記クリップ腕部と前記係合部との係合を解除してから、前記一方側に向け移動させることで前記空間から離脱して抜き取ることができる、携帯機器の保持構造である。
3) クリップ部を備えた携帯機器を保持するアタッチメントを、
第1の方向の一方側を平坦面とし他方側に前記クリップ部と係合する係合部を設けた第1領域と、前記第1領域に対し前記第1の方向と直交する第2の方向に隣接する平坦面の第2領域とを有するよう形成し、
前記携帯機器を、前記第1領域に、前記第1の方向の一方側から前記クリップ部に挟みながら進入させて前記係合部に係合する保持状態とし、
前記保持状態の携帯機器を、前記第2の方向に横スライドさせて前記クリップ部と前記係合部との係合が解除する第2領域に移動してから、前記第1の方向の一方側に向け移動することで前記アタッチメントから取り外すことができる、携帯機器の保持方法である。
【発明の効果】
【0008】
本発明の携帯機器保持用のアタッチメント,携帯機器の保持構造,及び保持方法によれば、コスト高となりにくく、振動で飛び出しにくく、容易に取り外すことができる、という効果が得られる。
【図面の簡単な説明】
【0009】
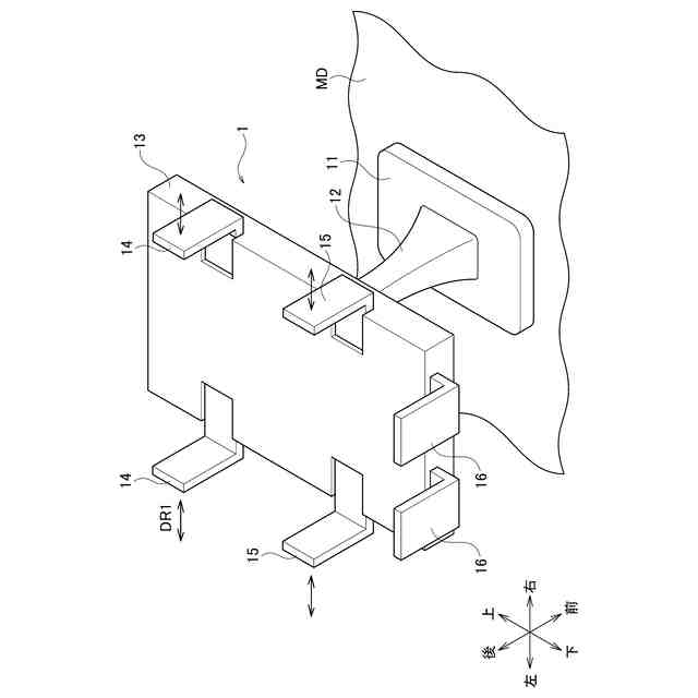
図1は、本発明の携帯機器の保持構造の一態様である保持構造HKにおけるホルダ1を右後斜め下方から見た斜視図である。
図2Aは、保持構造HKにおけるアタッチメント2を右後斜め下方から見た斜視図である。
図2Bは、アタッチメント2を右前斜め上方から見た斜視図である。
図2Cは、アタッチメント2の前面図である。
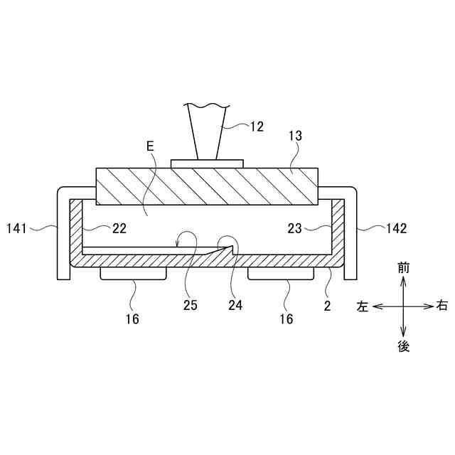
図3Aは、保持構造HKにおけるホルダ体HTを右後斜め下方から見た斜視図である。
図3Bは、図3AにおけるS3B-S3B位置での断面図である。
図4Aは、アタッチメント2に携帯無線機3を保持させる方法を説明するための右前斜め上方から見た第1の斜視図である。
図4Bは、アタッチメント2に携帯無線機3を保持させる方法を説明するための右前斜め上方から見た第2の斜視図である。
図4Cは、アタッチメント2から携帯無線機3を取り外す方法を説明するための右前斜め上方から見た斜視図である。
図4Dは、ホルダ体HTに携帯無線機3を保持させた状態を右後斜め下方から見た斜視図である。
図5は、アタッチメント2の変形例1であるアタッチメント2Aを右前斜め上方から見た斜視図である。
図6は、アタッチメント2の変形例2であるアタッチメント2Bの前面図である。
【発明を実施するための形態】
【0010】
本発明の携帯機器の保持構造の一態様である保持構造HKを、図1~図3Bを参照して説明する。図1は、本発明の携帯機器の保持構造の一態様である保持構造HKにおけるホルダ1を右後斜め下方から見た斜視図である。図2Aは、保持構造HKにおけるアタッチメント2を右後斜め下方から見た斜視図である。図2Bは、アタッチメント2を右前斜め上方から見た斜視図である。図2Cは、アタッチメント2の前面図である。図3Aは、保持構造HKにおけるホルダ体HTを右後斜め下方から見た斜視図である。図3Bは、図3AにおけるS3B-S3B位置での断面図である。
(【0011】以降は省略されています)
この特許をJ-PlatPat(特許庁公式サイト)で参照する
関連特許
株式会社JVCケンウッド
再生装置及び再生方法
今日
個人
店内配信予約システム
2か月前
WHISMR合同会社
収音装置
20日前
サクサ株式会社
中継装置
2か月前
キヤノン株式会社
電子機器
2か月前
アイホン株式会社
電気機器
14日前
キヤノン株式会社
撮像装置
3か月前
キヤノン株式会社
撮像装置
1か月前
ヤマハ株式会社
信号処理装置
3か月前
株式会社リコー
画像形成装置
1か月前
電気興業株式会社
無線中継器
3か月前
キヤノン電子株式会社
モバイル装置
2か月前
株式会社リコー
画像形成装置
1か月前
日本精機株式会社
画像投映システム
2か月前
キヤノン電子株式会社
画像読取装置
21日前
株式会社リコー
画像形成装置
1か月前
個人
ワイヤレスイヤホン対応耳掛け
12日前
ブラザー工業株式会社
読取装置
1か月前
キヤノン株式会社
撮像システム
14日前
株式会社ニコン
撮像装置
2か月前
パテントフレア株式会社
水中電波通信法
1か月前
DXO株式会社
情報処理システム
2か月前
株式会社松平商会
携帯機器カバー
23日前
株式会社小糸製作所
画像照射装置
29日前
キヤノン電子株式会社
シート材搬送装置
1か月前
国立大学法人電気通信大学
小型光学装置
1か月前
沖電気工業株式会社
画像形成装置
2日前
パテントフレア株式会社
超高速電波通信
28日前
大日本印刷株式会社
写真撮影装置
13日前
日本無線株式会社
無線通信システム
6日前
株式会社リコー
画像形成装置
1か月前
日本無線株式会社
無線通信システム
23日前
日本無線株式会社
無線通信システム
1か月前
個人
外部ヘッダ変換通信装置および通信網
3か月前
日本無線株式会社
無線通信システム
1か月前
株式会社国際電気
遠隔監視システム
29日前
続きを見る
他の特許を見る