TOP
|
特許
|
意匠
|
商標
特許ウォッチ
Twitter
他の特許を見る
公開番号
2025136375
公報種別
公開特許公報(A)
公開日
2025-09-19
出願番号
2024034899
出願日
2024-03-07
発明の名称
無線キー装置、ドアロック解錠システム、解錠方法
出願人
株式会社JVCケンウッド
代理人
個人
主分類
E05B
49/00 20060101AFI20250911BHJP(錠;鍵;窓または戸の付属品;金庫)
要約
【課題】リレーアタックの行為を抑制する技術を提供する。
【解決手段】送信部222は、LF通信により解錠信号を受信し、近距離通信により車両と通信している場合、応答信号を送信する。送信部222は、LF通信により解錠信号を受信し、かつ近距離通信により車両と通信していない場合、位置情報が第1エリアから第3エリアに含まれていなければ、第1起動信号を送信する。送信部222は、上記の場合において、位置情報が第2エリアに含まれていれば、第2起動信号を送信する。送信部222は、上記の場合において、位置情報が第3エリアに含まれていれば、第3起動信号を送信する。送信部222は、上記の場合において、位置情報が第1エリアに含まれていれば、いずれの起動信号も送信しない。
【選択図】図3
特許請求の範囲
【請求項1】
位置情報を取得する取得部と、
前記位置情報に対する第1エリア、第2エリア、第3エリアの情報を記憶する記憶部と、
車両のドアロックを解錠させるための解錠信号を第1無線通信方式により前記車両から受信可能な受信部と、
前記第1無線通信方式とは異なった第2無線通信方式により前記車両と通信可能な通信部と、
前記受信部が前記第1無線通信方式により前記解錠信号を受信した場合、前記通信部が前記第2無線通信方式により前記車両と通信していれば、前記解錠信号に応答するための応答信号を前記車両に送信する送信部を備え、
前記送信部は、前記受信部が前記第1無線通信方式により前記解錠信号を受信し、かつ前記通信部が前記第2無線通信方式により前記車両と通信していない場合、前記位置情報が前記第1エリア、前記第2エリア、前記第3エリアに含まれていなければ、前記車両に搭載した防犯装置を第1期間動作させるための第1起動信号を前記車両に送信し、
前記送信部は、前記受信部が前記第1無線通信方式により前記解錠信号を受信し、かつ前記通信部が前記第2無線通信方式により前記車両と通信していない場合、前記位置情報が前記第2エリアに含まれていれば、前記防犯装置を、前記第1期間よりも短い第2期間動作させるための第2起動信号を前記車両に送信し、
前記送信部は、前記受信部が前記第1無線通信方式により前記解錠信号を受信し、かつ前記通信部が前記第2無線通信方式により前記車両と通信していない場合、前記位置情報が前記第3エリアに含まれていれば、前記防犯装置を、前記第1期間よりも長い第3期間動作させるための第3起動信号を前記車両に送信し、
前記送信部は、前記受信部が前記第1無線通信方式により前記解錠信号を受信し、かつ前記通信部が前記第2無線通信方式により前記車両と通信していない場合、前記位置情報が前記第1エリアに含まれていれば、前記第1起動信号、前記第2起動信号、前記第3起動信号を送信しない無線キー装置。
続きを表示(約 2,100 文字)
【請求項2】
サーバと通信可能なサーバ通信部をさらに備え、
前記サーバ通信部は、前記受信部が前記第1無線通信方式により前記解錠信号を受信し、かつ前記通信部が前記第2無線通信方式により前記車両と通信していない場合において、前記位置情報が前記第1エリア、前記第2エリア、前記第3エリアに含まれていなければ、前記位置情報を前記第3エリアに追加させるために前記位置情報を前記サーバに送信し、
前記サーバ通信部は、更新された前記第3エリアの情報を前記サーバから受信した場合、更新された前記第3エリアの情報を前記記憶部に記憶させる請求項1に記載の無線キー装置。
【請求項3】
前記更新された前記第3エリアの情報は、前記サーバが複数の前記無線キー装置から受信した、前記位置情報ごとの数が閾値を超えた場合、前記閾値の数を超えた前記位置情報を前記第3エリアに追加した情報である、請求項2に記載の無線キー装置。
【請求項4】
ドアロックを備える車両と、
前記ドアロックの解錠に使用される無線キー装置とを備え、
前記無線キー装置は、位置情報を取得可能であるとともに、前記位置情報に対する第1エリア、第2エリア、第3エリアの情報を記憶し、
前記車両は、前記車両のドアロックを解錠させるための解錠信号を第1無線通信方式により送信し、
前記車両と前記無線キー装置は、前記第1無線通信方式とは異なった第2無線通信方式により通信可能であり、
前記無線キー装置は、前記第1無線通信方式により前記解錠信号を受信した場合、前記第2無線通信方式により前記車両と通信していれば、前記解錠信号に応答するための応答信号を前記車両に送信し、
前記無線キー装置は、前記第1無線通信方式により前記解錠信号を受信し、かつ前記第2無線通信方式により前記車両と通信していない場合、前記位置情報が前記第1エリア、前記第2エリア、前記第3エリアに含まれていなければ、前記車両に搭載した防犯装置を第1期間動作させるための第1起動信号を前記車両に送信し、
前記無線キー装置は、前記第1無線通信方式により前記解錠信号を受信し、かつ前記第2無線通信方式により前記車両と通信していない場合、前記位置情報が前記第2エリアに含まれていれば、前記防犯装置を、前記第1期間よりも短い第2期間動作させるための第2起動信号を前記車両に送信し、
前記無線キー装置は、前記第1無線通信方式により前記解錠信号を受信し、かつ前記第2無線通信方式により前記車両と通信していない場合、前記位置情報が前記第3エリアに含まれていれば、前記防犯装置を、前記第1期間よりも長い第3期間動作させるための第3起動信号を前記車両に送信し、
前記無線キー装置は、前記第1無線通信方式により前記解錠信号を受信し、かつ前記第2無線通信方式により前記車両と通信していない場合、前記位置情報が前記第1エリアに含まれていれば、前記第1起動信号、前記第2起動信号、前記第3起動信号を送信しないドアロック解錠システム。
【請求項5】
位置情報を取得可能であるとともに、前記位置情報に対する第1エリア、第2エリア、第3エリアの情報を記憶する無線キー装置における解錠方法であって、
車両のドアロックを解錠させるための解錠信号を第1無線通信方式により前記車両から受信可能なステップと、
前記第1無線通信方式とは異なった第2無線通信方式により前記車両と通信可能なステップと、
前記第1無線通信方式により前記解錠信号を受信した場合、前記第2無線通信方式により前記車両と通信していれば、前記解錠信号に応答するための応答信号を前記車両に送信するステップと、
前記第1無線通信方式により前記解錠信号を受信し、かつ前記第2無線通信方式により前記車両と通信していない場合、前記位置情報が前記第1エリア、前記第2エリア、前記第3エリアに含まれていなければ、前記車両に搭載した防犯装置を第1期間動作させるための第1起動信号を前記車両に送信するステップと、
前記第1無線通信方式により前記解錠信号を受信し、かつ前記第2無線通信方式により前記車両と通信していない場合、前記位置情報が前記第2エリアに含まれていれば、前記防犯装置を、前記第1期間よりも短い第2期間動作させるための第2起動信号を前記車両に送信するステップと、
前記第1無線通信方式により前記解錠信号を受信し、かつ前記第2無線通信方式により前記車両と通信していない場合、前記位置情報が前記第3エリアに含まれていれば、前記防犯装置を、前記第1期間よりも長い第3期間動作させるための第3起動信号を前記車両に送信するステップと、
前記第1無線通信方式により前記解錠信号を受信し、かつ前記第2無線通信方式により前記車両と通信していない場合、前記位置情報が前記第1エリアに含まれていれば、前記第1起動信号、前記第2起動信号、前記第3起動信号を送信しない解錠方法。
発明の詳細な説明
【技術分野】
【0001】
本発明は、解錠技術に関し、特に無線通信を使用する無線キー装置、ドアロック解錠システム、解錠方法に関する。
続きを表示(約 2,900 文字)
【背景技術】
【0002】
リレーアタックは、車両のドアロックを不正に解錠する手段である。リレーアタックでは、車両のドアロックを解錠するために車両から発信される信号が第3者によって不正に受信され、本来であれば届くはずのない離れた場所にあるスマートキーへ当該信号が送信される。これにより、スマートキーから開錠用の応答信号が送信されるので、応答信号を受信することによってドアロックが解錠される。このようなリレーアタックを防止するために、車両から発信された信号の受信強度が大きければ、ドアロックの不正な解錠であると判定される(例えば、特許文献1)。
【先行技術文献】
【特許文献】
【0003】
特開2021-67056号公報
【発明の概要】
【発明が解決しようとする課題】
【0004】
リレーアタックを防止することは重要であるが、リレーアタックの行為を抑制することも重要である。
【0005】
本発明はこうした状況に鑑みてなされたものであり、その目的は、リレーアタックの行為を抑制する技術を提供することである。
【課題を解決するための手段】
【0006】
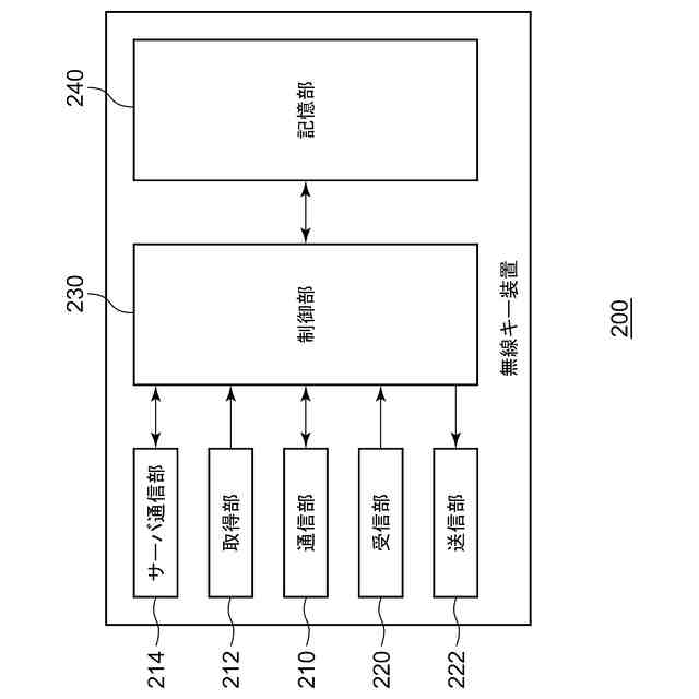
上記課題を解決するために、本発明のある態様の無線キー装置は、位置情報を取得する取得部と、位置情報に対する第1エリア、第2エリア、第3エリアの情報を記憶する記憶部と、車両のドアロックを解錠させるための解錠信号を第1無線通信方式により車両から受信可能な受信部と、第1無線通信方式とは異なった第2無線通信方式により車両と通信可能な通信部と、受信部が第1無線通信方式により解錠信号を受信した場合、通信部が第2無線通信方式により車両と通信していれば、解錠信号に応答するための応答信号を車両に送信する送信部を備える。送信部は、受信部が第1無線通信方式により解錠信号を受信し、かつ通信部が第2無線通信方式により車両と通信していない場合、位置情報が第1エリア、第2エリア、第3エリアに含まれていなければ、車両に搭載した防犯装置を第1期間動作させるための第1起動信号を車両に送信し、送信部は、受信部が第1無線通信方式により解錠信号を受信し、かつ通信部が第2無線通信方式により車両と通信していない場合、位置情報が第2エリアに含まれていれば、防犯装置を、第1期間よりも短い第2期間動作させるための第2起動信号を車両に送信し、送信部は、受信部が第1無線通信方式により解錠信号を受信し、かつ通信部が第2無線通信方式により車両と通信していない場合、位置情報が第3エリアに含まれていれば、防犯装置を、第1期間よりも長い第3期間動作させるための第3起動信号を車両に送信し、送信部は、受信部が第1無線通信方式により解錠信号を受信し、かつ通信部が第2無線通信方式により車両と通信していない場合、位置情報が第1エリアに含まれていれば、第1起動信号、第2起動信号、第3起動信号を送信しない。
【0007】
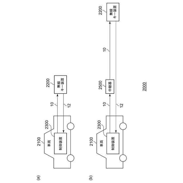
ここで、「車両から受信」は車両に搭載された装置から受信することを含み、「車両と通信」は車両に搭載された装置と通信することを含み、「車両に送信」は車両に搭載された装置に送信することを含む。
【0008】
本発明の別の態様は、ドアロック解錠システムである。このドアロック解錠システムは、ドアロックを備える車両と、ドアロックの解錠に使用される無線キー装置とを備える。無線キー装置は、位置情報を取得可能であるとともに、位置情報に対する第1エリア、第2エリア、第3エリアの情報を記憶し、車両は、車両のドアロックを解錠させるための解錠信号を第1無線通信方式により送信し、車両と無線キー装置は、第1無線通信方式とは異なった第2無線通信方式により通信可能であり、無線キー装置は、第1無線通信方式により解錠信号を受信した場合、第2無線通信方式により車両と通信していれば、解錠信号に応答するための応答信号を車両に送信し、無線キー装置は、第1無線通信方式により解錠信号を受信し、かつ第2無線通信方式により車両と通信していない場合、位置情報が第1エリア、第2エリア、第3エリアに含まれていなければ、車両に搭載した防犯装置を第1期間動作させるための第1起動信号を車両に送信し、無線キー装置は、第1無線通信方式により解錠信号を受信し、かつ第2無線通信方式により車両と通信していない場合、位置情報が第2エリアに含まれていれば、防犯装置を、第1期間よりも短い第2期間動作させるための第2起動信号を車両に送信し、無線キー装置は、第1無線通信方式により解錠信号を受信し、かつ第2無線通信方式により車両と通信していない場合、位置情報が第3エリアに含まれていれば、防犯装置を、第1期間よりも長い第3期間動作させるための第3起動信号を車両に送信し、無線キー装置は、第1無線通信方式により解錠信号を受信し、かつ第2無線通信方式により車両と通信していない場合、位置情報が第1エリアに含まれていれば、第1起動信号、第2起動信号、第3起動信号を送信しない。
【0009】
本発明のさらに別の態様は、解錠方法である。この方法は、位置情報を取得可能であるとともに、位置情報に対する第1エリア、第2エリア、第3エリアの情報を記憶する無線キー装置における解錠方法であって、車両のドアロックを解錠させるための解錠信号を第1無線通信方式により車両から受信可能なステップと、第1無線通信方式とは異なった第2無線通信方式により車両と通信可能なステップと、第1無線通信方式により解錠信号を受信した場合、第2無線通信方式により車両と通信していれば、解錠信号に応答するための応答信号を車両に送信するステップと、第1無線通信方式により解錠信号を受信し、かつ第2無線通信方式により車両と通信していない場合、位置情報が第1エリア、第2エリア、第3エリアに含まれていなければ、車両に搭載した防犯装置を第1期間動作させるための第1起動信号を車両に送信するステップと、第1無線通信方式により解錠信号を受信し、かつ第2無線通信方式により車両と通信していない場合、位置情報が第2エリアに含まれていれば、防犯装置を、第1期間よりも短い第2期間動作させるための第2起動信号を車両に送信するステップと、第1無線通信方式により解錠信号を受信し、かつ第2無線通信方式により車両と通信していない場合、位置情報が第3エリアに含まれていれば、防犯装置を、第1期間よりも長い第3期間動作させるための第3起動信号を車両に送信するステップと、第1無線通信方式により解錠信号を受信し、かつ第2無線通信方式により車両と通信していない場合、位置情報が第1エリアに含まれていれば、第1起動信号、第2起動信号、第3起動信号を送信しない。
【0010】
なお、以上の構成要素の任意の組合せ、本発明の表現を方法、装置、システム、記録媒体、コンピュータプログラムなどの間で変換したものもまた、本発明の態様として有効である。
【発明の効果】
(【0011】以降は省略されています)
この特許をJ-PlatPat(特許庁公式サイト)で参照する
関連特許
個人
物品保管箱
2か月前
個人
防犯用ドア装置
2か月前
個人
ピンシリンダー錠。
3か月前
個人
顔認証による入室システム
3か月前
個人
ポスト機能付き手提げ金庫
1か月前
個人
二重ロック機能付小物入れ
2か月前
株式会社ニシムラ
ラッチ錠
3か月前
ミサワホーム株式会社
錠受具
3か月前
三協立山株式会社
開口部装置
1か月前
個人
無人貸金庫システム
15日前
リョービ株式会社
ドアクローザ
2か月前
リョービ株式会社
ドアクローザ
2か月前
株式会社アルファ
電気錠
2か月前
有限会社シティング
引き戸
22日前
積水ハウス株式会社
引き戸
24日前
株式会社ベスト
開き扉の開閉装置
1か月前
株式会社榮伸
カバン蓋の係止装置
1か月前
積水ハウス株式会社
引き戸
12日前
タキゲン製造株式会社
抜差し蝶番
4か月前
株式会社ベスト
扉及び個室
12日前
美和ロック株式会社
ハンドル装置
4か月前
ミネベアショウワ株式会社
ドア装置
1か月前
ミネベアショウワ株式会社
ドア装置
1か月前
美和ロック株式会社
IDキー
2か月前
スズキ株式会社
車両用乗員保護装置
1か月前
コイト電工株式会社
蝶番の取付構造
1日前
株式会社LIXIL
建具
2か月前
株式会社LIXIL
建具
1か月前
神田工業株式会社
解錠システム
3か月前
株式会社WEST inx
引戸用引手
3か月前
株式会社ユニオン
ドアハンドル
16日前
株式会社LIXIL
建具
12日前
株式会社アイシン
ドア支持装置
1日前
ミネベアミツミ株式会社
電気錠
4か月前
株式会社アイシン
車両用ドア装置
9日前
株式会社ナガエ
宅配ボックス用の錠装置
22日前
続きを見る
他の特許を見る