TOP
|
特許
|
意匠
|
商標
特許ウォッチ
Twitter
他の特許を見る
10個以上の画像は省略されています。
公開番号
2025139222
公報種別
公開特許公報(A)
公開日
2025-09-26
出願番号
2024038037
出願日
2024-03-12
発明の名称
光造形制御装置および造形物の製造方法
出願人
株式会社JVCケンウッド
代理人
弁理士法人酒井国際特許事務所
主分類
B29C
64/393 20170101AFI20250918BHJP(プラスチックの加工;可塑状態の物質の加工一般)
要約
【課題】サポート部の造形を不要とし、造形工程の簡素化を実現できる光造形制御装置および造形物の製造方法を提供する。
【解決手段】光造形装置100を制御する制御装置130であって、プラットホーム12を界面3Aに対して上昇させつつ、光Lの照射により硬化層を順次下方に積層させた第1造形物2Aを造形するステップと、プラットホーム12を界面3Aに対して下降させて第1造形物2Aの少なくとも一部を、離型材料3に沈下させた後、プラットホーム12を界面3Aに対してさらに下降させつつ、光Lの照射により第1造形物2Aの最下面よりも高い位置に硬化層を順次上方に積層させた第2造形物2Bを一体に造形するステップと、を実行する造形制御部136を備えた。
【選択図】図5
特許請求の範囲
【請求項1】
光硬化性樹脂および前記光硬化性樹脂よりも比重が大きく、かつ前記光硬化性樹脂と相分離する液状の離形材料を貯留する造形槽と、前記離形材料と前記光硬化性樹脂との界面に対して昇降可能なプラットホームと、を備え、前記離形材料との界面上に、所定厚みに調整された光硬化性樹脂に対して、前記離形材料を通じて光を照射し、該光硬化性樹脂が硬化した硬化層を順次積層することで造形物を造形する光造形装置を制御する光造形制御装置であって、
前記プラットホームを前記界面に対して上昇させつつ、前記光の照射により前記硬化層を順次下方に積層させた第1造形物を造形するステップと、
前記プラットホームを前記界面に対して下降させて前記第1造形物の少なくとも一部を、前記離形材料に沈下させた後、前記プラットホームを前記界面に対して下降させつつ、前記光の照射により前記第1造形物の最下面よりも高い位置に前記硬化層を順次上方に積層させた第2造形物を造形するステップと、を実行する造形制御部を備えた光造形制御装置。
続きを表示(約 720 文字)
【請求項2】
前記造形制御部は、前記第1造形物における前記プラットホームの側に位置した面から該プラットホームに向けて前記第2造形物を造形する請求項1に記載の光造形制御装置。
【請求項3】
前記造形制御部は、前記第1造形物における高さ方向に沿った面に前記第2造形物を造形する請求項1に記載の光造形制御装置。
【請求項4】
前記造形制御部は、前記第1造形物を造形するステップの後に、前記第1造形物の前記光硬化性樹脂とは異なる種類の光硬化性樹脂に入れ替えるステップを実行する請求項1に記載の光造形制御装置。
【請求項5】
光硬化性樹脂および前記光硬化性樹脂よりも比重が大きく、かつ前記光硬化性樹脂と相分離する液状の離形材料を貯留する造形槽と、前記離形材料と前記光硬化性樹脂との界面に対して昇降可能なプラットホームと、を備え、前記離形材料との界面上に、所定厚みに調整された光硬化性樹脂に対して、前記離形材料を通じて光を照射し、該光硬化性樹脂が硬化した硬化層を順次積層することで造形物を造形する光造形装置を用いた造形物の製造方法であって、
前記プラットホームを前記界面に対して上昇させつつ、前記光の照射により前記硬化層を順次下方に積層させた第1造形物を造形するステップと、
前記プラットホームを前記界面に対して下降させて前記第1造形物の少なくとも一部を、前記離形材料に沈下させた後、前記プラットホームを前記界面に対して下降させつつ、前記光の照射により前記第1造形物の最下面よりも高い位置に前記硬化層を順次上方に積層させた第2造形物を造形するステップと、含む造形物の製造方法。
発明の詳細な説明
【技術分野】
【0001】
本発明は、光造形制御装置および造形物の製造方法に関する。
続きを表示(約 2,200 文字)
【背景技術】
【0002】
一般に、液状の光硬化性樹脂に、例えば紫外線などの光を照射して、硬化した樹脂からなる三次元の造形物を形成する光造形技術が知られている。特許文献1には、光硬化性樹脂を貯留した液槽の底面に設けた光透過窓(光透過部)を通じて、この光透過窓に対向配置された基台に向けて造形物の所定の高さ位置における断面形状に対応する光を照射し、この基台の下面に所定断面と同形状に樹脂が硬化した硬化層を造形する工程と、基台を液槽に対して、所定高さだけ上方へ引き上げる工程とを繰り返すことで、硬化層を積層して所望の造形物を形成する光造形技術が開示されている。
【先行技術文献】
【特許文献】
【0003】
特開2020-62841号公報
【発明の概要】
【発明が解決しようとする課題】
【0004】
ところで、従来の構成では、造形物は、硬化した硬化層が基台から離間する方向に順次積層されて造形される。このため、例えば、造形物の一部が基台に向けて突出し、かつ、この突出する部分と基台側の造形物との間に隙間が形成されている形状の場合には、基台側から隙間部分も含めて順次造形するとともに、この隙間部分に相当するサポート部を後から切除する必要があり、造形工程が煩雑になる点で改善の余地があった。
【0005】
本発明は、上記に鑑みてなされたものであって、サポート部の造形を不要とし、造形工程の簡素化を実現できる光造形制御装置および造形物の製造方法を提供することを目的とする。
【課題を解決するための手段】
【0006】
上述した課題を解決し、目的を達成するために、本発明は、光硬化性樹脂および光硬化性樹脂よりも比重が大きく、かつ光硬化性樹脂と相分離する液状の離形材料を貯留する造形槽と、離形材料と光硬化性樹脂との界面に対して昇降可能なプラットホームと、を備え、離形材料との界面上に、所定厚みに調整された光硬化性樹脂に対して、離形材料を通じて光を照射し、該光硬化性樹脂が硬化した硬化層を順次積層することで造形物を造形する光造形装置を制御する光造形制御装置であって、プラットホームを界面に対して上昇させつつ、光の照射により硬化層を順次下方に積層させた第1造形物を造形するステップと、プラットホームを界面に対して下降させて第1造形物の少なくとも一部を、離形材料に沈下させた後、プラットホームを界面に対して下降させつつ、光の照射により第1造形物の最下面よりも高い位置に硬化層を順次上方に積層させた第2造形物を造形するステップと、を実行する造形制御部を備える。
【0007】
また、本発明は、光硬化性樹脂および光硬化性樹脂よりも比重が大きく、かつ光硬化性樹脂と相分離する液状の離形材料を貯留する造形槽と、離形材料と光硬化性樹脂との界面に対して昇降可能なプラットホームと、を備え、離形材料との界面上に、所定厚みに調整された光硬化性樹脂に対して、離形材料を通じて光を照射し、該光硬化性樹脂が硬化した硬化層を順次積層することで造形物を造形する光造形装置を用いた造形物の製造方法であって、プラットホームを界面に対して上昇させつつ、光の照射により硬化層を順次下方に積層させた第1造形物を造形するステップと、プラットホームを界面に対して下降させて第1造形物の少なくとも一部を、離形材料に沈下させた後、プラットホームを界面に対して下降させつつ、光の照射により第1造形物の最下面よりも高い位置に硬化層を順次上方に積層させた第2造形物を造形するステップと、含む。
【発明の効果】
【0008】
本発明によれば、サポート部の造形が不要となり、造形工程の簡素化を実現できる、という効果を奏する。
【図面の簡単な説明】
【0009】
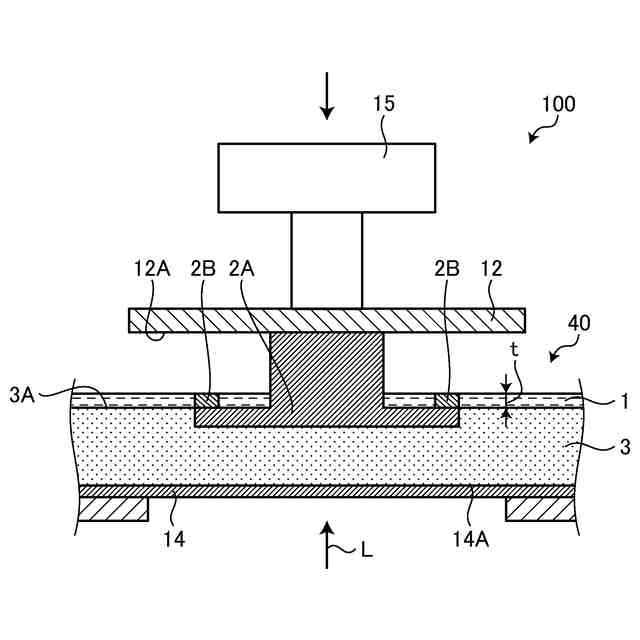
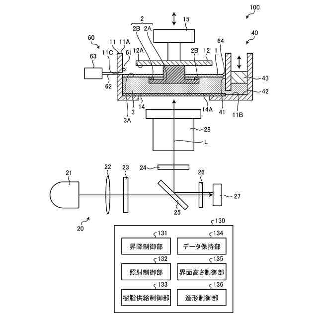
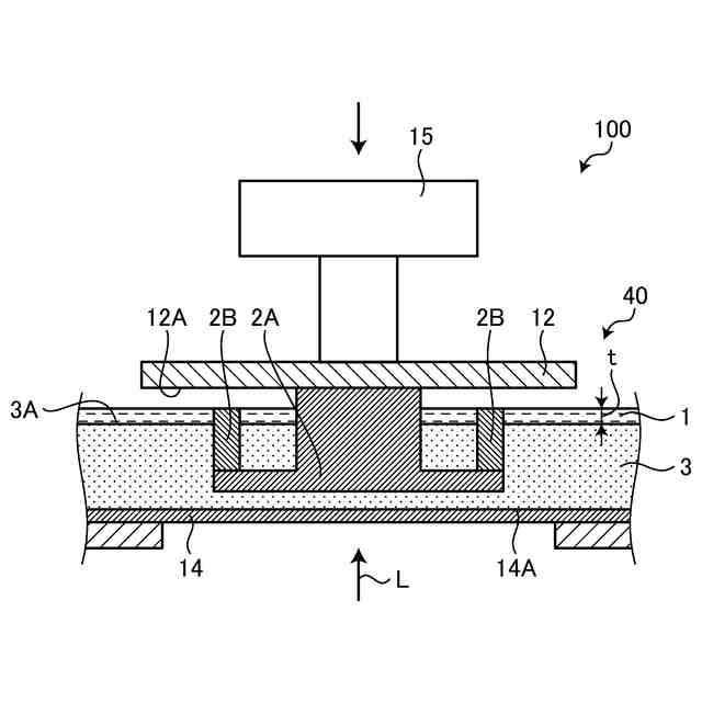
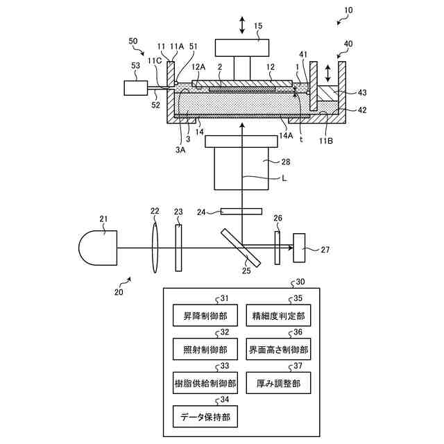
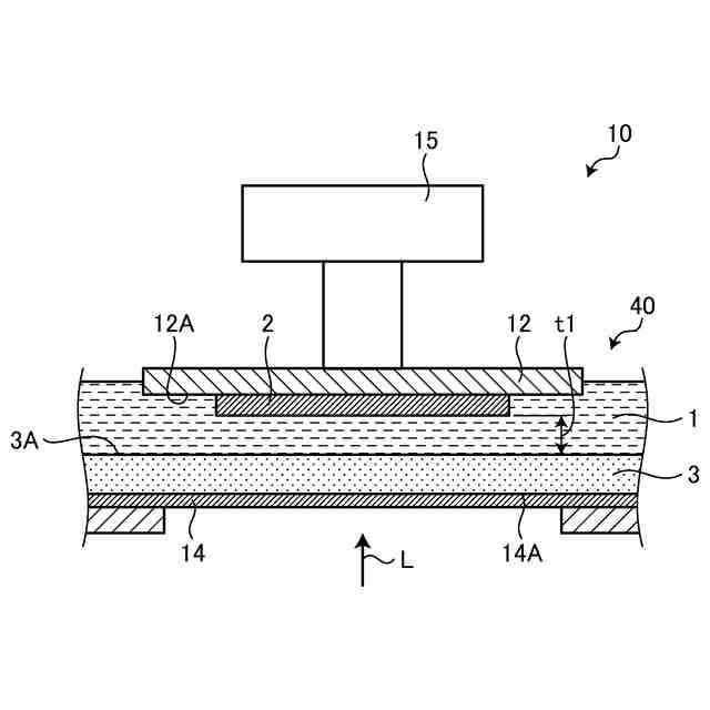
図1は、第一実施形態にかかる光造形装置の基本構成を示す模式図である。
図2は、判定された精細度、界面の高さ位置およびプラットホームと界面との距離の関係を規定した表である。
図3は、離型材料の界面を低くし、プラットホームと界面との距離を短くした光造形装置の模式図である。
図4は、離型材料の界面を高くし、プラットホームと界面との距離を長くした光造形装置の模式図である。
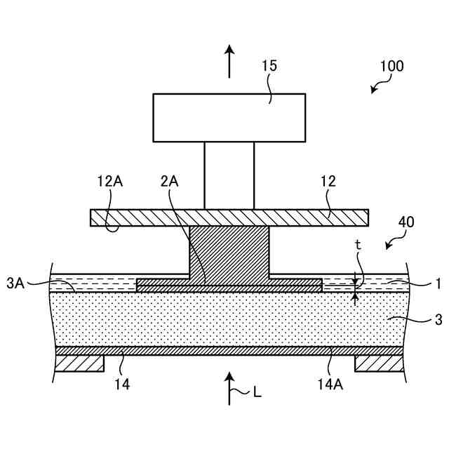
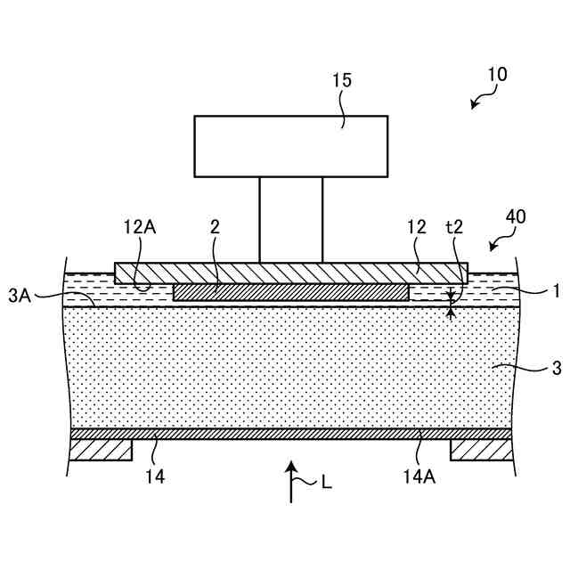
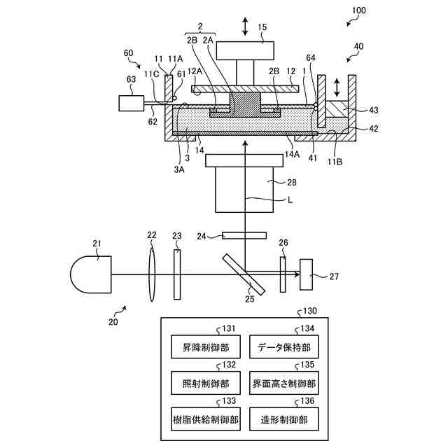
図5は、第二実施形態にかかる光造形装置の基本構成を示す模式図である。
図6は、第二実施形態にかかる造形物の製造方法の手順を説明するための図である。
図7は、第二実施形態にかかる造形物の製造方法の手順を説明するための図である。
図8は、第二実施形態にかかる造形物の製造方法の手順を説明するための図である。
図9は、第二実施形態にかかる造形物の製造方法の手順を説明するための図である。
図10は、変形例にかかる造形物の製造方法の手順を説明するための図である。
【発明を実施するための形態】
【0010】
以下、添付図面を参照して、本発明にかかる実施形態を詳細に説明する。なお、この実施形態により本発明が限定されるものではなく、また、実施形態が複数ある場合には、各実施形態を組み合わせて構成するものも含む。また、以下の実施形態において、同一の部位には同一の符号を付することにより重複する説明を省略する。
(【0011】以降は省略されています)
この特許をJ-PlatPat(特許庁公式サイト)で参照する
関連特許
株式会社JVCケンウッド
光造形装置
5日前
株式会社JVCケンウッド
無線通信装置
20日前
株式会社JVCケンウッド
再生装置及び再生方法
今日
株式会社JVCケンウッド
評価装置及び評価方法
2日前
株式会社JVCケンウッド
再生装置及び再生方法
今日
株式会社JVCケンウッド
再生装置及び再生方法
今日
株式会社JVCケンウッド
タッチパネルの取付構造
5日前
株式会社JVCケンウッド
電源装置および増幅装置
12日前
株式会社JVCケンウッド
貸出車両の運用管理装置
12日前
株式会社JVCケンウッド
放熱構造および電子機器
12日前
株式会社JVCケンウッド
プリント基板の取付構造
12日前
株式会社JVCケンウッド
ヘッドマウントディスプレイ
2日前
株式会社JVCケンウッド
集光レンズ及び投射型表示装置
2日前
株式会社JVCケンウッド
集光レンズ及び投射型表示装置
2日前
株式会社JVCケンウッド
出力制御装置および出力制御方法
5日前
株式会社JVCケンウッド
経路探索装置および経路探索方法
12日前
株式会社JVCケンウッド
行動監視装置および行動監視方法
12日前
株式会社JVCケンウッド
物体検出システム及び物体検出方法
2日前
株式会社JVCケンウッド
運転支援制御装置および運転支援方法
12日前
株式会社JVCケンウッド
立体視画像生成装置およびプログラム
2日前
株式会社JVCケンウッド
通信装置、通信方法およびプログラム
2日前
株式会社JVCケンウッド
クリッピング装置及びクリッピング方法
2日前
株式会社JVCケンウッド
光造形制御装置および造形物の製造方法
5日前
株式会社JVCケンウッド
光路制御装置、表示装置、及び光路制御方法
5日前
株式会社JVCケンウッド
仮想空間制御システムおよび仮想空間制御方法
12日前
株式会社JVCケンウッド
仮想空間制御システムおよび仮想空間制御方法
6日前
株式会社JVCケンウッド
仮想空間制御システムおよび仮想空間制御方法
6日前
株式会社JVCケンウッド
仮想空間制御システムおよび仮想空間制御方法
2日前
株式会社JVCケンウッド
仮想空間制御システムおよび仮想空間制御方法
2日前
株式会社JVCケンウッド
無線キー装置、ドアロック解錠システム、解錠方法
12日前
株式会社JVCケンウッド
無線キー装置、ドアロック解錠システム、解錠方法
12日前
株式会社JVCケンウッド
ナビゲーションシステム、および、ナビゲーション方法
2日前
株式会社JVCケンウッド
画像分類装置、画像分類方法、および画像分類プログラム
6日前
株式会社JVCケンウッド
画像分類装置、画像分類方法、および画像分類プログラム
6日前
株式会社JVCケンウッド
画像分類装置、画像分類方法、および画像分類プログラム
6日前
株式会社JVCケンウッド
携帯機器保持用のアタッチメント,携帯機器の保持構造,及び保持方法
6日前
続きを見る
他の特許を見る