TOP
|
特許
|
意匠
|
商標
特許ウォッチ
Twitter
他の特許を見る
公開番号
2025135929
公報種別
公開特許公報(A)
公開日
2025-09-19
出願番号
2024034017
出願日
2024-03-06
発明の名称
プリント基板の取付構造
出願人
株式会社JVCケンウッド
代理人
IAT弁理士法人
主分類
H05K
7/12 20060101AFI20250911BHJP(他に分類されない電気技術)
要約
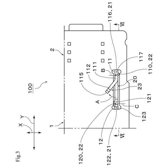
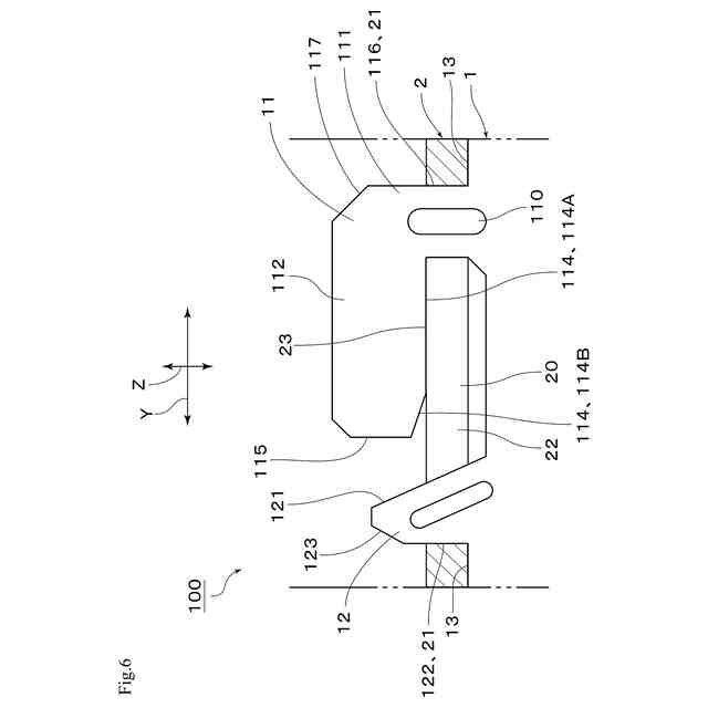
【課題】自動組立機における組立作業に対応することができるプリント基板の取付構造を提供することにある。
【解決手段】この発明のプリント基板の取付構造は、第1片11と第2片12が設けられている部品1と、スリット20が設けられているプリント基板2と、を備える。第1片11は、第1方向Xに突設されている第1凸部110を有する。第2片12は、第1凸部110の突設方向と反対方向に突設されている第2凸部120を有する。第1片11、第2片12、第1凸部110および第2凸部120がスリット20中に挿入される。この結果、この発明のプリント基板の取付構造は、自動組立機における組立作業に対応することができる。
【選択図】図1
特許請求の範囲
【請求項1】
第1片と第2片が設けられている部品と、
スリットが設けられているプリント基板と、
を備え、
前記第1片と前記第2片は、前記第1片および前記第2片の厚さ方向である第1方向に対して交差する第2方向に直列に配置されていて、
前記第1片は、前記第1片の前記第2方向に沿った一方の面から前記第1方向に突設されている第1凸部を有し、
前記第2片は、前記第2片の前記第2方向に沿った他方の面から前記第1方向であって、前記第1凸部の突設方向と反対方向に突設されている第2凸部を有し、
前記スリットは、前記第1片、前記第2片、前記第1凸部および前記第2凸部が挿入できる寸法を有し、
前記第1片、前記第2片、前記第1凸部および前記第2凸部が前記スリット中に挿入された状態で、前記第1片のうち前記スリットから露出する部分の一部である曲げ部が、前記プリント基板の板面に沿って折り曲げられており、前記プリント基板が前記部品と前記曲げ部との間に挟み込まれ、前記部品と前記プリント基板が固定される、
ことを特徴とするプリント基板の取付構造。
続きを表示(約 820 文字)
【請求項2】
前記第1凸部および前記第2凸部は、前記第1方向および前記第2方向に対して交差する第3方向もしくは前記第3方向に対して傾斜する方向に長い形状をなし、前記第1片および前記第2片と共に前記スリット中に挿入された状態で、前記第1凸部の少なくとも一部および前記第2凸部の少なくとも一部が前記スリット中に位置する、
ことを特徴とする請求項1記載のプリント基板の取付構造。
【請求項3】
前記第1片は、
前記部品から前記第1方向および前記第2方向に対して交差する第3方向に突設されていて、前記第1凸部が突設されている固定部と、
前記固定部側から前記第2方向に沿って前記第2片側に向けて突設されている前記曲げ部と、
を有し、
前記曲げ部の前記部品に対向する対向辺は、前記固定部側の第1対向辺と前記曲げ部の先端側の第2対向辺とを有し、
前記第2対向辺の前記部品に対する傾斜角度は、前記第1対向辺の前記部品に対する傾斜角度よりも大きい、
ことを特徴とする請求項1記載のプリント基板の取付構造。
【請求項4】
前記第1片の前記第2片に対向する第1内側辺と反対側の第1外側辺は、前記部品に対して垂直であり、
前記第1外側辺のうち前記部品と反対側の部分には、第1ガイド部が面取されて設けられていて、
前記第2片の前記第1片に対向する第2内側辺と反対側の第2外側辺は、前記部品に対して垂直であり、
前記第2外側辺のうち前記部品と反対側の部分には、第2ガイド部が面取されて設けられている、
ことを特徴とする請求項1記載のプリント基板の取付構造。
【請求項5】
前記第2片の前記第2方向の長さが、前記部品と反対側から前記部品側にかけて、大きくなる、
ことを特徴とする請求項1記載のプリント基板の取付構造。
発明の詳細な説明
【技術分野】
【0001】
本発明は、プリント基板の取付構造に関する。
続きを表示(約 1,700 文字)
【背景技術】
【0002】
プリント基板の取付構造としては、以下の特許文献1に開示のものがある。特許文献1のプリント基板の取付構造は、舌片が設けられている機器本体と、スリットが設けられているプリント基板と、を備える。そして、特許文献1のプリント基板の取付構造は、舌片をスリットから突出させて、その舌片を捩じ曲げることにより、プリント基板が舌片と機器本体との間に挟み込まれて、機器本体とプリント基板が固定される。
【先行技術文献】
【特許文献】
【0003】
特開平7-273476号公報
【発明の概要】
【発明が解決しようとする課題】
【0004】
特許文献1のプリント基板の取付構造において、ロボットなどの自動組立機により、機器本体とプリント基板の組立作業を行う場合、スリットの寸法は、舌片の寸法に対して、組立精度を踏まえて大きくする必要がある。すなわち、かかるプリント基板の取付構造においては、舌片の厚さおよびスリットの幅の公差を考慮して、スリットの幅を舌片の厚さに比べて大きく設定されていた。
【0005】
このため、特許文献1のプリント基板の取付構造は、舌片とスリットとの間の隙間が大きくなり、舌片を曲げる際に、プリント基板が舌片に対して逃げてしまい、機器本体とプリント基板の位置関係がずれたり傾いたりして、舌片とスリットの位置精度が低下する。これにより、特許文献1のプリント基板の取付構造は、プリント基板を舌片と機器本体との間に的確に挟み込むことができず、機器本体がプリント基板に対して浮いた状態で固定される場合がある。この場合においては、少しの衝撃でも、機器本体とプリント基板の間にずれが生じる場合がある。
【0006】
また、特許文献1のプリント基板の取付構造は、固定力を確保するために、舌片を曲げた後に半田付け固定を行う場合がある。この場合においても、機器本体がプリント基板に対して浮いた状態で半田付け固定される場合があるので、前記の通り、少しの衝撃でも、機器本体とプリント基板の間においてずれが生じる場合がある。
【0007】
このように、特許文献1のプリント基板の取付構造は、自動組立機における組立作業に対応することが難しい。
【0008】
この発明が解決しようとする課題は、自動組立機における組立作業に対応することができるプリント基板の取付構造を提供することにある。
【課題を解決するための手段】
【0009】
この発明の第1の観点のプリント基板の取付構造は、前記の課題を解決するために、第1片と第2片が設けられている部品と、スリットが設けられているプリント基板と、を備え、前記第1片と前記第2片は、前記第1片および前記第2片の厚さ方向である第1方向に対して交差する第2方向に直列に配置されていて、前記第1片は、前記第1片の前記第2方向に沿った一方の面から前記第1方向に突設されている第1凸部を有し、前記第2片は、前記第2片の前記第2方向に沿った他方の面から前記第1方向であって、前記第1凸部の突設方向と反対方向に突設されている第2凸部を有し、前記スリットは、前記第1片、前記第2片、前記第1凸部および前記第2凸部が挿入できる寸法を有し、前記第1片、前記第2片、前記第1凸部および前記第2凸部が前記スリット中に挿入された状態で、前記第1片のうち前記スリットから露出する部分の一部である曲げ部が、前記プリント基板の板面に沿って折り曲げられており、前記プリント基板が前記部品と前記曲げ部との間に挟み込まれ、前記部品と前記プリント基板が固定される、ことを特徴とする。
【発明の効果】
【0010】
この発明のプリント基板の取付構造は、舌片とプリント基板に形成したスリットの位置精度を高めることができ、自動組立機における組立作業に対応することができる。
【図面の簡単な説明】
(【0011】以降は省略されています)
この特許をJ-PlatPat(特許庁公式サイト)で参照する
関連特許
株式会社JVCケンウッド
無線通信装置及び無線通信方法
1日前
株式会社JVCケンウッド
運転支援装置、および運転支援方法
1日前
株式会社JVCケンウッド
情報管理装置、端末装置およびプログラム
1日前
個人
電子部品の実装方法
2日前
株式会社コロナ
電気機器
2か月前
株式会社遠藤照明
照明装置
3か月前
日本精機株式会社
回路基板
24日前
日本精機株式会社
回路基板
3か月前
個人
非衝突型ガウス加速器
1か月前
アイホン株式会社
電気機器
1か月前
個人
節電材料
1か月前
アイホン株式会社
電気機器
16日前
キヤノン株式会社
電子機器
16日前
日本放送協会
基板固定装置
22日前
キヤノン株式会社
電子機器
3か月前
株式会社プロテリアル
シールド材
4か月前
メクテック株式会社
配線基板
3か月前
メクテック株式会社
配線基板
1か月前
東レ株式会社
霧化状活性液体供給装置
1か月前
マクセル株式会社
配列用マスク
2か月前
イビデン株式会社
プリント配線板
2か月前
イビデン株式会社
プリント配線板
2か月前
イビデン株式会社
配線基板
1か月前
サクサ株式会社
筐体の壁掛け構造
1か月前
FDK株式会社
基板
1日前
イビデン株式会社
配線基板
1か月前
トキコーポレーション株式会社
照明器具
2か月前
イビデン株式会社
プリント配線板
22日前
イビデン株式会社
プリント配線板
4か月前
イビデン株式会社
プリント配線板
3か月前
オムロン株式会社
端子折り曲げ治具
4日前
新電元工業株式会社
電子装置
16日前
メクテック株式会社
伸縮性配線基板
3か月前
新電元工業株式会社
充電装置
2か月前
日産自動車株式会社
電子部品
14日前
カシン工業株式会社
PTC発熱装置
2か月前
続きを見る
他の特許を見る