TOP
|
特許
|
意匠
|
商標
特許ウォッチ
Twitter
他の特許を見る
10個以上の画像は省略されています。
公開番号
2025143871
公報種別
公開特許公報(A)
公開日
2025-10-02
出願番号
2024043341
出願日
2024-03-19
発明の名称
情報管理装置、端末装置およびプログラム
出願人
株式会社JVCケンウッド
代理人
弁理士法人酒井国際特許事務所
主分類
H04W
48/08 20090101AFI20250925BHJP(電気通信技術)
要約
【課題】スキャン処理を効率的に行うこと。
【解決手段】情報管理装置は、端末装置が実行するスキャン処理において除外すべきスキップ周波数と、スキップ周波数が登録された位置を示す登録位置情報とを対応付けたスキャンスキップ情報を記憶する記憶部と、端末装置の位置情報を取得する端末情報取得部と、端末情報取得部で取得された位置情報と、登録位置情報とに基づいて、記憶部からスキャンスキップ情報を選択する制御部と、制御部で選択されたスキャンスキップ情報を端末装置に送信する送信部と、を備える。
【選択図】図3
特許請求の範囲
【請求項1】
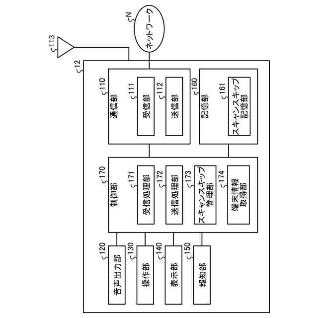
端末装置が実行するスキャン処理において除外すべきスキップ周波数と、前記スキップ周波数が登録された位置を示す登録位置情報とを対応付けたスキャンスキップ情報を記憶する記憶部と、
前記端末装置の位置情報を取得する端末情報取得部と、
前記端末情報取得部で取得された前記位置情報と、前記登録位置情報とに基づいて、前記記憶部からスキャンスキップ情報を選択する制御部と、
前記制御部で選択された前記スキャンスキップ情報を前記端末装置に送信する送信部と、
を備える、情報管理装置。
続きを表示(約 980 文字)
【請求項2】
前記記憶部は、自装置の管理エリアである第1エリアを示す情報を記憶し、
前記制御部は、前記端末情報取得部で取得された位置情報に基づいて、第2エリアを示す情報を作成し、前記第2エリアが前記第1エリアに含まれない場合に、他の情報管理装置から前記第2エリアに該当する前記スキャンスキップ情報を取得し、
前記送信部は、前記取得された前記スキャンスキップ情報を端末装置に送信する、
請求項1に記載の情報管理装置。
【請求項3】
自装置の位置情報である端末位置情報を取得する端末位置情報取得部と
スキャン処理から除外されたスキップ周波数と、前記スキップ周波数が登録された登録位置情報とが対応付けられたスキャンスキップ情報を受信する受信部と、
前記端末位置情報と前記登録位置情報との距離が所定値以下である場合に、前記登録位置情報に対応するスキップ周波数を除外してスキャン処理を実行するスキャン制御部と、
を備える、端末装置。
【請求項4】
情報管理装置が備えるコンピュータに、
端末装置が実行するスキャン処理において除外すべきスキップ周波数と、前記スキップ周波数が登録された位置を示す登録位置情報とを対応付けたスキャンスキップ情報を記憶するステップと、
前記端末装置の位置情報を取得するステップと、
取得された前記位置情報と、前記登録位置情報とに基づいて、前記記憶したスキャンスキップ情報の中からスキャンスキップ情報を選択するステップと、
前記選択したスキャンスキップ情報を前記端末装置に送信するステップと、
を実行させるプログラム。
【請求項5】
端末装置が備えるコンピュータに、
自装置の位置情報である端末位置情報を取得するステップと、
他の端末装置がスキャン処理から除外したスキップ周波数と、前記スキップ周波数が登録された登録位置情報とが対応付けられたスキャンスキップ情報を受信するステップと、
前記端末位置情報と前記登録位置情報との距離が所定値以下である場合に、前記登録位置情報に対応するスキップ周波数を除外してスキャン処理を実行するステップと、
を実行させるプログラム。
発明の詳細な説明
【技術分野】
【0001】
本開示は、情報管理装置、端末装置およびプログラムに関する。
続きを表示(約 1,500 文字)
【背景技術】
【0002】
一時的にスキャン機能で受信する周波数やチャンネルをスキャン対象から外す技術が知られている。例えば、特許文献1には、スキャン対象から除外する周波数を登録した後、所定時間が経過するまでの間、登録した周波数をスキップしてスキャンする技術が開示されている。
【先行技術文献】
【特許文献】
【0003】
特開2014-116796号公報
【発明の概要】
【発明が解決しようとする課題】
【0004】
特許文献1の技術は、受信機(端末装置)ごとにスキャンスキップ周波数を設定しているが、個々の端末装置が同じような処理を行っているため、効率が高いとはいえない。スキャン処理を効率的に行うことが求められている。
【0005】
本開示は、スキャン処理を効率的に行うことのできる情報管理装置、端末装置およびプログラムを提供することを目的とする。
【課題を解決するための手段】
【0006】
本開示の情報管理装置は、端末装置が実行するスキャン処理において除外すべきスキップ周波数と、前記スキップ周波数が登録された位置を示す登録位置情報とを対応付けたスキャンスキップ情報を記憶する記憶部と、前記端末装置の位置情報を取得する端末情報取得部と、前記端末情報取得部で取得された前記位置情報と、前記登録位置情報とに基づいて、前記記憶部からスキャンスキップ情報を選択する制御部と、前記制御部で選択された前記スキャンスキップ情報を前記端末装置に送信する送信部と、を備える。
【0007】
本開示の端末装置は、自装置の位置情報である端末位置情報を取得する端末位置情報取得部と他の端末装置がスキャン処理から除外したスキップ周波数と、前記スキップ周波数が登録された登録位置情報とが対応付けられたスキャンスキップ情報を受信する受信部と、前記端末位置情報と前記登録位置情報との距離が所定値以下である場合に、前記登録位置情報に対応するスキップ周波数を除外してスキャン処理を実行するスキャン制御部と、を備える。
【0008】
本開示のプログラムは、情報管理装置が備えるコンピュータに、端末装置が実行するスキャン処理において除外すべきスキップ周波数と、前記スキップ周波数が登録された位置を示す登録位置情報とを対応付けたスキャンスキップ情報を記憶するステップと、前記端末装置の位置情報を取得するステップと、取得された前記位置情報と、前記登録位置情報とに基づいて、前記記憶したスキャンスキップ情報の中からスキャンスキップ情報を選択するステップと、前記選択したスキャンスキップ情報を前記端末装置に送信するステップと、を実行させる。
【0009】
本開示のプログラムは、端末装置が備えるコンピュータに、自装置の位置情報である端末位置情報を取得するステップと、他の端末装置がスキャン処理から除外したスキップ周波数と、前記スキップ周波数が登録された登録位置情報とが対応付けられたスキャンスキップ情報を受信するステップと、前記端末位置情報と前記登録位置情報との距離が所定値以下である場合に、前記登録位置情報に対応するスキップ周波数を除外してスキャン処理を実行するステップと、を実行させる。
【発明の効果】
【0010】
本開示によれば、スキャン処理を効率的に行うことができる。
【図面の簡単な説明】
(【0011】以降は省略されています)
この特許をJ-PlatPat(特許庁公式サイト)で参照する
関連特許
個人
店内配信予約システム
2か月前
サクサ株式会社
中継装置
1日前
サクサ株式会社
中継装置
3か月前
WHISMR合同会社
収音装置
28日前
アイホン株式会社
電気機器
22日前
キヤノン株式会社
撮像装置
1か月前
キヤノン株式会社
撮像装置
3か月前
キヤノン株式会社
電子機器
2か月前
キヤノン電子株式会社
画像読取装置
29日前
個人
ワイヤレスイヤホン対応耳掛け
20日前
株式会社リコー
画像形成装置
2か月前
株式会社リコー
画像形成装置
1か月前
キヤノン電子株式会社
モバイル装置
3か月前
株式会社リコー
画像形成装置
1か月前
ヤマハ株式会社
信号処理装置
3か月前
日本精機株式会社
画像投映システム
3か月前
電気興業株式会社
無線中継器
3か月前
キヤノン株式会社
撮像システム
22日前
ブラザー工業株式会社
読取装置
1か月前
株式会社ニコン
撮像装置
2か月前
DXO株式会社
情報処理システム
2か月前
有限会社フィデリックス
マイクロフォン
6日前
株式会社松平商会
携帯機器カバー
1か月前
キヤノン電子株式会社
シート材搬送装置
1か月前
沖電気工業株式会社
画像形成装置
10日前
株式会社小糸製作所
画像照射装置
1か月前
パテントフレア株式会社
水中電波通信法
2か月前
株式会社JVCケンウッド
通信システム
6日前
大日本印刷株式会社
写真撮影装置
21日前
パテントフレア株式会社
超高速電波通信
1か月前
国立大学法人電気通信大学
小型光学装置
1か月前
沖電気工業株式会社
画像形成装置
2日前
株式会社大林組
監視システム
1か月前
日本無線株式会社
無線通信システム
1か月前
日本無線株式会社
無線通信システム
1か月前
テックス通信株式会社
電話システム
3か月前
続きを見る
他の特許を見る