TOP
|
特許
|
意匠
|
商標
特許ウォッチ
Twitter
他の特許を見る
公開番号
2025141052
公報種別
公開特許公報(A)
公開日
2025-09-29
出願番号
2024040792
出願日
2024-03-15
発明の名称
集光レンズ及び投射型表示装置
出願人
株式会社JVCケンウッド
代理人
個人
,
個人
,
個人
主分類
G03B
21/14 20060101AFI20250919BHJP(写真;映画;光波以外の波を使用する類似技術;電子写真;ホログラフイ)
要約
【課題】赤色帯域、緑色帯域、及び青色帯域の成分を含む光の互いのずれを少なくすることができる集光レンズを提供する。
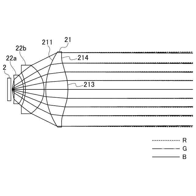
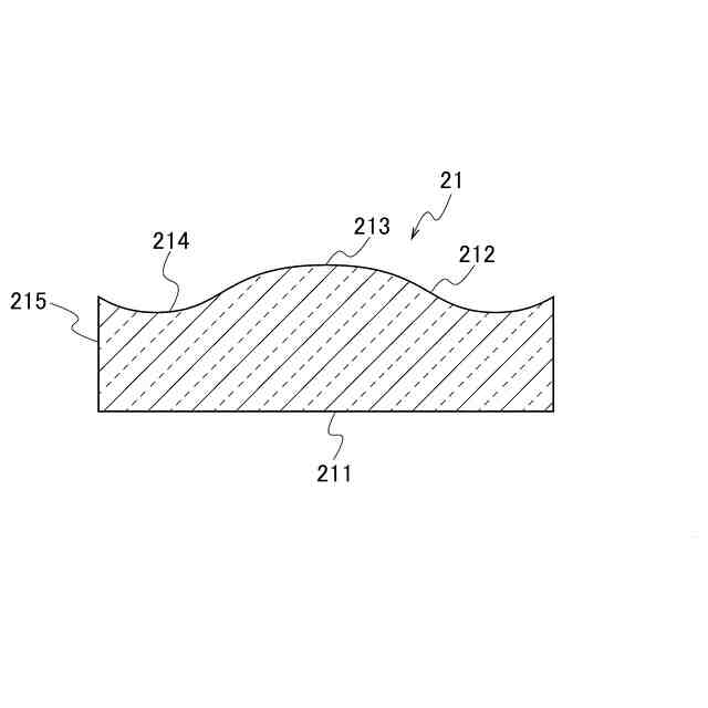
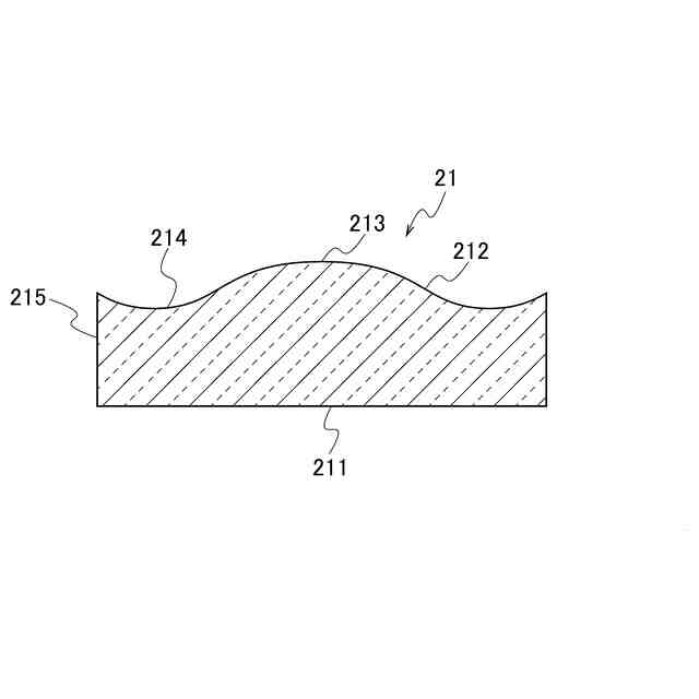
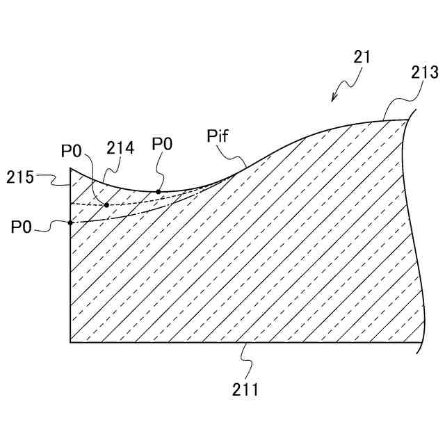
【解決手段】集光レンズ21は第1の面211と第2の面212とを備える。第1の面211には、赤色帯域、緑色帯域、及び青色帯域の成分を含む光が入射される。第2の面212からは、入射された赤色帯域、緑色帯域、及び青色帯域の成分を含む光が射出される。第2の面212の中央部には非球面の凸レンズ部213が形成され、凸レンズ部213の周囲には非球面の凹レンズ部214が形成されている。
【選択図】図2
特許請求の範囲
【請求項1】
赤色帯域、緑色帯域、及び青色帯域の成分を含む光が入射される第1の面と、
入射された前記赤色帯域、前記緑色帯域、及び前記青色帯域の成分を含む光が射出される第2の面と、
を備え、
前記第2の面の中央部には非球面の凸レンズ部が形成され、前記凸レンズ部の周囲には非球面の凹レンズ部が形成されている
集光レンズ。
続きを表示(約 470 文字)
【請求項2】
前記凹レンズ部における前記第1の面と最も距離が近い最低箇所は、前記集光レンズの周端部よりも内側に位置している請求項1に記載の集光レンズ。
【請求項3】
青色レーザ光を前記青色帯域の成分を含む青色照明光として射出する青色レーザダイオードと、
前記青色照明光が入射され、入射された前記青色照明光のうちの一部の青色照明光によって、前記赤色帯域及び前記緑色帯域を含む黄色照明光、または前記赤色帯域を含む赤色照明光及び前記緑色帯域を含む緑色照明光を生成して反射し、入射された前記青色照明光のうちの他の一部の青色照明光を反射する蛍光体と、
前記第2の面に前記青色レーザダイオードが射出する前記青色照明光が入射され、前記第1の面に前記蛍光体より反射された前記黄色照明光、または前記赤色照明光及び前記緑色照明光と、前記蛍光体より反射された前記青色照明光とが入射されるように、前記青色レーザダイオードと前記蛍光体との間に配置された請求項1または2に記載の集光レンズと、
を備える投射型表示装置。
発明の詳細な説明
【技術分野】
【0001】
本発明は、集光レンズ及び投射型表示装置に関する。
続きを表示(約 1,800 文字)
【背景技術】
【0002】
特許文献1に記載されているように、青色レーザダイオードから射出された青色レーザ光を蛍光体に照射して、蛍光体が発する照明光を用いて画像を投射する投射型表示装置がある。
【先行技術文献】
【特許文献】
【0003】
特開2023-168801号公報
特開2002-131513号公報
【発明の概要】
【発明が解決しようとする課題】
【0004】
特許文献1に記載されているような投射型表示装置において、赤色照明光、緑色照明光、青色照明光を集光する集光レンズより射出される赤色照明光、緑色照明光、青色照明光は互いの色の照明光がちょうど重なり合って進行していくことが望ましい。しかしながら、色収差によって、赤色照明光、緑色照明光、青色照明光が互いにわずかにずれて進行していくことがある。集光レンズとして非球面レンズを用いたとしても赤色照明光、緑色照明光、青色照明光の互いのずれが発生する。
【0005】
赤色帯域、緑色帯域、及び青色帯域の成分を含む光が入射したときに射出して進行する赤色帯域、緑色帯域、及び青色帯域の成分を含む光の互いのずれを少なくすることができる集光レンズ及びそれを用いた投射型表示装置の登場が望まれる。そのような目的を含む所望の目的を達成することができる集光レンズの登場が望まれる。特許文献2に記載の構成では、そのような集光レンズを構成することができない。
【課題を解決するための手段】
【0006】
本発明は、赤色帯域、緑色帯域、及び青色帯域の成分を含む光が入射される第1の面と、入射された前記赤色帯域、前記緑色帯域、及び前記青色帯域の成分を含む光が射出される第2の面とを備え、前記第2の面の中央部には非球面の凸レンズ部が形成され、前記凸レンズ部の周囲には非球面の凹レンズ部が形成されている集光レンズを提供する。
【0007】
本発明は、青色レーザ光を前記青色帯域の成分を含む青色照明光として射出する青色レーザダイオードと、前記青色照明光が入射され、入射された前記青色照明光のうちの一部の青色照明光によって、前記赤色帯域及び前記緑色帯域を含む黄色照明光、または前記赤色帯域を含む赤色照明光及び前記緑色帯域を含む緑色照明光を生成して反射し、入射された前記青色照明光のうちの他の一部の青色照明光を反射する蛍光体と、前記第2の面に前記青色レーザダイオードが射出する前記青色照明光が入射され、前記第1の面に前記蛍光体より反射された前記黄色照明光、または前記赤色照明光及び前記緑色照明光と、前記蛍光体より反射された前記青色照明光とが入射されるように、前記青色レーザダイオードと前記蛍光体との間に配置された上記の集光レンズとを備える投射型表示装置を提供する。
【発明の効果】
【0008】
本発明の集光レンズによれば、赤色帯域、前記緑色帯域、及び前記青色帯域の成分を含む光が入射したときに射出して進行する赤色帯域、前記緑色帯域、及び前記青色帯域の成分を含む光の互いのずれを少なくすることができる。本発明の投射型表示装置によれば、高画質の画像を投射することができる。
【図面の簡単な説明】
【0009】
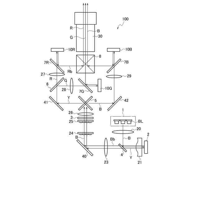
図1は、一実施形態に係る投射型表示装置を示す図である。
図2は、一実施形態に係る集光レンズを示す断面図である。
図3は、一実施形態に係る集光レンズを示す拡大部分断面図である。
図4Aは、一実施形態に係る集光レンズが奏する色収差の改善の作用効果を示す図である。
図4Bは、比較例の集光レンズを用いた場合の色収差を示す図である。
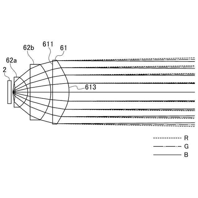
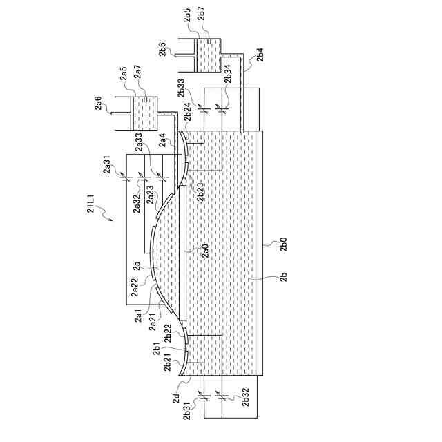
図5は、一実施形態に係る液体レンズによって構成された集光レンズの第1の構成例を示す図である。
図6は、一実施形態に係る液体レンズによって構成された集光レンズの第2の構成例を示す図である。
図7は、集光レンズとして液体レンズを用いた投射型表示装置において、液体レンズのレンズ形状を制御する構成例を示す図である。
【発明を実施するための形態】
【0010】
以下、一実施形態に係る集光レンズ及び投射型表示装置について、添付図面を参照して説明する。まず、図1を用いて、一実施形態に係る投射型表示装置の構成及び動作を説明する。
(【0011】以降は省略されています)
この特許をJ-PlatPat(特許庁公式サイト)で参照する
関連特許
株式会社JVCケンウッド
再生装置及び再生方法
今日
株式会社シグマ
絞りユニット
13日前
キヤノン株式会社
撮像装置
6日前
キヤノン株式会社
撮像装置
12日前
キヤノン株式会社
撮像装置
26日前
平和精機工業株式会社
雲台
1か月前
株式会社リコー
画像形成装置
20日前
株式会社リコー
画像形成装置
1か月前
株式会社リコー
画像形成装置
2日前
株式会社リコー
画像形成装置
2か月前
株式会社リコー
画像形成装置
1か月前
株式会社リコー
画像形成装置
1か月前
株式会社リコー
画像形成装置
1か月前
株式会社リコー
画像形成装置
2か月前
キヤノン株式会社
画像形成装置
1か月前
トヨタ自動車株式会社
撮像方法
3か月前
キヤノン株式会社
画像形成装置
2か月前
キヤノン株式会社
画像形成装置
2か月前
株式会社オプトル
プロジェクタ
5日前
キヤノン株式会社
画像形成装置
2か月前
ブラザー工業株式会社
再生方法
1か月前
キヤノン株式会社
トナー
2か月前
キヤノン株式会社
トナー
2か月前
株式会社オプトル
プロジェクタ
1か月前
シャープ株式会社
画像形成装置
1か月前
キヤノン株式会社
画像形成装置
1か月前
キヤノン株式会社
トナー
29日前
キヤノン株式会社
画像形成装置
1か月前
キヤノン株式会社
画像形成装置
2か月前
キヤノン株式会社
画像形成装置
2か月前
興和株式会社
マウント構造
2か月前
アイホン株式会社
機器の設置構造
1か月前
沖電気工業株式会社
画像形成装置
1か月前
アイホン株式会社
機器の設置構造
1か月前
株式会社シグマ
絞り機構及びレンズ鏡筒
1か月前
日本放送協会
光分布生成装置
1か月前
続きを見る
他の特許を見る