TOP
|
特許
|
意匠
|
商標
特許ウォッチ
Twitter
他の特許を見る
10個以上の画像は省略されています。
公開番号
2025135857
公報種別
公開特許公報(A)
公開日
2025-09-19
出願番号
2024033872
出願日
2024-03-06
発明の名称
仮想空間制御システムおよび仮想空間制御方法
出願人
株式会社JVCケンウッド
代理人
弁理士法人酒井国際特許事務所
主分類
G06T
19/00 20110101AFI20250911BHJP(計算;計数)
要約
【課題】自己のアバターの周囲における他のアバターのユーザとの情報共有条件を適切に設定すること。
【解決手段】仮想空間制御システム1が備える制御部は、情報端末装置10の表示画面の前における情報端末装置10のユーザの存在を検出し、ユーザの存在有無に基づいて、ユーザに対応したアバターの周囲における情報共有範囲の形態を変更する。
【選択図】図3
特許請求の範囲
【請求項1】
情報端末装置に仮想空間を表示させ、前記仮想空間に前記情報端末装置のユーザに対応するアバターを表示させる仮想空間制御システムであって、
前記仮想空間制御システムが備える制御部は、
前記情報端末装置の表示画面の前における前記情報端末装置のユーザの存在を検出し、
前記ユーザの存在有無に基づいて、前記ユーザに対応したアバターの周囲における情報共有範囲の形態を変更する、
仮想空間制御システム。
続きを表示(約 780 文字)
【請求項2】
前記制御部は、
前記情報端末装置において、前記ユーザの発話が前記仮想空間で出力可能な状態であるときに、前記ユーザの存在有無に基づいて、前記ユーザに対応したアバターの周囲における情報共有範囲の形態を変更する、
請求項1に記載の仮想空間制御システム。
【請求項3】
前記制御部は、
前記情報端末装置の表示画面の前に前記ユーザが存在していない場合、前記ユーザに対応したアバターの周囲における情報共有範囲の広さを狭く変更する、
請求項1または2に記載の仮想空間制御システム。
【請求項4】
前記制御部は、
前記ユーザが、前記情報端末装置の表示画面の前に存在していない期間が長いほど、前記ユーザに対応したアバターの周囲における情報共有範囲の広さを狭く変更する、
請求項1または2に記載の仮想空間制御システム。
【請求項5】
前記制御部は、
前記情報端末装置の表示画面の前に前記ユーザが存在しない状態で、他のアバターのユーザとの会話が行われている場合に、前記ユーザに対応したアバターの周囲における情報共有範囲の広さを狭く変更する、
請求項1または2に記載の仮想空間制御システム。
【請求項6】
情報端末装置に仮想空間を表示させ、前記仮想空間に前記情報端末装置のユーザに対応するアバターを表示させる仮想空間制御システムが実行する仮想空間制御方法であって、
前記情報端末装置の表示画面の前における前記情報端末装置のユーザの存在を検出することと、
前記ユーザの存在有無に基づいて、前記ユーザに対応したアバターの周囲における情報共有範囲の形態を変更すること、
を仮想空間制御システムが実行する仮想空間制御方法。
発明の詳細な説明
【技術分野】
【0001】
本発明は、仮想空間制御システムおよび仮想空間制御方法に関する。
続きを表示(約 1,700 文字)
【背景技術】
【0002】
仮想空間に構成した仮想オフィス(バーチャルオフィス)などにおいては、各々のユーザがアバターなどを利用して、仮想オフィス内で業務等を行う。各アバターは、仮想空間上の距離が近い場合や同一空間内などにおいては、相互に声などの音声が聞こえるような状態とする技術が知られている(例えば、特許文献1参照)。
【先行技術文献】
【特許文献】
【0003】
特開2022-071314号公報
【発明の概要】
【発明が解決しようとする課題】
【0004】
各アバターのユーザは、各々の情報端末装置の画面上に仮想空間を表示させるため、業務内容などによっては、仮想空間を表示する画面を確認していない場合や、確認できない場合が生じる。このような状態において、他のユーザのアバターが近づいてきたことに気付かずに発話を継続すると、発話内容を聞かれることを意図していない他のアバターのユーザに発話を聞かれてしまうおそれがある。
【0005】
本開示は、自己のアバターの周囲における他のアバターのユーザとの情報共有条件を適切に設定することを目的とする。
【課題を解決するための手段】
【0006】
上述した課題を解決し、目的を達成するために、本開示に係る仮想空間制御システムは、情報端末装置に仮想空間を表示させ、前記仮想空間に前記情報端末装置のユーザに対応するアバターを表示させる仮想空間制御システムであって、前記仮想空間制御システムが備える制御部は、前記情報端末装置の表示画面の前における前記情報端末装置のユーザの存在を検出し、前記ユーザの存在有無に基づいて、前記ユーザに対応したアバターの周囲における情報共有範囲の形態を変更する。
【0007】
本開示に係る仮想空間制御方法は、情報端末装置に仮想空間を表示させ、前記仮想空間に前記情報端末装置のユーザに対応するアバターを表示させる仮想空間制御システムが実行する仮想空間制御方法であって、前記情報端末装置の表示画面の前における前記情報端末装置のユーザの存在を検出することと、前記ユーザの存在有無に基づいて、前記ユーザに対応したアバターの周囲における情報共有範囲の形態を変更すること、を仮想空間制御システムが実行する。
【発明の効果】
【0008】
本開示によれば、自己のアバターの周囲における他のアバターのユーザとの情報共有条件を適切に設定することができる。
【図面の簡単な説明】
【0009】
図1は、第一実施形態に係る仮想空間制御システムの構成例を示す概略図である。
図2は、第一実施形態に係る情報端末装置の構成例を示すブロック図である。
図3は、第一実施形態に係るサーバ装置の構成例を示すブロック図である。
図4は、情報端末装置の表示画面の一例を示す図である。
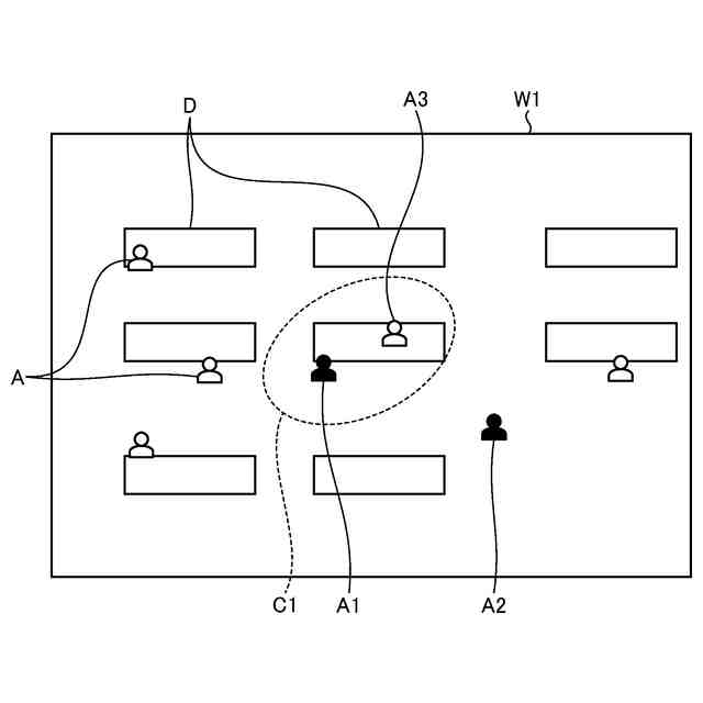
図5は、情報端末装置の表示画面に表示された仮想オフィスの表示画面の一例を示す図である。
図6は、情報端末装置の表示画面に表示された仮想オフィスの表示画面の一例を示す図である。
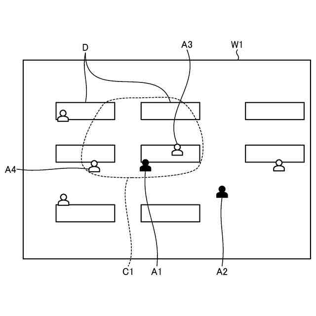
図7は、情報端末装置の表示画面に表示された仮想オフィスの表示画面の他の例を示す図である。
図8は、情報端末装置の表示画面に表示された仮想オフィスの表示画面の他の例を示す図である。
図9は、第一実施形態に係る仮想空間制御方法の一例を示すフローチャートである。
図10は、第一実施形態に係る仮想空間制御方法の他の例を示すフローチャートである。
図11は、ユーザが存在しない時間と情報共有範囲のサイズとの対応の一例を示す図である。
【発明を実施するための形態】
【0010】
以下に添付図面を参照して、本発明に係る仮想空間制御システムおよび仮想空間制御方法の実施形態を詳細に説明する。なお、以下の実施形態により本発明が限定されるものではない。
(【0011】以降は省略されています)
この特許をJ-PlatPat(特許庁公式サイト)で参照する
関連特許
個人
裁判のAI化
2か月前
個人
工程設計支援装置
1か月前
個人
地球保全システム
3日前
個人
情報処理システム
2か月前
個人
フラワーコートA
1か月前
個人
検査システム
2か月前
個人
介護情報提供システム
2か月前
個人
為替ポイント伊達夢貯
1か月前
個人
冷凍食品輸出支援構造
1か月前
個人
携帯情報端末装置
1か月前
個人
表変換編集支援システム
23日前
個人
設計支援システム
2か月前
個人
設計支援システム
2か月前
個人
知財出願支援AIシステム
1か月前
個人
結婚相手紹介支援システム
1か月前
株式会社サタケ
籾摺・調製設備
2か月前
キヤノン電子株式会社
携帯装置
2か月前
個人
パスワード管理支援システム
23日前
個人
AIによる情報の売買の仲介
1か月前
株式会社カクシン
支援装置
2か月前
個人
行動時間管理システム
25日前
個人
食品レシピ生成システム
2日前
株式会社キーエンス
受発注システム
2日前
個人
AIキャラクター制御システム
23日前
個人
システム及びプログラム
16日前
個人
備蓄品の管理方法
2か月前
日本精機株式会社
施工管理システム
1か月前
株式会社キーエンス
受発注システム
2日前
個人
海外支援型農作物活用システム
15日前
個人
パスポートレス入出国システム
1か月前
個人
アンケート支援システム
2か月前
株式会社キーエンス
受発注システム
2日前
株式会社アジラ
進入判定装置
1か月前
個人
食事受注会計処理システム
1か月前
キヤノン株式会社
情報処理装置
2か月前
サクサ株式会社
中継装置
23日前
続きを見る
他の特許を見る