TOP
|
特許
|
意匠
|
商標
特許ウォッチ
Twitter
他の特許を見る
公開番号
2025136273
公報種別
公開特許公報(A)
公開日
2025-09-19
出願番号
2024034643
出願日
2024-03-07
発明の名称
放熱構造および電子機器
出願人
株式会社JVCケンウッド
代理人
弁理士法人酒井国際特許事務所
主分類
H05K
7/20 20060101AFI20250911BHJP(他に分類されない電気技術)
要約
【課題】電子機器の筐体への放熱を抑え、放熱部材の露出を抑えること。
【解決手段】電子機器100の筐体102の外側に少なくとも一部が露出し、発熱する集積回路105の熱を放熱する放熱構造1であって、筐体102の外側に少なくとも一部が露出し、集積回路105で生じた熱を放熱させるヒートシンク2と、ヒートシンク2の外周を覆って配置されるカバー部材3と、を備え、カバー部材3は、ヒートシンク2を露出させるスリット33と、カバー部材3により覆われたヒートシンク2を筐体102に固定する締結部材111、113が挿通される孔38H、39Hが形成された取付部38、39と、を有し、取付部38、39は、筐体102に組み付けられた状態において、ヒートシンク2と筐体102との間に介在する。
【選択図】図4
特許請求の範囲
【請求項1】
電子機器の筐体の外側に少なくとも一部が露出し、発熱する電子部品の熱を放熱する放熱構造であって、
前記筐体の外側に少なくとも一部が露出し、前記電子部品で生じた熱を放熱させる放熱部材と、
前記放熱部材の外周を覆って配置されるカバー部材と、
を備え、
前記カバー部材は、前記放熱部材を露出させるスリットと、前記カバー部材により覆われた前記放熱部材を前記筐体に固定する固定部材が挿通される孔が形成された取付部と、を有し、
前記取付部は、前記筐体に組み付けられた状態において、前記放熱部材と前記筐体との間に介在する、
放熱構造。
続きを表示(約 340 文字)
【請求項2】
前記カバー部材は、外周面のうち前記筐体と接触する面を有する壁部は、開口を有する、
請求項1に記載の放熱構造。
【請求項3】
前記スリットは、前記カバー部材の外周面のうち前記筐体と接触する面と反対側を向いた面を有する壁部に、第一スリットを有する、
請求項1に記載の放熱構造。
【請求項4】
前記スリットは、前記カバー部材の外周面のうち前記電子部品と接触する面および反対側を向いた面以外の面を有する少なくともいずれかの壁部に、第二スリットを有する、
請求項1に記載の放熱構造。
【請求項5】
請求項1から4のいずれか一項に記載の放熱構造と、
前記筐体と、
を備える電子機器。
発明の詳細な説明
【技術分野】
【0001】
本発明は、放熱構造および電子機器に関する。
続きを表示(約 1,300 文字)
【背景技術】
【0002】
電子部品と接触する面を備えた熱伝導部材と、熱伝導部材に接合された放熱フィンと、放熱フィンのほぼ全体を覆って一体化されて放熱フィンに蓄えられた熱を吸収して大気中に発散させる熱伝導樹脂とを有する電子部品用ヒートシンクが知られている(例えば、特許文献1参照)。
【先行技術文献】
【特許文献】
【0003】
特開2009-302302号公報
【発明の概要】
【発明が解決しようとする課題】
【0004】
電子機器において電源電圧を供給する電源IC(Integrated Circuit)のような集積回路の熱を放熱させるために、ヒートシンクのような放熱部材を集積回路に密着させる。しかしながら、高温になった放熱部材の熱が電子機器の筐体に放熱されると、筐体の温度が上昇する。高温になった放熱部材が露出すると、取り外しなどの作業時に人が手指を接触しないように留意する必要がある。そこで、電子機器の筐体への放熱を抑え、放熱部材の露出を抑えた放熱構造が望まれる。
【0005】
本発明は、上記に鑑みてなされたものであって、電子機器の筐体への放熱を抑え、放熱部材の露出を抑えることを目的とする。
【課題を解決するための手段】
【0006】
上述した課題を解決し、目的を達成するために、本発明に係る放熱構造は、電子機器の筐体の外側に少なくとも一部が露出し、発熱する電子部品の熱を放熱する放熱構造であって、前記筐体の外側に少なくとも一部が露出し、前記電子部品で生じた熱を放熱させる放熱部材と、前記放熱部材の外周を覆って配置されるカバー部材と、を備え、前記カバー部材は、前記放熱部材を露出させるスリットと、前記カバー部材により覆われた前記放熱部材を前記筐体に固定する固定部材が挿通される孔が形成された取付部と、を有し、前記取付部は、前記筐体に組み付けられた状態において、前記放熱部材と前記筐体との間に介在する。
【0007】
上述した課題を解決し、目的を達成するために、本発明に係る電子機器は、上記の放熱構造と、前記筐体と、を備える。
【発明の効果】
【0008】
本発明によれば、電子機器の筐体への放熱を抑え、放熱部材の露出を抑えることができるという効果を奏する。
【図面の簡単な説明】
【0009】
図1は、実施形態に係る放熱構造を有する電子機器を示す斜視図である。
図2は、実施形態に係る放熱構造を右後方から見た斜視図である。
図3は、実施形態に係る放熱構造の左前方から見た斜視図である。
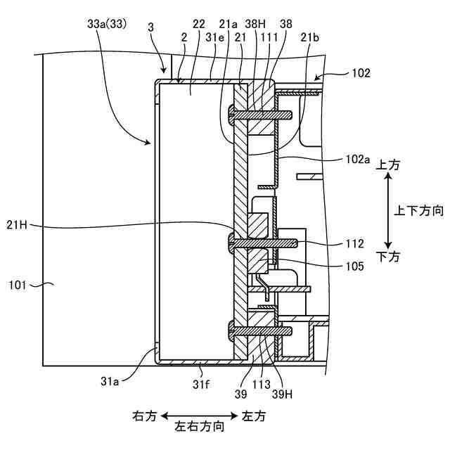
図4は、実施形態に係る放熱構造を示す断面図である。
【発明を実施するための形態】
【0010】
以下に添付図面を参照して、本発明に係る放熱構造1を備えた電子機器100の実施形態を詳細に説明する。なお、以下の実施形態により本発明が限定されるものではない。
(【0011】以降は省略されています)
この特許をJ-PlatPat(特許庁公式サイト)で参照する
関連特許
個人
電子部品の実装方法
8日前
日本精機株式会社
回路基板
1か月前
個人
非衝突型ガウス加速器
1か月前
キヤノン株式会社
電子機器
22日前
日本放送協会
基板固定装置
28日前
アイホン株式会社
電気機器
22日前
イビデン株式会社
配線基板
1日前
個人
節電材料
2か月前
アイホン株式会社
電気機器
1か月前
メクテック株式会社
配線基板
1か月前
東レ株式会社
霧化状活性液体供給装置
1か月前
マクセル株式会社
配列用マスク
2か月前
イビデン株式会社
プリント配線板
28日前
株式会社デンソー
電子装置
1日前
イビデン株式会社
配線基板
1か月前
サクサ株式会社
筐体の壁掛け構造
1か月前
イビデン株式会社
プリント配線板
2か月前
トキコーポレーション株式会社
照明器具
3か月前
イビデン株式会社
配線基板
1か月前
FDK株式会社
基板
7日前
富士フイルム株式会社
積層体
1日前
新電元工業株式会社
電子装置
22日前
株式会社レゾナック
冷却装置
7日前
日産自動車株式会社
電子部品
20日前
日産自動車株式会社
電子機器
2か月前
オムロン株式会社
端子折り曲げ治具
10日前
新電元工業株式会社
充電装置
3か月前
カシン工業株式会社
PTC発熱装置
2か月前
タイガー魔法瓶株式会社
加熱器
20日前
新光電気工業株式会社
配線基板
13日前
日本特殊陶業株式会社
配線基板
1か月前
富士電子工業株式会社
誘導加熱コイル
2日前
富士電子工業株式会社
誘導加熱コイル
2日前
日本無線株式会社
電子機器用密閉構造
1か月前
富士電子工業株式会社
高周波焼入装置
2か月前
株式会社デンソー
電子装置
1か月前
続きを見る
他の特許を見る