TOP
|
特許
|
意匠
|
商標
特許ウォッチ
Twitter
他の特許を見る
公開番号
2025139221
公報種別
公開特許公報(A)
公開日
2025-09-26
出願番号
2024038036
出願日
2024-03-12
発明の名称
光路制御装置、表示装置、及び光路制御方法
出願人
株式会社JVCケンウッド
代理人
弁理士法人酒井国際特許事務所
主分類
G03B
21/14 20060101AFI20250918BHJP(写真;映画;光波以外の波を使用する類似技術;電子写真;ホログラフイ)
要約
【課題】適切に揺動部を駆動させることができる光路制御装置、表示装置、及び光路制御方法を提供すること。
【解決手段】本開示に係る光路制御装置は、光が入射する光学部材を有する揺動部と、揺動部を揺動させるアクチュエータと、第1期間と、第1期間と連続する第2期間と、を含み、第1期間の開始タイミングにおいて第1電流値から第2電流値に電流値を切り替え、その直後に第1期間の終了タイミングまで時間の経過に従って直線状に電流値を第1電流値まで変化させ、第2期間の開始タイミングにおいて第1電流値から第2電流値に電流値を切り替え、その直後から第2期間の終了タイミングまで第2電流値に電流値を保持する波形の駆動信号を、アクチュエータに印加することで、アクチュエータに揺動部を揺動させて光路を制御する駆動回路と、を備える。
【選択図】図1
特許請求の範囲
【請求項1】
光が入射する光学部材を有する揺動部と、
揺動部を揺動させるアクチュエータと、
第1期間と、前記第1期間と連続する第2期間と、を含み、前記第1期間の開始タイミングにおいて第1電流値から第2電流値に電流値を切り替え、その直後に前記第1期間の終了タイミングまで時間の経過に従って直線状に電流値を第1電流値まで変化させ、前記第2期間の開始タイミングにおいて第1電流値から第2電流値に電流値を切り替え、その直後から前記第2期間の終了タイミングまで第2電流値に電流値を保持する波形の駆動信号を、前記アクチュエータに印加することで、アクチュエータに前記揺動部を揺動させて光路を制御する駆動回路と、を備える、
光路制御装置。
続きを表示(約 520 文字)
【請求項2】
前記駆動回路は、前記第1期間の長さが、前記揺動部の固有振動数の10/27周期と略同じ値となるように、前記駆動信号を印加する、
請求項1に記載の光路制御装置。
【請求項3】
請求項1又は請求項2に記載の光路制御装置と、
前記光学部材に光を照射する照射装置と、を含む、
表示装置。
【請求項4】
光が入射する光学部材を含む揺動部を揺動させるアクチュエータに駆動信号を印加することで光路を制御する光路制御方法であって、
第1期間と、前記第1期間と連続する第2期間と、を含み、前記第1期間の開始タイミングにおいて第1電流値から第2電流値に電流値を切り替え、その直後に前記第1期間の終了タイミングまで時間の経過に従って直線状に電流値を第1電流値まで変化させ、前記第2期間の開始タイミングにおいて第1電流値から第2電流値に電流値を切り替え、その直後から前記第2期間の終了タイミングまで第2電流値に電流値を保持する波形の駆動信号を、
前記アクチュエータに印加することで、アクチュエータに前記揺動部を揺動させて光路を制御するステップと、を含む、
光路制御方法。
発明の詳細な説明
【技術分野】
【0001】
本開示は、光路制御装置、表示装置、及び光路制御方法に関する。
続きを表示(約 1,500 文字)
【背景技術】
【0002】
光が入射する光学部を揺動させることで、光軸をずらす光学デバイスが知られている。例えば、下記の特許文献1、2には、光学部を揺動させて光学部を透過する光の光路をずらすことで、光変調装置の解像度よりも投射される画像の解像度を高くすることができる技術が記載されている。
【先行技術文献】
【特許文献】
【0003】
特開2016-071232号公報
特開2020-077911号公報
【発明の概要】
【発明が解決しようとする課題】
【0004】
このような光学デバイスでは、光学部を機械的に揺動させる駆動部を有することから、駆動部による揺動により生じる音を抑制することが求められるという課題があった。
【0005】
本開示は上記課題を鑑み、適切に揺動部を駆動させることができる光路制御装置、表示装置、及び光路制御方法を提供することを目的とする。
【課題を解決するための手段】
【0006】
上述した課題を解決し、目的を達成するために、本開示に係る光路制御装置は、光が入射する光学部材を有する揺動部と、揺動部を揺動させるアクチュエータと、第1期間と、前記第1期間と連続する第2期間と、を含み、前記第1期間の開始タイミングにおいて第1電流値から第2電流値に電流値を切り替え、その直後に前記第1期間の終了タイミングまで時間の経過に従って直線状に電流値を第1電流値まで変化させ、前記第2期間の開始タイミングにおいて第1電流値から第2電流値に電流値を切り替え、その直後から前記第2期間の終了タイミングまで第2電流値に電流値を保持する波形の駆動信号を、前記アクチュエータに印加することで、アクチュエータに前記揺動部を揺動させて光路を制御する駆動回路と、を備える。
【0007】
上述した課題を解決し、目的を達成するために、本開示に係る表示装置は、光路制御装置と、前記光学部材に光を照射する照射装置と、を含む。
【0008】
上述した課題を解決し、目的を達成するために、本開示に係る光路制御方法は、光が入射する光学部材を含む揺動部を揺動させるアクチュエータに駆動信号を印加することで光路を制御する光路制御方法であって、第1期間と、前記第1期間と連続する第2期間と、を含み、前記第1期間の開始タイミングにおいて第1電流値から第2電流値に電流値を切り替え、その直後に前記第1期間の終了タイミングまで時間の経過に従って直線状に電流値を第1電流値まで変化させ、前記第2期間の開始タイミングにおいて第1電流値から第2電流値に電流値を切り替え、その直後から前記第2期間の終了タイミングまで第2電流値に電流値を保持する波形の駆動信号を、前記アクチュエータに印加することで、アクチュエータに前記揺動部を揺動させて光路を制御するステップと、を含む。
【発明の効果】
【0009】
本開示によれば、適切に揺動部を駆動させることができる光路制御装置、表示装置、及び光路制御方法を提供することができる。
【図面の簡単な説明】
【0010】
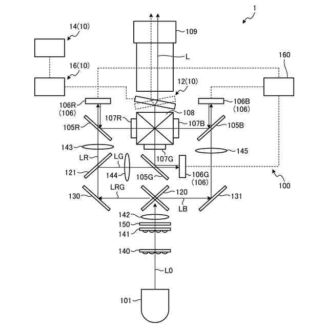
図1は、本開示に係る表示装置の模式図である
図2は、表示装置の回路構成を模式的に示すブロック図である。
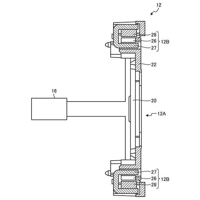
図3は、光路制御機構の模式図である。
図4は、図3のA-A断面図である。
図5は、駆動部の駆動信号の波形を説明するグラフである。
図6は、光学部の揺動パターンを説明するグラフである。
【発明を実施するための形態】
(【0011】以降は省略されています)
この特許をJ-PlatPat(特許庁公式サイト)で参照する
関連特許
株式会社JVCケンウッド
再生装置及び再生方法
今日
株式会社JVCケンウッド
再生装置及び再生方法
今日
株式会社JVCケンウッド
再生装置及び再生方法
今日
株式会社JVCケンウッド
評価装置及び評価方法
2日前
株式会社JVCケンウッド
ヘッドマウントディスプレイ
2日前
株式会社JVCケンウッド
集光レンズ及び投射型表示装置
2日前
株式会社JVCケンウッド
集光レンズ及び投射型表示装置
2日前
株式会社JVCケンウッド
出力制御装置および出力制御方法
5日前
株式会社JVCケンウッド
物体検出システム及び物体検出方法
2日前
株式会社JVCケンウッド
立体視画像生成装置およびプログラム
2日前
株式会社JVCケンウッド
通信装置、通信方法およびプログラム
2日前
株式会社JVCケンウッド
クリッピング装置及びクリッピング方法
2日前
株式会社JVCケンウッド
仮想空間制御システムおよび仮想空間制御方法
2日前
株式会社JVCケンウッド
仮想空間制御システムおよび仮想空間制御方法
2日前
株式会社JVCケンウッド
ナビゲーションシステム、および、ナビゲーション方法
2日前
株式会社JVCケンウッド
液晶デバイス、波長選択スイッチ装置、及び、液晶デバイスの故障検出方法
2日前
株式会社JVCケンウッド
空き状況情報提供装置、空き状況情報提供プログラム、および空き状況情報提供方法
2日前
株式会社JVCケンウッド
表示制御装置、プログラムおよび表示制御方法
2日前
株式会社JVCケンウッド
情報配信装置、情報生成方法、及び情報生成プログラム
2日前
株式会社シグマ
絞りユニット
13日前
キヤノン株式会社
撮像装置
26日前
キヤノン株式会社
撮像装置
12日前
平和精機工業株式会社
雲台
1か月前
キヤノン株式会社
撮像装置
6日前
株式会社リコー
画像形成装置
1か月前
株式会社リコー
画像形成装置
2か月前
株式会社リコー
画像形成装置
2か月前
株式会社リコー
画像形成装置
2日前
株式会社リコー
画像形成装置
1か月前
株式会社リコー
画像形成装置
3か月前
株式会社リコー
画像形成装置
1か月前
株式会社リコー
画像形成装置
20日前
株式会社リコー
画像形成装置
1か月前
キヤノン株式会社
画像形成装置
2か月前
トヨタ自動車株式会社
撮像方法
3か月前
シャープ株式会社
画像形成装置
1か月前
続きを見る
他の特許を見る