TOP
|
特許
|
意匠
|
商標
特許ウォッチ
Twitter
他の特許を見る
10個以上の画像は省略されています。
公開番号
2025139951
公報種別
公開特許公報(A)
公開日
2025-09-29
出願番号
2024039058
出願日
2024-03-13
発明の名称
空き状況情報提供装置、空き状況情報提供プログラム、および空き状況情報提供方法
出願人
株式会社JVCケンウッド
代理人
個人
,
個人
,
個人
主分類
G06Q
50/10 20120101AFI20250919BHJP(計算;計数)
要約
【課題】駐車場に入場した利用者に対し、利用対象とする駐車スペースを選択するために有益な情報を提供することが可能な、空き状況情報提供装置を提供する。
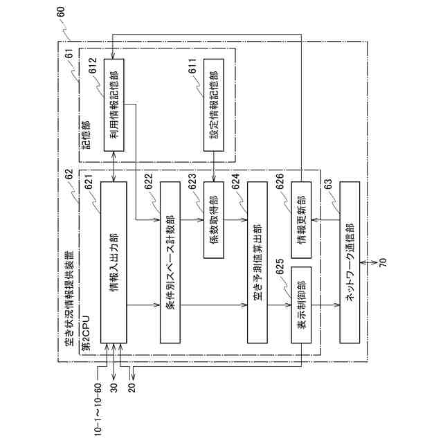
【解決手段】空き状況情報提供装置60は、空き予測値算出部624と、表示制御部625とを備える。空き予測値算出部624は、駐車場X1内の駐車スペースに関し、車両の出庫予想の基準となる基準時刻までの時間長に応じて設定される出庫予想係数に基づいて、駐車スペースの空きが発生する可能性の高さを示す空き予測値を算出する。表示制御部625は、空き予測値を含む表示情報を生成し、駐車場X1に入場する車両の利用者に向けて表示部22-1等から出力させる。
【選択図】図2
特許請求の範囲
【請求項1】
駐車場内の駐車スペースに関し、車両の出庫予想の基準となる基準時刻までの時間長に応じて設定される出庫予想係数に基づいて、前記駐車スペースの空きが発生する可能性の高さを示す空き予測値を算出する空き予測値算出部と、
前記空き予測値を含む出力情報を生成し、前記駐車場に入場する車両の利用者に向けて出力装置から出力させる出力制御部と、を備える空き状況情報提供装置。
続きを表示(約 570 文字)
【請求項2】
前記空き予測値算出部は、前記出庫予想係数と、前記基準時刻に対する出庫予想時刻としての信頼度を示す信頼度係数とに基づいて、前記空き予測値を算出する、請求項1に記載の空き状況情報提供装置。
【請求項3】
前記信頼度係数は、前記基準時刻の種別ごとに予め設定される、請求項2に記載の空き状況情報提供装置。
【請求項4】
空き状況情報提供装置に、
駐車場内の駐車スペースに関し、車両の出庫予想の基準となる基準時刻までの時間長に応じて設定される出庫予想係数に基づいて、前記駐車スペースの空きが発生する可能性の高さを示す空き予測値を算出する機能と、
前記空き予測値を含む出力情報を生成し、前記駐車場に入場する車両の利用者に向けて出力装置から出力させる機能と、を実現させるための空き状況情報提供プログラム。
【請求項5】
空き状況情報提供装置が、
駐車場内の駐車スペースに関し、車両の出庫予想の基準となる基準時刻までの時間長に応じて設定される出庫予想係数に基づいて、前記駐車スペースの空きが発生する可能性の高さを示す空き予測値を算出し、
前記空き予測値を含む出力情報を生成し、前記駐車場に入場する車両の利用者に向けて出力装置から出力させる、空き状況情報提供方法。
発明の詳細な説明
【技術分野】
【0001】
本発明は、空き状況情報提供装置、空き状況情報提供プログラム、および空き状況情報提供方法に関する。
続きを表示(約 1,400 文字)
【背景技術】
【0002】
商業施設等には、多数の駐車スペースを有する大型の駐車場が設置されている。このような大型の駐車場は広範囲にわたって駐車スペースが設置されているため、利用者は、入場して利用対象の駐車スペースを選択する際に、駐車場内のどの場所に空き状態の駐車スペースがあるかを認識し辛いという問題がある。
【0003】
これに鑑み、駐車場内の各駐車スペースにおける車両の有無を検出し、検出した情報を利用者に提示する技術がある(例えば、特許文献1)。このような技術を用いることで、利用者は広大な駐車場内でどの場所に空き状態の駐車スペースがあるかを認識することができる。
【先行技術文献】
【特許文献】
【0004】
特開平6-223299号公報
【発明の概要】
【発明が解決しようとする課題】
【0005】
大型の駐車場内では、移動に時間がかかることから、入場した利用者の現在位置から遠い位置にある空き状態の駐車スペースと、利用者の現在位置から近い位置にある出庫間近の車両が駐車している駐車スペースとがある場合、後者の駐車スペースの方が早く駐車できる場合がある。
【0006】
しかし、上述した技術では現在空き状態となっている駐車スペースの情報しか利用者に提示されないため、利用者が、出庫間近の車両が駐車している駐車スペースも含めて利用対象とする駐車スペースを選択することができないという問題があった。
【0007】
本発明は、駐車場に入場した利用者に対し、利用対象とする駐車スペースを選択するために有益な情報を提供することが可能な、空き状況情報提供装置、空き状況情報提供プログラム、および空き状況情報提供方法を提供することを目的とする。
【課題を解決するための手段】
【0008】
上記目的を達成するための1又はそれ以上の実施形態の一態様に係る空き状況情報提供装置は、駐車場内の駐車スペースに関し、車両の出庫予想の基準となる基準時刻までの時間長に応じて設定される出庫予想係数に基づいて、前記駐車スペースの空きが発生する可能性の高さを示す空き予測値を算出する空き予測値算出部と、前記空き予測値を含む出力情報を生成し、前記駐車場に入場する車両の利用者に向けて出力装置から出力させる出力制御部と、を備える。
【0009】
また、1又はそれ以上の実施形態の一態様に係る空き状況情報提供プログラムは、空き状況情報提供装置に、駐車場内の駐車スペースに関し、車両の出庫予想の基準となる基準時刻までの時間長に応じて設定される出庫予想係数に基づいて、前記駐車スペースの空きが発生する可能性の高さを示す空き予測値を算出する機能と、前記空き予測値を含む出力情報を生成し、前記駐車場に入場する車両の利用者に向けて出力装置から出力させる機能と、を実現させる。
【0010】
また、1又はそれ以上の実施形態の一態様に係る空き状況情報提供方法は、空き状況情報提供装置が、駐車場内の駐車スペースに関し、車両の出庫予想の基準となる基準時刻までの時間長に応じて設定される出庫予想係数に基づいて、前記駐車スペースの空きが発生する可能性の高さを示す空き予測値を算出し、前記空き予測値を含む出力情報を生成し、前記駐車場に入場する車両の利用者に向けて出力装置から出力させる。
【発明の効果】
(【0011】以降は省略されています)
この特許をJ-PlatPat(特許庁公式サイト)で参照する
関連特許
株式会社JVCケンウッド
光造形装置
5日前
株式会社JVCケンウッド
再生装置及び再生方法
今日
株式会社JVCケンウッド
再生装置及び再生方法
今日
株式会社JVCケンウッド
評価装置及び評価方法
2日前
株式会社JVCケンウッド
再生装置及び再生方法
今日
株式会社JVCケンウッド
タッチパネルの取付構造
5日前
株式会社JVCケンウッド
ヘッドマウントディスプレイ
2日前
株式会社JVCケンウッド
集光レンズ及び投射型表示装置
2日前
株式会社JVCケンウッド
集光レンズ及び投射型表示装置
2日前
株式会社JVCケンウッド
行動監視装置および行動監視方法
12日前
株式会社JVCケンウッド
出力制御装置および出力制御方法
5日前
株式会社JVCケンウッド
物体検出システム及び物体検出方法
2日前
株式会社JVCケンウッド
通信装置、通信方法およびプログラム
2日前
株式会社JVCケンウッド
立体視画像生成装置およびプログラム
2日前
株式会社JVCケンウッド
光造形制御装置および造形物の製造方法
5日前
株式会社JVCケンウッド
クリッピング装置及びクリッピング方法
2日前
株式会社JVCケンウッド
光路制御装置、表示装置、及び光路制御方法
5日前
株式会社JVCケンウッド
仮想空間制御システムおよび仮想空間制御方法
2日前
株式会社JVCケンウッド
仮想空間制御システムおよび仮想空間制御方法
2日前
株式会社JVCケンウッド
仮想空間制御システムおよび仮想空間制御方法
6日前
株式会社JVCケンウッド
仮想空間制御システムおよび仮想空間制御方法
6日前
株式会社JVCケンウッド
ナビゲーションシステム、および、ナビゲーション方法
2日前
株式会社JVCケンウッド
画像分類装置、画像分類方法、および画像分類プログラム
6日前
株式会社JVCケンウッド
画像分類装置、画像分類方法、および画像分類プログラム
6日前
株式会社JVCケンウッド
画像分類装置、画像分類方法、および画像分類プログラム
6日前
株式会社JVCケンウッド
携帯機器保持用のアタッチメント,携帯機器の保持構造,及び保持方法
6日前
株式会社JVCケンウッド
液晶デバイス、波長選択スイッチ装置、及び、液晶デバイスの故障検出方法
2日前
株式会社JVCケンウッド
空き状況情報提供装置、空き状況情報提供プログラム、および空き状況情報提供方法
2日前
株式会社JVCケンウッド
表示制御装置、プログラムおよび表示制御方法
2日前
株式会社JVCケンウッド
情報配信装置、情報生成方法、及び情報生成プログラム
2日前
株式会社JVCケンウッド
画像符号化装置、画像符号化方法、画像符号化プログラム、画像復号装置、画像復号方法及び画像復号プログラム
12日前
個人
裁判のAI化
2か月前
個人
フラワーコートA
1か月前
個人
工程設計支援装置
1か月前
個人
情報処理システム
2か月前
個人
地球保全システム
今日
続きを見る
他の特許を見る