TOP
|
特許
|
意匠
|
商標
特許ウォッチ
Twitter
他の特許を見る
10個以上の画像は省略されています。
公開番号
2025141629
公報種別
公開特許公報(A)
公開日
2025-09-29
出願番号
2024041648
出願日
2024-03-15
発明の名称
仮想空間制御システムおよび仮想空間制御方法
出願人
株式会社JVCケンウッド
代理人
弁理士法人酒井国際特許事務所
主分類
G06F
3/04815 20220101AFI20250919BHJP(計算;計数)
要約
【課題】仮想空間内の移動中のコミュニケーションを適切に行うこと。
【解決手段】仮想空間制御システム1が備える情報処置装置50は、第一情報端末装置の第一ユーザに対応する第一アバターが仮想空間を移動して、第二情報端末装置の第二ユーザに対応する第二アバターと相互に情報共有範囲に含まれる状態となったことを検出し、第一アバターと第二アバターとが相互に情報共有範囲に含まれている状態で情報共有が行われたことを検出した場合、第一アバターの移動に合わせて第二アバターを移動させる。
【選択図】図4
特許請求の範囲
【請求項1】
情報端末装置に仮想空間を表示させ、前記仮想空間に前記情報端末装置のユーザに対応するアバターを表示させる仮想空間制御システムであって、
前記仮想空間制御システムが備える情報処理装置は、
第一情報端末装置の第一ユーザに対応する第一アバターが前記仮想空間を移動して、第二情報端末装置の第二ユーザに対応する第二アバターと相互に情報共有範囲に含まれる状態となったことを検出し、前記第一アバターと前記第二アバターとが相互に情報共有範囲に含まれている状態で情報共有が行われたことを検出した場合、前記第一アバターの移動に合わせて前記第二アバターを移動させる、
仮想空間制御システム。
続きを表示(約 850 文字)
【請求項2】
前記情報処理装置は、
前記第一アバターと前記第二アバターとが相互に情報共有範囲に含まれている状態で情報共有が行われたことを検出した場合、前記第一ユーザの直近の予定の開始時刻が、前記第二ユーザの直近の予定の開始時刻より先である場合、前記第一アバターの移動に合わせて前記第二アバターを移動させる、
請求項1に記載の仮想空間制御システム。
【請求項3】
前記情報処理装置は、
前記第一アバターと前記第二アバターとが相互に情報共有範囲に含まれている状態で情報共有が行われたことを検出した場合、前記第一ユーザが前記第二ユーザに対して情報共有を開始した場合、前記第一アバターの移動に合わせて前記第二アバターを移動させる、
請求項1に記載の仮想空間制御システム。
【請求項4】
前記情報処理装置は、
前記第一アバターと前記第二アバターとが相互に情報共有範囲に含まれている状態で情報共有が行われたことを検出した場合、前記第二ユーザが前記第一ユーザに対して情報共有を開始した場合、前記第一アバターの移動に合わせて前記第二アバターを移動させる、
請求項1に記載の仮想空間制御システム。
【請求項5】
情報端末装置に仮想空間を表示させ、前記仮想空間に前記情報端末装置のユーザに対応するアバターを表示させる仮想空間制御システムが実行する仮想空間制御方法であって、
第一情報端末装置の第一ユーザに対応する第一アバターが前記仮想空間を移動して、第二情報端末装置の第二ユーザに対応する第二アバターと相互に情報共有範囲に含まれる状態となったことを検出し、前記第一アバターと前記第二アバターとが相互に情報共有範囲に含まれている状態で情報共有が行われたことを検出した場合、前記第一アバターの移動に合わせて前記第二アバターを移動させる制御を行うこと、
を仮想空間制御システムが実行する仮想空間制御方法。
発明の詳細な説明
【技術分野】
【0001】
本発明は、仮想空間制御システムおよび仮想空間制御方法に関する。
続きを表示(約 2,100 文字)
【背景技術】
【0002】
仮想空間に構成した仮想オフィス(バーチャルオフィス)などにおいては、各々のユーザがアバターなどを利用して、仮想オフィス内で業務等を行う。各アバターは、仮想空間上の距離が近い場合や同一空間内などにおいては、相互に声などの音声が聞こえるような状態とする技術が知られている(例えば、特許文献1参照)。
【先行技術文献】
【特許文献】
【0003】
特開2022-071314号公報
【発明の概要】
【発明が解決しようとする課題】
【0004】
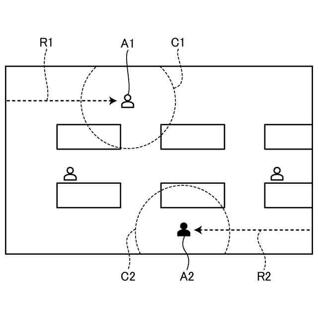
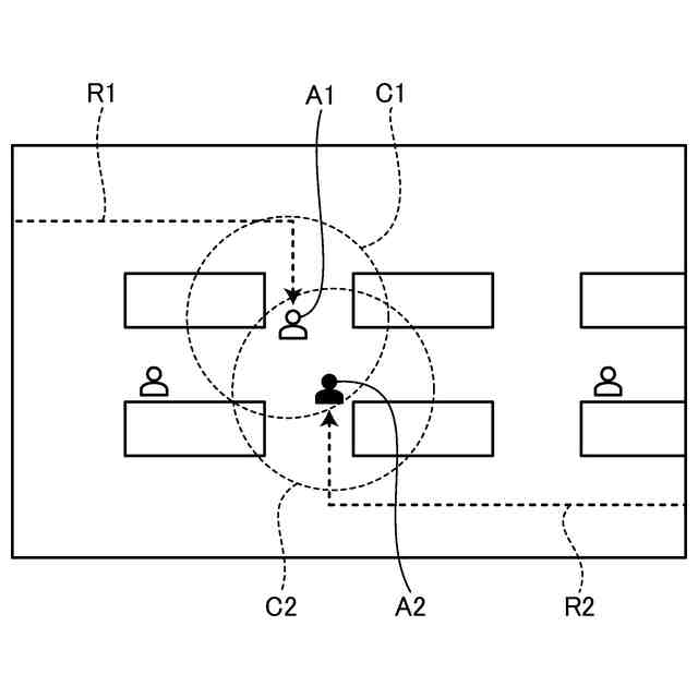
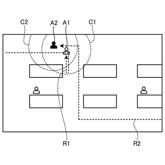
各アバターのユーザは、仮想空間内において自己のアバターを様々な位置に移動させることができる。仮想空間内における自己のアバターの移動中のすれ違いなどで接近した他のアバターのユーザと会話などの情報共有を行う場合もある。このような場合、自己のアバターの移動を中断して双方のアバターの情報共有範囲が重なる位置にとどまる必要があり、移動が阻害される。
【0005】
本開示は、仮想空間内の移動中のコミュニケーションを適切に行うことを目的とする。
【課題を解決するための手段】
【0006】
上述した課題を解決し、目的を達成するために、本開示に係る仮想空間制御システムは、情報端末装置に仮想空間を表示させ、前記仮想空間に前記情報端末装置のユーザに対応するアバターを表示させる仮想空間制御システムであって、前記仮想空間制御システムが備える情報処理装置は、第一情報端末装置の第一ユーザに対応する第一アバターが前記仮想空間を移動して、第二情報端末装置の第二ユーザに対応する第二アバターと相互に情報共有範囲に含まれる状態となったことを検出し、前記第一アバターと前記第二アバターとが相互に情報共有範囲に含まれている状態で情報共有が行われたことを検出した場合、前記第一アバターの移動に合わせて前記第二アバターを移動させる。
【0007】
本開示に係る仮想空間制御方法は、情報端末装置に仮想空間を表示させ、前記仮想空間に前記情報端末装置のユーザに対応するアバターを表示させる仮想空間制御システムが実行する仮想空間制御方法であって、第一情報端末装置の第一ユーザに対応する第一アバターが前記仮想空間を移動して、第二情報端末装置の第二ユーザに対応する第二アバターと相互に情報共有範囲に含まれる状態となったことを検出し、前記第一アバターと前記第二アバターとが相互に情報共有範囲に含まれている状態で情報共有が行われたことを検出した場合、前記第一アバターの移動に合わせて前記第二アバターを移動させる制御を行うこと、を仮想空間制御システムが実行する。
【発明の効果】
【0008】
本開示によれば、仮想空間内の移動中のコミュニケーションを適切に行うことができる。
【図面の簡単な説明】
【0009】
図1は、第一実施形態に係る仮想空間制御システムの構成例を示す概略図である。
図2は、第一実施形態に係る情報端末装置の構成例を示すブロック図である。
図3は、第一実施形態に係るサーバ装置の構成例を示すブロック図である。
図4は、第一実施形態に係る情報処理装置の構成例を示すブロック図である。
図5は、第一実施形態に係る仮想空間制御方法の一例を示すフローチャートである。
図6は、情報端末装置の表示画面に表示された仮想オフィスの表示画面の一例を示す図である。
図7は、情報端末装置の表示画面に表示された仮想オフィスの表示画面の他の例を示す図である。
図8は、情報端末装置の表示画面に表示された仮想オフィスの表示画面の他の例を示す図である。
図9は、第二実施形態に係る情報処理装置の構成例を示すブロック図である。
図10は、第二実施形態に係る仮想空間制御方法の一例を示すフローチャートである。
図11は、第三実施形態に係る仮想空間制御方法の一例を示すフローチャートである。
図12は、第四実施形態に係る仮想空間制御方法の一例を示すフローチャートである。
図13は、第五実施形態に係る仮想空間制御方法の一例を示すフローチャートである。
図14は、情報端末装置の表示画面に表示された仮想オフィスの表示画面の一例を示す図である。
図15は、情報端末装置の表示画面に表示された仮想オフィスの表示画面の他の例を示す図である。
図16は、情報端末装置の表示画面に表示された仮想オフィスの表示画面の他の例を示す図である。
図17は、第六実施形態に係る仮想空間制御方法の一例を示すフローチャートである。
図18は、第七実施形態に係る仮想空間制御方法の一例を示すフローチャートである。
【発明を実施するための形態】
【0010】
以下に添付図面を参照して、本発明に係る仮想空間制御システムおよび仮想空間制御方法の実施形態を詳細に説明する。なお、以下の実施形態により本発明が限定されるものではない。
(【0011】以降は省略されています)
この特許をJ-PlatPat(特許庁公式サイト)で参照する
関連特許
株式会社JVCケンウッド
再生装置及び再生方法
今日
株式会社JVCケンウッド
再生装置及び再生方法
今日
株式会社JVCケンウッド
評価装置及び評価方法
2日前
株式会社JVCケンウッド
再生装置及び再生方法
今日
株式会社JVCケンウッド
ヘッドマウントディスプレイ
2日前
株式会社JVCケンウッド
集光レンズ及び投射型表示装置
2日前
株式会社JVCケンウッド
集光レンズ及び投射型表示装置
2日前
株式会社JVCケンウッド
物体検出システム及び物体検出方法
2日前
株式会社JVCケンウッド
立体視画像生成装置およびプログラム
2日前
株式会社JVCケンウッド
通信装置、通信方法およびプログラム
2日前
株式会社JVCケンウッド
クリッピング装置及びクリッピング方法
2日前
株式会社JVCケンウッド
仮想空間制御システムおよび仮想空間制御方法
2日前
株式会社JVCケンウッド
仮想空間制御システムおよび仮想空間制御方法
2日前
株式会社JVCケンウッド
ナビゲーションシステム、および、ナビゲーション方法
2日前
株式会社JVCケンウッド
液晶デバイス、波長選択スイッチ装置、及び、液晶デバイスの故障検出方法
2日前
株式会社JVCケンウッド
空き状況情報提供装置、空き状況情報提供プログラム、および空き状況情報提供方法
2日前
株式会社JVCケンウッド
表示制御装置、プログラムおよび表示制御方法
2日前
株式会社JVCケンウッド
情報配信装置、情報生成方法、及び情報生成プログラム
2日前
個人
裁判のAI化
2か月前
個人
フラワーコートA
1か月前
個人
工程設計支援装置
1か月前
個人
地球保全システム
今日
個人
情報処理システム
2か月前
個人
介護情報提供システム
2か月前
個人
冷凍食品輸出支援構造
27日前
個人
為替ポイント伊達夢貯
27日前
個人
携帯情報端末装置
1か月前
個人
設計支援システム
2か月前
個人
設計支援システム
2か月前
個人
表変換編集支援システム
20日前
個人
知財出願支援AIシステム
27日前
個人
結婚相手紹介支援システム
1か月前
株式会社サタケ
籾摺・調製設備
2か月前
個人
AIによる情報の売買の仲介
29日前
株式会社カクシン
支援装置
2か月前
個人
行動時間管理システム
22日前
続きを見る
他の特許を見る