TOP
|
特許
|
意匠
|
商標
特許ウォッチ
Twitter
他の特許を見る
公開番号
2025136374
公報種別
公開特許公報(A)
公開日
2025-09-19
出願番号
2024034898
出願日
2024-03-07
発明の名称
無線キー装置、ドアロック解錠システム、解錠方法
出願人
株式会社JVCケンウッド
代理人
個人
主分類
E05B
49/00 20060101AFI20250911BHJP(錠;鍵;窓または戸の付属品;金庫)
要約
【課題】リレーアタックの行為を抑制する技術を提供する。
【解決手段】送信部222は、受信部220が第1無線通信方式により解錠信号を受信した場合、通信部210が第2無線通信方式により車両と通信していれば、解錠信号に応答するための応答信号を車両に送信する。送信部222は、受信部220が第1無線通信方式により解錠信号を受信した場合、通信部210が第2無線通信方式により車両と通信していなければ、車両に搭載した防犯装置を起動させるための起動信号を車両に送信する。
【選択図】図3
特許請求の範囲
【請求項1】
車両のドアロックを解錠させるための解錠信号を第1無線通信方式により前記車両から受信可能な受信部と、
前記第1無線通信方式とは異なった第2無線通信方式により前記車両と通信可能な通信部と、
前記受信部が前記第1無線通信方式により前記解錠信号を受信した場合、前記通信部が前記第2無線通信方式により前記車両と通信していれば、前記解錠信号に応答するための応答信号を前記車両に送信する送信部を備え、
前記送信部は、前記受信部が前記第1無線通信方式により前記解錠信号を受信した場合、前記通信部が前記第2無線通信方式により前記車両と通信していなければ、前記車両に搭載した防犯装置を起動させるための起動信号を前記車両に送信する無線キー装置。
続きを表示(約 860 文字)
【請求項2】
前記送信部は、前記応答信号と前記起動信号を第3無線通信方式により送信する請求項1に記載の無線キー装置。
【請求項3】
前記送信部は、前記受信部が前記第1無線通信方式により前記解錠信号を受信しない場合、前記応答信号と前記起動信号のいずれも送信しない請求項1に記載の無線キー装置。
【請求項4】
ドアロックを備える車両と、
前記ドアロックの解錠に使用される無線キー装置とを備え、
前記車両は、前記車両のドアロックを解錠させるための解錠信号を第1無線通信方式により送信し、
前記車両と前記無線キー装置は、前記第1無線通信方式とは異なった第2無線通信方式により通信可能であり、
前記無線キー装置は、前記第1無線通信方式により前記解錠信号を受信した場合、前記第2無線通信方式により前記車両と通信していれば、前記解錠信号に応答するための応答信号を前記車両に送信し、
前記無線キー装置は、前記第1無線通信方式により前記解錠信号を受信した場合、前記第2無線通信方式により前記車両と通信していなければ、前記車両に搭載した防犯装置を起動させるための起動信号を前記車両に送信するドアロック解錠システム。
【請求項5】
車両のドアロックを解錠させるための解錠信号を第1無線通信方式により前記車両から受信可能なステップと、
前記第1無線通信方式とは異なった第2無線通信方式により前記車両と通信可能なステップと、
前記第1無線通信方式により前記解錠信号を受信した場合、前記第2無線通信方式により前記車両と通信していれば、前記解錠信号に応答するための応答信号を前記車両に送信するステップと、
前記第1無線通信方式により前記解錠信号を受信した場合、前記第2無線通信方式により前記車両と通信していなければ、前記車両に搭載した防犯装置を起動させるための起動信号を前記車両に送信するステップと、
を備える解錠方法。
発明の詳細な説明
【技術分野】
【0001】
本発明は、解錠技術に関し、特に無線通信を使用する無線キー装置、ドアロック解錠システム、解錠方法に関する。
続きを表示(約 1,700 文字)
【背景技術】
【0002】
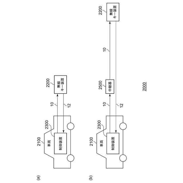
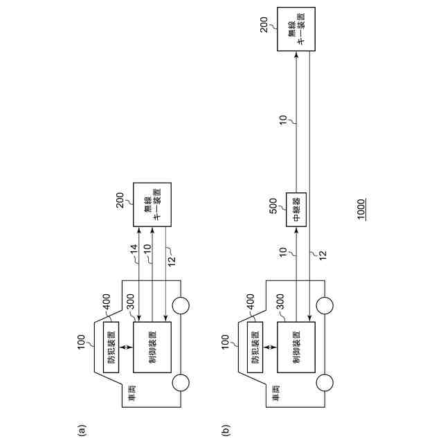
リレーアタックは、車両のドアロックを不正に解錠する手段である。リレーアタックでは、車両のドアロックを解錠するために車両から発信される信号が第3者によって不正に受信され、本来であれば届くはずのない離れた場所にあるスマートキーへ当該信号が送信される。これにより、スマートキーから開錠用の応答信号が送信されるので、応答信号を受信することによってドアロックが解錠される。このようなリレーアタックを防止するために、車両から発信された信号の受信強度が大きければ、ドアロックの不正な解錠であると判定される(例えば、特許文献1)。
【先行技術文献】
【特許文献】
【0003】
特開2021-67056号公報
【発明の概要】
【発明が解決しようとする課題】
【0004】
リレーアタックを防止することは重要であるが、リレーアタックの行為を抑制することも重要である。
【0005】
本発明はこうした状況に鑑みてなされたものであり、その目的は、リレーアタックの行為を抑制する技術を提供することである。
【課題を解決するための手段】
【0006】
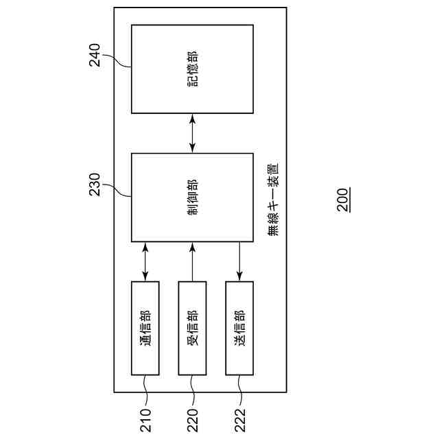
上記課題を解決するために、本発明のある態様の無線キー装置は、車両のドアロックを解錠させるための解錠信号を第1無線通信方式により車両から受信可能な受信部と、第1無線通信方式とは異なった第2無線通信方式により車両と通信可能な通信部と、受信部が第1無線通信方式により解錠信号を受信した場合、通信部が第2無線通信方式により車両と通信していれば、解錠信号に応答するための応答信号を車両に送信する送信部を備える。送信部は、受信部が第1無線通信方式により解錠信号を受信した場合、通信部が第2無線通信方式により車両と通信していなければ、車両に搭載した防犯装置を起動させるための起動信号を車両に送信する。
【0007】
ここで、「車両から受信」は車両に搭載された装置から受信することを含み、「車両と通信」は車両に搭載された装置と通信することを含み、「車両に送信」は車両に搭載された装置に送信することを含む。
【0008】
本発明の別の態様は、ドアロック解錠システムである。このドアロック解錠システムは、ドアロックを備える車両と、ドアロックの解錠に使用される無線キー装置とを備える。車両は、車両のドアロックを解錠させるための解錠信号を第1無線通信方式により送信し、車両と無線キー装置は、第1無線通信方式とは異なった第2無線通信方式により通信可能であり、無線キー装置は、第1無線通信方式により解錠信号を受信した場合、第2無線通信方式により車両と通信していれば、解錠信号に応答するための応答信号を車両に送信し、無線キー装置は、第1無線通信方式により解錠信号を受信した場合、第2無線通信方式により車両と通信していなければ、車両に搭載した防犯装置を起動させるための起動信号を車両に送信する。
【0009】
本発明のさらに別の態様は、解錠方法である。この方法は、車両のドアロックを解錠させるための解錠信号を第1無線通信方式により車両から受信可能なステップと、第1無線通信方式とは異なった第2無線通信方式により車両と通信可能なステップと、第1無線通信方式により解錠信号を受信した場合、第2無線通信方式により車両と通信していれば、解錠信号に応答するための応答信号を車両に送信するステップと、第1無線通信方式により解錠信号を受信した場合、第2無線通信方式により車両と通信していなければ、車両に搭載した防犯装置を起動させるための起動信号を車両に送信するステップと、を備える。
【0010】
なお、以上の構成要素の任意の組合せ、本発明の表現を方法、装置、システム、記録媒体、コンピュータプログラムなどの間で変換したものもまた、本発明の態様として有効である。
【発明の効果】
(【0011】以降は省略されています)
この特許をJ-PlatPat(特許庁公式サイト)で参照する
関連特許
個人
物品保管箱
2か月前
個人
防犯用ドア装置
2か月前
個人
ピンシリンダー錠。
3か月前
個人
二重ロック機能付小物入れ
2か月前
個人
顔認証による入室システム
3か月前
個人
ポスト機能付き手提げ金庫
1か月前
株式会社ニシムラ
ラッチ錠
4か月前
ミサワホーム株式会社
錠受具
3か月前
三協立山株式会社
開口部装置
1か月前
個人
無人貸金庫システム
20日前
株式会社アルファ
電気錠
2か月前
リョービ株式会社
ドアクローザ
2か月前
リョービ株式会社
ドアクローザ
2か月前
株式会社ベスト
扉及び個室
17日前
積水ハウス株式会社
引き戸
17日前
有限会社シティング
引き戸
27日前
株式会社ベスト
開き扉の開閉装置
1か月前
タキゲン製造株式会社
抜差し蝶番
4か月前
株式会社榮伸
カバン蓋の係止装置
1か月前
美和ロック株式会社
ハンドル装置
4か月前
積水ハウス株式会社
引き戸
29日前
スズキ株式会社
車両用乗員保護装置
1か月前
美和ロック株式会社
IDキー
2か月前
ミネベアショウワ株式会社
ドア装置
1か月前
ミネベアショウワ株式会社
ドア装置
1か月前
コイト電工株式会社
蝶番の取付構造
6日前
株式会社LIXIL
建具
1か月前
株式会社LIXIL
建具
17日前
株式会社LIXIL
建具
2か月前
株式会社WEST inx
引戸用引手
3か月前
株式会社ユニオン
ドアハンドル
21日前
株式会社アイシン
ドア支持装置
6日前
神田工業株式会社
解錠システム
3か月前
株式会社ベスト
グレビティヒンジ
2か月前
株式会社アイシン
車両用ドア装置
14日前
株式会社アイシン
車両用ドア装置
14日前
続きを見る
他の特許を見る