TOP
|
特許
|
意匠
|
商標
特許ウォッチ
Twitter
他の特許を見る
10個以上の画像は省略されています。
公開番号
2025137990
公報種別
公開特許公報(A)
公開日
2025-09-25
出願番号
2024036554
出願日
2024-03-11
発明の名称
印刷媒体設置装置
出願人
理想科学工業株式会社
代理人
個人
主分類
B41J
13/10 20060101AFI20250917BHJP(印刷;線画機;タイプライター;スタンプ)
要約
【課題】簡易な構成で衣類などの印刷媒体に適度な張力をかけつつ印刷媒体を保持することのできる印刷媒体設置装置を提供する。
【解決手段】印刷媒体Pの印刷範囲が配置される中央印刷台22aと、中央印刷台22aの対向する端部に沿ってそれぞれ設けられた第1の端部印刷台22bおよび第2の端部印刷台22cとを備え、第1の端部印刷台22bおよび第2の端部印刷台22cが、印刷媒体Pの端部を保持しつつ、中央印刷台22aの印刷媒体Pの載置面22fとは反対側の面に向けて回動可能に中央印刷台22aに接続されている。
【選択図】図1
特許請求の範囲
【請求項1】
印刷媒体の印刷範囲が配置される中央印刷台と、
前記中央印刷台の対向する端部に沿ってそれぞれ設けられた第1の端部印刷台および第2の端部印刷台とを備え、
前記第1の端部印刷台および前記第2の端部印刷台が、前記印刷媒体の端部を保持しつつ、前記中央印刷台の前記印刷媒体の載置面とは反対側の面に向けて回動可能に前記中央印刷台に接続されている印刷媒体設置装置。
続きを表示(約 260 文字)
【請求項2】
前記中央印刷台の印刷媒体の載置面上に、該載置面から離間する方向と近づく方向とに移動可能な印刷受け部材が設けられている請求項1記載の印刷媒体設置装置。
【請求項3】
前記印刷受け部材を前記載置面から離間する方向と近づく方向に移動可能に支持する弾性部材と、前記印刷受け部材と前記中央印刷台との間に設けられたリンク機構とを備えた請求項2記載の印刷媒体設置装置。
【請求項4】
前記弾性部材が縮んだ状態で前記印刷受け部材を保持するロック機構を備えた請求項3記載の印刷媒体設置装置。
発明の詳細な説明
【技術分野】
【0001】
本発明は、印刷媒体が設置される印刷媒体設置装置に関するものである。
続きを表示(約 1,500 文字)
【背景技術】
【0002】
近年、印刷用紙だけでなく、布、フィルムおよび木材など種々の部材に印刷を行うことが提案されている。
【0003】
ここで、たとえばTシャツなどの衣類に印刷を行う場合、少なくとも衣類の印刷範囲に適度な張力を与えた状態で衣類を保持し、印刷を行うことが求められる。このような技術として、たとえば特許文献1に示すように、衣類の載置台の両側で張力を調整するものがある。
【先行技術文献】
【特許文献】
【0004】
特開2013-96036号公報
【発明の概要】
【発明が解決しようとする課題】
【0005】
しかしながら、特許文献1に記載のような構成では、衣類の載置台の構造が複雑化・大型化し、印刷を行う装置全体が大型化してしまう問題がある。
【0006】
本発明は、上記事情に鑑み、簡易な構成で衣類などの印刷媒体に適度な張力をかけつつ印刷媒体を保持することのできる印刷媒体設置装置を提供することを目的とするものである。
【課題を解決するための手段】
【0007】
本発明の印刷媒体設置装置は、印刷媒体の印刷範囲が配置される中央印刷台と、中央印刷台の対向する端部に沿ってそれぞれ設けられた第1の端部印刷台および第2の端部印刷台とを備え、第1の端部印刷台および第2の端部印刷台が、印刷媒体の端部を保持しつつ、中央印刷台の印刷媒体の載置面とは反対側の面に向けて回動可能に中央印刷台に接続されている。
【発明の効果】
【0008】
本発明の印刷媒体設置装置によれば、印刷媒体の印刷範囲が配置される中央印刷台と、中央印刷台の対向する端部に沿ってそれぞれ設けられた第1の端部印刷台および第2の端部印刷台とを備え、第1の端部印刷台および第2の端部印刷台が、印刷媒体の端部を保持しつつ、中央印刷台の印刷媒体の載置面とは反対側の面に向けて回動可能に中央印刷台に接続するようにしたので、簡易な構成で衣類などの印刷媒体に適度な張力をかけつつ印刷媒体を保持することができる。
【図面の簡単な説明】
【0009】
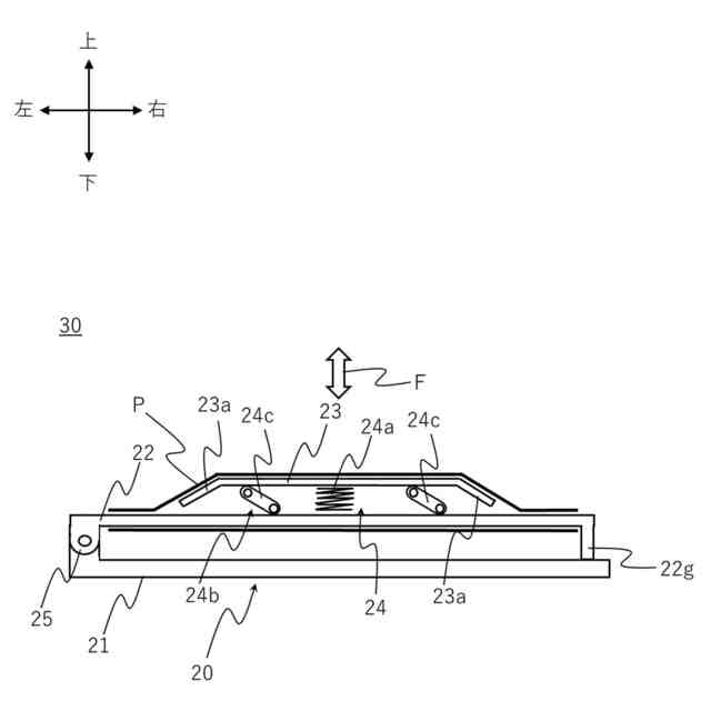
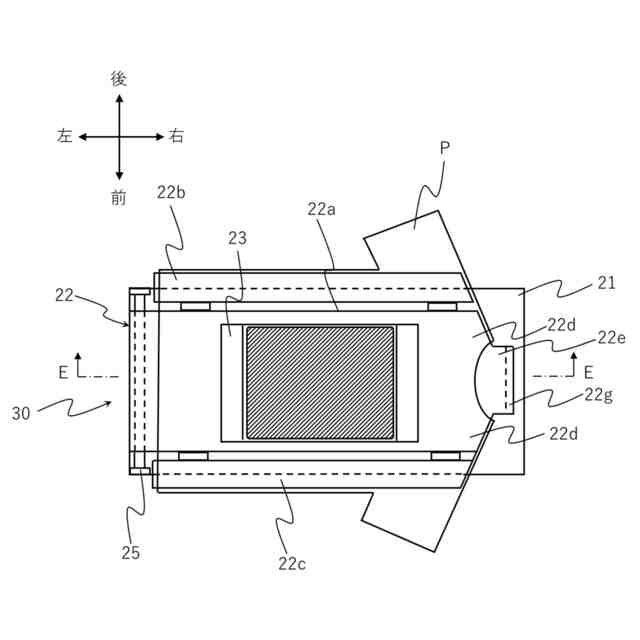
本発明の印刷媒体設置装置の第1の実施形態の概略構成を示す平面図
図1に示す印刷媒体設置装置のA-A線断面図
印刷台を開いた状態の印刷媒体設置装置の一例を示す図
第1の端部印刷台および第2の端部印刷台を広げた状態と、第1の端部印刷台および第2の端部印刷台を裏側に回動させて折り畳んだ状態を示す図
本発明の印刷媒体設置装置の第2の実施形態の概略構成を示す平面図
図1に示す印刷媒体設置装置のE-E線断面図
ロック機構にロックされてバネ部材が縮められた状態の印刷媒体設置装置とロック機構によるロックが解除されてバネ部材が伸びた状態の印刷媒体設置装置の一例を示す図
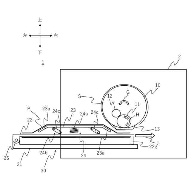
第2の実施形態の印刷媒体設置装置を用いた孔版印刷装置の概略構成を示す図
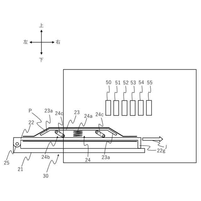
第2の実施形態の印刷媒体設置装置を用いたインクジェット印刷装置の概略構成を示す図
シリアル方式のヘッド部の一実施形態の概略構成を示す図
【発明を実施するための形態】
【0010】
以下、図面を参照して本発明の印刷媒体設置装置の第1の実施形態について詳細に説明する。図1は、本実施形態の印刷媒体設置装置20の概略構成を示す平面図である。図2は、図1に示す印刷媒体設置装置20のA-A線断面図である。
(【0011】以降は省略されています)
この特許をJ-PlatPat(特許庁公式サイト)で参照する
関連特許
理想科学工業株式会社
孔版印刷装置
今日
理想科学工業株式会社
画像処理装置
今日
理想科学工業株式会社
画像形成装置
9日前
理想科学工業株式会社
梱包支援装置、方法およびプログラム
今日
個人
箔熱転写装置
1か月前
シヤチハタ株式会社
印判
4か月前
東レ株式会社
凸版印刷版原版
10か月前
シヤチハタ株式会社
反転式印判
9か月前
三光株式会社
感熱記録材料
6か月前
独立行政法人 国立印刷局
印刷物
7か月前
キヤノン株式会社
記録装置
1か月前
日本製紙株式会社
感熱記録体
7か月前
株式会社リコー
画像形成装置
25日前
株式会社リコー
液体吐出装置
5か月前
株式会社リコー
画像形成装置
1か月前
独立行政法人 国立印刷局
貼付機構
2か月前
株式会社リコー
印刷システム
25日前
株式会社リコー
液体吐出装置
8か月前
独立行政法人 国立印刷局
記録媒体
9か月前
株式会社リコー
液体吐出装置
5か月前
株式会社リコー
液体吐出装置
7か月前
株式会社リコー
液体吐出装置
8か月前
株式会社リコー
液体吐出装置
2か月前
独立行政法人 国立印刷局
貼付装置
2か月前
株式会社リコー
画像形成装置
21日前
株式会社リコー
液体吐出装置
4か月前
株式会社リコー
液体吐出装置
6か月前
キヤノン株式会社
画像形成装置
8日前
ブラザー工業株式会社
プリンタ
9か月前
ブラザー工業株式会社
プリンタ
6か月前
ブラザー工業株式会社
プリンタ
6か月前
ブラザー工業株式会社
プリンタ
4か月前
キヤノン株式会社
画像形成装置
10か月前
キヤノン株式会社
情報処理装置
9か月前
キヤノン株式会社
画像形成装置
1か月前
キヤノン株式会社
画像形成装置
8か月前
続きを見る
他の特許を見る