TOP
|
特許
|
意匠
|
商標
特許ウォッチ
Twitter
他の特許を見る
公開番号
2025136817
公報種別
公開特許公報(A)
公開日
2025-09-19
出願番号
2024035684
出願日
2024-03-08
発明の名称
自動車ドア用のグラスランおよびこれを備えたグラスランユニット
出願人
西川ゴム工業株式会社
代理人
個人
,
個人
,
個人
,
個人
,
個人
,
個人
,
個人
,
個人
,
個人
主分類
B60J
10/76 20160101AFI20250911BHJP(車両一般)
要約
【課題】モール部材をグラスランに取り付ける際に、良好な作業性を確保しつつもモール部材を車両前後方向に位置決めすることができる自動車ドア用のグラスランおよびこれを備えたグラスランユニットを提供する。
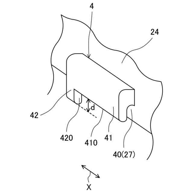
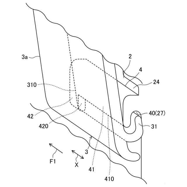
【解決手段】自動車ドア用のグラスラン2であって、前接続部24、上辺部および後接続部には、上側係合溝および下側係合溝27が設けられており、前接続部24および後接続部の少なくとも一方の車外側には、モール係合部材4が設けられており、モール係合部材4には、溝部40が形成された被係合部41と、下側係合部31が溝部40と係合していてかつ上側係合部が上側係合溝と係合していない状態で、下側係合部31が突き当たることでモール部材3を車両前後方向に位置決めするように構成された位置決め部42と、が設けられており、位置決め部42は、被係合部41の下端縁410よりも下方に出っ張っている。
【選択図】図11
特許請求の範囲
【請求項1】
車両前後方向に延びる上側フレーム部と、当該上側フレーム部の前後各端部から下方向に延びる前側フレーム部および後側フレーム部と、を有するサッシュフレームに装着され、当該サッシュフレームとドアガラスとの間をシールする自動車ドア用のグラスランであって、
前記上側フレーム部に装着される上辺部と、前記前側フレーム部に装着される前辺部と、前記後側フレーム部に装着される後辺部と、前記上辺部の前端部と前記前辺部の上端部とを接続する前接続部と、前記上辺部の後端部と前記後辺部の上端部とを接続する後接続部と、を有するとともに、帯状のモール部材を前記上辺部に沿うように前記前接続部から前記後接続部に亘って車外側に取り付け可能に構成されており、
前記モール部材の裏面側の上部および下部には、長手方向に延びる上側係合部および下側係合部が設けられていて、前記下側係合部の長手方向端部は、当該モール部材の長手方向端部よりも長手方向内側に位置しており、
前記前接続部、前記上辺部および前記後接続部には、前記上側係合部および前記下側係合部とそれぞれ係合可能に構成されていて、車両前後方向に延びる上側係合溝および下側係合溝が設けられており、
前記前接続部および前記後接続部の少なくとも一方の車外側には、前記ドアガラスと接触する部分よりも硬い硬質材から形成されたモール係合部材が設けられており、
前記モール係合部材には、
前記下側係合溝の車両前後方向端部を構成する溝部が形成された被係合部と、
前記下側係合部が前記溝部と係合していてかつ前記上側係合部が前記上側係合溝と係合していない状態で、当該下側係合部の長手方向端部を車両前後方向に沿って突き当て可能であるとともに、当該下側係合部が突き当たることで当該モール部材を車両前後方向に位置決めするように構成された位置決め部と、が設けられており、
前記位置決め部は、前記被係合部の下端縁よりも下方に出っ張っている、自動車ドア用のグラスラン。
続きを表示(約 370 文字)
【請求項2】
請求項1に記載の自動車ドア用のグラスランにおいて、
前記被係合部と前記位置決め部とは、一体的に形成されている、自動車ドア用のグラスラン。
【請求項3】
請求項1に記載の自動車ドア用のグラスランにおいて、
前記位置決め部には、車両前後方向を法線方向とし、前記下側係合部の長手方向端部が突き当たる突き当て面部と、前記突き当て面部の下端縁から、前記突き当て面部の向きとは反対の向きかつ下方に斜めに延びていて、前記下側係合部の長手方向端部と接触した際に、当該長手方向端部を前記突き当て面部に案内するように構成された斜面部と、が設けられている、自動車ドア用のグラスラン。
【請求項4】
請求項1に記載の自動車ドア用のグラスランと、前記モール部材と、を備える、グラスランユニット。
発明の詳細な説明
【技術分野】
【0001】
本発明は、自動車ドアのサッシュフレームに装着され、サッシュフレームとドアガラススとの間をシールする自動車用のグラスランおよびこれを備えたグラスランユニットに関する。
続きを表示(約 2,800 文字)
【背景技術】
【0002】
自動車のドアガラスの窓枠を構成するサッシュフレームと、ドアガラスとの間をシールする手段として、グラスランが広く用いられている。グラスランは、シール機能を有するほか、ドアガラスの昇降を案内する機能も有する。グラスランとして、自動車に高級感を与えるべく外観の意匠性を向上させるために、帯状のモール部材が上辺部の車外側に沿うように取り付けられたものが知られている(例えば、特許文献1参照)。モール部材は、グラスランと係合することでグラスランに取り付けられるように構成されている。
【先行技術文献】
【特許文献】
【0003】
特開2022-012750号公報
【発明の概要】
【発明が解決しようとする課題】
【0004】
ところで、グラスランに対してモール部材の位置が車両前後方向にずれると、見栄えの悪化を招くおそれがある。この点に関して、上記従来のグラスランには、グラスランに取り付けられたモール部材がドアの開閉動作によって後方に変位するのを抑制する位置ずれ抑制手段として、モール部材が車両前側から当接可能な突出部が設けられている。
【0005】
しかしながら、グラスランに対するモール部材の位置ずれは、モール部材をグラスランに取り付ける際にも起こり得るため、モール部材の取り付けの際にモール部材をグラスランに対して車両前後方向に位置ずれがないように取り付ける、端的に言えばモール部材の取り付けの際にモール部材を位置決めするための技術が求められる。ここで、モール部材は、上記の通りグラスランと係合することでグラスランに取り付けられることから、一旦グラスランに取り付けられたモール部材を車両前後方向に動かすことは、係合部分によるモール部材の拘束に起因して、極めて困難であるという問題がある。本発明者は、この問題を解決すべく、モール部材をグラスランに取り付ける途中の状態、すなわち、モール部材がグラスランと完全に係合する前の状態でモール部材をグラスランに対して位置決めするための手段の検討を開始した。
【0006】
また、本発明者は、モール部材の位置決め手段を検討する中で、見栄えに影響を与えないために、モール部材を位置決めする位置決め部を車外側から見え難いように配置することを考えた。これ故、モール部材の位置決め作業が、必然的に、作業者が目視確認し難い所謂ブラインド作業となってしまうという問題が生じたが、本発明者は、この点を克服するために良好な作業性を確保する手段を見出した上で、本発明を完成するに至った。
【0007】
本発明は、上記に鑑みてなされたものであり、モール部材をグラスランに取り付ける際に、良好な作業性を確保しつつもモール部材を車両前後方向に位置決めすることができる自動車ドア用のグラスランおよびこれを備えたグラスランユニットを提供することを目的とする。
【課題を解決するための手段】
【0008】
上記目的を達成するため、本発明に係るグラスランは、以下のように構成される。本発明に係るグラスランは、車両前後方向に延びる上側フレーム部と、当該上側フレーム部の前後各端部から下方向に延びる前側フレーム部および後側フレーム部と、を有するサッシュフレームに装着され、当該サッシュフレームとドアガラスとの間をシールする自動車ドア用のグラスランであって、前記上側フレーム部に装着される上辺部と、前記前側フレーム部に装着される前辺部と、前記後側フレーム部に装着される後辺部と、前記上辺部の前端部と前記前辺部の上端部とを接続する前接続部と、前記上辺部の後端部と前記後辺部の上端部とを接続する後接続部と、を有するとともに、帯状のモール部材を前記上辺部に沿うように前記前接続部から前記後接続部に亘って車外側に取り付け可能に構成されている。前記モール部材の裏面側の上部および下部には、長手方向に延びる上側係合部および下側係合部が設けられていて、前記下側係合部の長手方向端部は、当該モール部材の長手方向端部よりも長手方向内側に位置している。前記前接続部、前記上辺部および前記後接続部には、前記上側係合部および前記下側係合部とそれぞれ係合可能に構成されていて、車両前後方向に延びる上側係合溝および下側係合溝が設けられている。前記前接続部および前記後接続部の少なくとも一方の車外側には、前記ドアガラスと接触する部分よりも硬い硬質材から形成されたモール係合部材が設けられており、前記モール係合部材には、前記下側係合溝の車両前後方向端部を構成する溝部が形成された被係合部と、前記下側係合部が前記溝部と係合していてかつ前記上側係合部が前記上側係合溝と係合していない状態で、当該下側係合部の長手方向端部を車両前後方向に沿って突き当て可能であるとともに、当該下側係合部が突き当たることで当該モール部材を車両前後方向に位置決めするように構成された位置決め部と、が設けられており、前記位置決め部は、前記被係合部の下端縁よりも下方に出っ張っている。
【0009】
上記の構成によれば、前接続部、上辺部および後接続部に、モール部材における上側係合部および下側係合部とそれぞれ係合可能に構成された上側係合溝および下側係合溝が設けられていることにより、上側係合部および下側係合部をそれぞれ上側係合溝および下側係合溝と係合させることで、モール部材を上辺部に沿うように前接続部から後接続部に亘って車外側に取り付けることができる。また、前接続部および後接続部の少なくとも一方の車外側に、ドアガラスと接触する部分よりも硬い硬質材から形成されたモール係合部材が設けられているとともに、モール係合部材に、下側係合溝の車両前後方向端部を構成する溝部が形成された被係合部が設けられていることにより、下側係合溝の車両前後方向端部を比較的変形し難い硬質材で構成することができ、したがって、モール部材における下側係合部と下側係合溝とをより確実に係合させることができる。
【0010】
また、上記のモール係合部材に、下側係合部が溝部と係合していてかつ上側係合部が上側係合溝と係合していない状態で、下側係合部の長手方向端部を車両前後方向に沿って突き当て可能であるとともに、下側係合部が突き当たることでモール部材を車両前後方向に位置決めするように構成された位置決め部が設けられていることにより、モール部材をグラスランに取り付ける際に、まず下側係合部を溝部と係合させた状態で、すなわち、モール部材がグラスランと完全に係合する前の状態で、下側係合部を位置決め部に突き当てることでモール部材を車両前後方向に位置決めすることができる。
(【0011】以降は省略されています)
この特許をJ-PlatPat(特許庁公式サイト)で参照する
関連特許
西川ゴム工業株式会社
ノーパンクタイヤ
26日前
個人
上部一体型自動車
1か月前
個人
空間形成装置
25日前
日本精機株式会社
照明装置
20日前
個人
常設収納型サンバイザー
1か月前
日本精機株式会社
画像投映装置
1か月前
日本精機株式会社
車載表示装置
28日前
日本精機株式会社
車載表示装置
26日前
個人
回転窓ワイパー装置
25日前
株式会社豊田自動織機
産業車両
20日前
日本精機株式会社
車載表示装置
1か月前
個人
音による速度計とプログラム
1か月前
株式会社SUBARU
車両
1か月前
日本精機株式会社
車両用表示装置
1か月前
日本精機株式会社
車両用投射装置
1か月前
日本精機株式会社
車両用報知装置
1か月前
エムケー精工株式会社
車両処理装置
1か月前
日本化薬株式会社
ガス発生器
1か月前
日本化薬株式会社
ガス発生器
18日前
日本化薬株式会社
ガス発生器
1か月前
日産自動車株式会社
伝動部材
1か月前
トヨタ自動車株式会社
制御装置
1か月前
豊田合成株式会社
乗員保護装置
1か月前
株式会社小糸製作所
車両用灯具
1か月前
トヨタ自動車株式会社
電動車両
1か月前
株式会社ヨコオ
車載装置
18日前
極東開発工業株式会社
タンク車
1か月前
和光工業株式会社
昇降装置
1か月前
日本精機株式会社
鞍乗型車両用表示装置
17日前
日本精機株式会社
車両用投射型表示装置
1か月前
井関農機株式会社
作業車両
1か月前
トヨタ自動車株式会社
車両
1か月前
マツダ株式会社
運転支援装置
1か月前
株式会社クボタ
作業車
26日前
マツダ株式会社
運転支援装置
1か月前
株式会社クボタ
作業車
1か月前
続きを見る
他の特許を見る