TOP
|
特許
|
意匠
|
商標
特許ウォッチ
Twitter
他の特許を見る
公開番号
2025163495
公報種別
公開特許公報(A)
公開日
2025-10-29
出願番号
2024066800
出願日
2024-04-17
発明の名称
ノーパンクタイヤ
出願人
西川ゴム工業株式会社
代理人
個人
,
個人
主分類
B60C
7/00 20060101AFI20251022BHJP(車両一般)
要約
【課題】組付け性及び乗り心地性を改善したノーパンクタイヤを提供すること。
【解決手段】タイヤ部材11の内部に空洞12を有するノーパンクタイヤ10であって、タイヤ部材11の接地面側となる空洞12の外向側に、押出成形されたスポンジゴム製の第1部材13を環状に装着するとともに、空洞12の内向側に、環状に形成した第2部材14を装着して2分割化し、第1部材13と第2部材14を、空洞12の外向側と内向側間の中央部分近傍で接するように配置した。
【選択図】図1
特許請求の範囲
【請求項1】
タイヤ部材の内部に空洞を有するノーパンクタイヤであって、
前記タイヤ部材の接地面側となる前記空洞の外向側に、押出成形されたスポンジゴム製の第1部材を環状に装着するとともに、前記空洞の内向側に、環状に形成した第2部材を装着して2分割化し、
前記第1部材と前記第2部材を、前記空洞の外向側と内向側間の中央部分近傍で接するように配置したことを特徴とするノーパンクタイヤ。
続きを表示(約 400 文字)
【請求項2】
前記タイヤ部材の断面形状において、前記第1部材の占める面積比は、全体の30~70%であることを特徴とする請求項1に記載のノーパンクタイヤ。
【請求項3】
前記タイヤ部材の外径Aと内径Bの関係を、A/B≧1.3としたことを特徴とする請求項1又は2に記載のノーパンクタイヤ。
【請求項4】
前記第1部材と前記第2部材とは、前記第1部材に形成された凹部又は凸部に、前記第2部材に形成された凸部又は凹部が嵌合することで接することを特徴とする請求項1に記載のノーパンクタイヤ。
【請求項5】
前記第2部材の中央部には中空部が形成されてなることを特徴とする請求項1又は2に記載のノーパンクタイヤ。
【請求項6】
前記第1部材と前記第2部材との間には隙間が形成されてなることを特徴とする請求項1又は2に記載のノーパンクタイヤ。
発明の詳細な説明
【技術分野】
【0001】
本発明は、車両用のノーパンクタイヤに関するものである。
続きを表示(約 1,500 文字)
【背景技術】
【0002】
従来、空気入りのエアタイヤに対してパンクしないノーパンクタイヤとしては、スポンジゴムの押出品をチューブとしてタイヤ内部に挿入したもの(例えば、特許文献1,2)や、ウレタン樹脂やエポキシ樹脂をタイヤ内部に注入して固めたもの(例えば、特許文献3)や、タイヤ全体を金型で成形したものなどが知られている。
【0003】
スポンジゴム押出の挿入品は、樹脂注入品や型成形品と比較してクッション性が高いため乗り心地がよいが、タイヤ内部に挿入する組付け性が悪いといった問題がある。
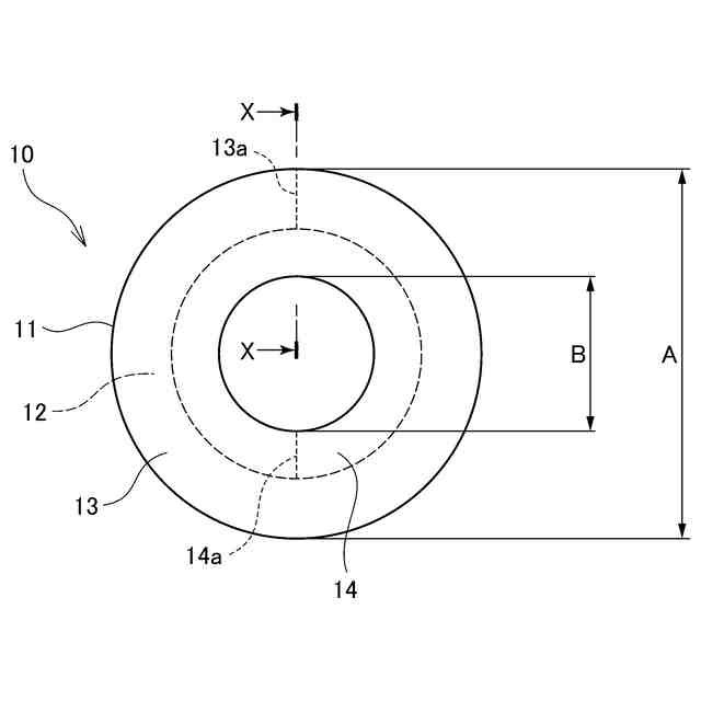
タイヤの大きさは、車両によって様々であり、例えば、図7に示すように、タイヤの外径(厳密にはタイヤの外皮の厚さを差し引いた値)Aと内径Bとの関係を示したA/B値で考えた場合、A/B値が高いほど、略直線上の押出品を曲げながら挿入するので強い力が必要になる。
つまり概ね自転車(A/B=1.2),車椅子(A/B=1.3)に比べて、ゴルフカート(A/B=1.5),電動カート(A/B=2.0~2.4)やフォークリフト(A/B=2.4)の内、A/B値が1.3を超える様な車輌ではスポンジゴム押出品をタイヤ内部に組付けることは困難であった。
【0004】
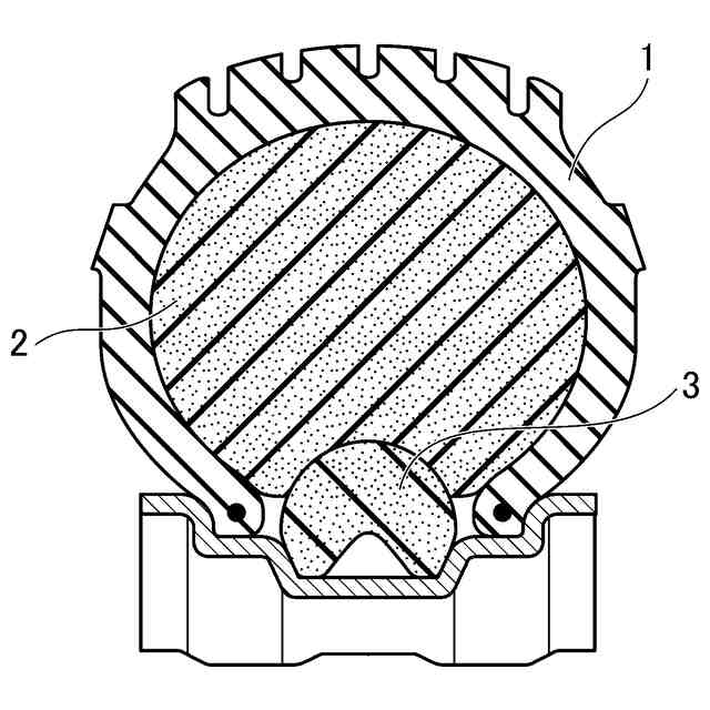
また、図8に示すように、タイヤ部材1内部の空洞において上方にゴム発泡環状体2を、下方にゴムあるいは樹脂成形環状体3を互いに接触させた状態で装着することで、タイヤの捩じれ現象を抑えたものもあるが(特許文献4)、ゴム発泡環状体2の装着時の組付け性の向上を図るものではない。
【先行技術文献】
【特許文献】
【0005】
特開2012-210930号公報
特開2010-111378号公報
特開昭52-49503号公報
特開平9-2014号公報
【発明の概要】
【発明が解決しようとする課題】
【0006】
そこで、本発明の目的とするところは、組付け性及び乗り心地性を改善したノーパンクタイヤを提供することにある。
【課題を解決するための手段】
【0007】
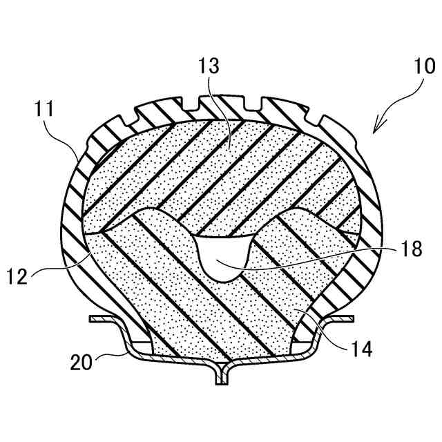
上記の目的を達成するために、本発明のノーパンクタイヤは、タイヤ部材(11)の横断面内部に空洞(12)を有する(環状方向に切れ目のない)ノーパンクタイヤパンク(10)であって、
前記タイヤ部材(11)の接地面側となる前記空洞(12)の外向側に、押出成形されたスポンジゴム製の第1部材(13)を環状に装着するとともに、前記空洞(12)の内向側に、環状に形成した第2部材(14)を装着して2分割化し、
前記第1部材(13)と前記第2部材(14)を、前記空洞(12)の外向側と内向側間の中央部分近傍で接するように配置したことを特徴とする。
【0008】
また、本発明は、前記タイヤ部材(11)の断面形状において、前記第1部材(13)の占める面積比は、全体の30~70%であることを特徴とする。
【0009】
また、本発明は、前記タイヤ部材(11)の外径Aと内径Bの関係を、A/B≧1.3としたことを特徴とする。
【0010】
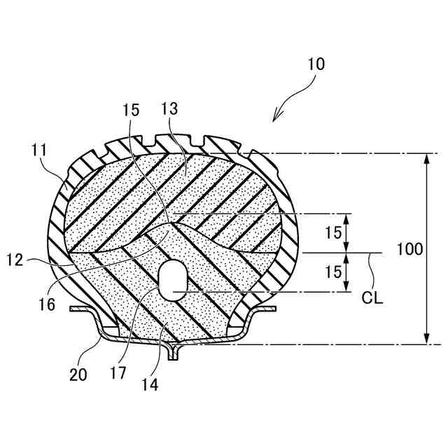
また、本発明は、前記第1部材(13)と前記第2部材(14)とは、前記第1部材(13)に形成された凹部(15)又は凸部に、前記第2部材(14)に形成された凸部(16)又は凹部が嵌合することで接することを特徴とする。
(【0011】以降は省略されています)
この特許をJ-PlatPat(特許庁公式サイト)で参照する
関連特許
西川ゴム工業株式会社
ノーパンクタイヤ
26日前
個人
タイヤレバー
3か月前
個人
前輪キャスター
3か月前
個人
上部一体型自動車
1か月前
個人
タイヤ脱落防止構造
2か月前
個人
ホイルのボルト締結
4か月前
個人
空間形成装置
25日前
個人
ルーフ付きトライク
3か月前
日本精機株式会社
表示装置
3か月前
日本精機株式会社
表示装置
3か月前
個人
車両通過構造物
3か月前
日本精機株式会社
照明装置
20日前
個人
マスタシリンダ
1か月前
日本精機株式会社
表示装置
3か月前
日本精機株式会社
表示装置
3か月前
個人
乗合路線バスの客室装置
4か月前
個人
車両用スリップ防止装置
5か月前
個人
アクセルのソフトウェア
5か月前
個人
常設収納型サンバイザー
1か月前
日本精機株式会社
車載表示装置
4か月前
株式会社豊田自動織機
産業車両
3か月前
日本精機株式会社
車載表示装置
26日前
株式会社ニフコ
収納装置
2か月前
日本精機株式会社
車載表示装置
28日前
株式会社豊田自動織機
産業車両
20日前
個人
回転窓ワイパー装置
25日前
日本精機株式会社
車室演出装置
2か月前
個人
円湾曲ホイール及び球体輪
4か月前
日本精機株式会社
車載表示装置
2か月前
日本精機株式会社
車載表示装置
1か月前
株式会社ニフコ
保持装置
4か月前
個人
音声ガイド、音声サービス
4か月前
日本精機株式会社
画像投映装置
1か月前
株式会社ニフコ
照明装置
3か月前
個人
車載小物入れ兼雨傘収納具
4か月前
極東開発工業株式会社
車両
3か月前
続きを見る
他の特許を見る