TOP
|
特許
|
意匠
|
商標
特許ウォッチ
Twitter
他の特許を見る
10個以上の画像は省略されています。
公開番号
2025136481
公報種別
公開特許公報(A)
公開日
2025-09-19
出願番号
2024035095
出願日
2024-03-07
発明の名称
信号処理回路、半導体ピクセル検出器、情報処理方法、プログラム、情報処理装置、情報処理システム及び装置
出願人
国立大学法人 東京大学
代理人
弁理士法人IPX
主分類
G01T
1/24 20060101AFI20250911BHJP(測定;試験)
要約
【課題】半導体の深さ方向の放射線の反応位置の違いによる信号強度の変化を従来よりも高精度で特定することで、低エネルギー側のテールをより適切に補正可能な信号処理回路、半導体ピクセル検出器、情報処理方法、プログラム、情報処理装置、情報処理システム及び装置等を提供する。
【解決手段】本発明の一態様によれば、半導体ピクセル検出器における半導体ピクセルごとに実装され、半導体ピクセルにおいて発生した信号を処理する信号処理回路が提供される。この信号処理回路は、第1処理回路と、第2処理回路とを備える。第1処理回路は、第1整形回路を有する。第1整形回路は、第1処理回路の時定数を第1時定数とするように信号を整形し、該整形された信号の値を第1信号値として出力する。第2処理回路は、第2整形回路を有する。第2整形回路は、第2処理回路の時定数を第2時定数とするように信号を整形し、該整形された信号の値を第2信号値として出力する。
【選択図】図1
特許請求の範囲
【請求項1】
半導体ピクセル検出器における半導体ピクセルごとに実装され、前記半導体ピクセルにおいて発生した信号を処理する信号処理回路であって、
第1処理回路と、第2処理回路とを備え、
前記第1処理回路は、第1整形回路を有し、
前記第1整形回路は、前記第1処理回路の時定数を第1時定数とするように前記信号を整形し、該整形された前記信号の値を第1信号値として出力し、
前記第2処理回路は、第2整形回路を有し、
前記第2整形回路は、前記第2処理回路の時定数を第2時定数とするように前記信号を整形し、該整形された前記信号の値を第2信号値として出力する、
信号処理回路。
続きを表示(約 2,000 文字)
【請求項2】
請求項1に記載の信号処理回路において、
前記第1処理回路は、第1ピーク記憶回路をさらに有し、
前記第1ピーク記憶回路は、前記第1信号値が閾値を超えている場合、前記第1信号値のピーク値を検出し、該ピーク値を第1ピーク値として記憶及び出力し、
前記第2処理回路は、第2ピーク記憶回路をさらに有し、
前記第2ピーク記憶回路は、前記第2信号値が閾値を超えている場合、前記第2信号値のピーク値を検出し、該ピーク値を第2ピーク値として記憶及び出力する、
信号処理回路。
【請求項3】
請求項2に記載の信号処理回路において、
前記第1処理回路は、第1サンプル記憶回路をさらに有し、
前記第1サンプル記憶回路は、任意のタイミングで前記第1信号値をサンプリングし、該サンプリングされた前記第1信号値を第1レベル値として記憶及び出力し、
前記第2処理回路は、第2サンプル記憶回路をさらに有し、
前記第2サンプル記憶回路は、任意のタイミングで前記第2信号値をサンプリングし、該サンプリングされた前記第2信号値を第2レベル値として記憶及び出力する、
信号処理回路。
【請求項4】
半導体ピクセル検出器であって、
複数の半導体ピクセルと、請求項1から3までの何れか1項に記載の信号処理回路とを備え、
前記信号処理回路は、前記半導体ピクセルごとに実装される、
半導体ピクセル検出器。
【請求項5】
請求項1から3までの何れか1項に記載の信号処理回路から出力された情報を処理する情報処理方法であって、
取得ステップと、算出ステップと、生成ステップとを備え、
前記取得ステップでは、前記第1信号値及び前記第2信号値を取得し、
前記算出ステップでは、前記第1信号値と、前記第2信号値とに基づいて、前記信号を発生させた光子の反応深さによる該信号の強度変化を補正するための補正情報を算出し、
前記算出ステップでは、前記第1信号値及び前記第2信号値の少なくとも一方と、前記補正情報とに基づいて、前記光子のエネルギーを算出し、
前記生成ステップでは、前記光子のエネルギーと前記補正情報とを用いてスペクトルを生成し、
前記生成ステップでは、前記補正情報を用いて画像を生成する、
情報処理方法。
【請求項6】
請求項2に記載の信号処理回路から出力された情報を処理する、請求項5に記載の情報処理方法において、
前記第1信号値は、前記第1ピーク値を含み、
前記第2信号値は、前記第2ピーク値を含む、
情報処理方法。
【請求項7】
請求項3に記載の信号処理回路から出力された情報を処理する、請求項6に記載の情報処理方法において、
前記第1信号値は、前記第1ピーク値が検出された前記半導体ピクセルの周囲の前記半導体ピクセルにおいて、前記第1ピーク値の検出と同じタイミングで検出された前記第1レベル値をさらに含み、
前記第2信号値は、前記第2ピーク値が検出された前記半導体ピクセルの周囲の前記半導体ピクセルにおいて、前記第2ピーク値の検出と同じタイミングで検出された前記第2レベル値をさらに含み、
前記算出ステップでは、前記第1ピーク値と、前記第1レベル値とに基づいて、補正後の前記第1ピーク値を算出し、
前記算出ステップでは、前記第2ピーク値と、前記第2レベル値とに基づいて、補正後の前記第2ピーク値を算出し、
前記算出ステップでは、前記補正後の第1ピーク値と、前記補正後の第2ピーク値とに基づいて、前記補正情報を算出し、
前記算出ステップでは、前記補正後の第1ピーク値及び前記補正後の第2ピーク値の少なくとも一方と、前記補正情報とに基づいて、前記光子のエネルギーを算出する、
情報処理方法。
【請求項8】
請求項5に記載の情報処理方法において、
前記算出ステップでは、さらに、前記第1信号値又は前記第2信号値と、所定の関数とに基づいて、前記補正情報を算出する、
情報処理方法。
【請求項9】
請求項8に記載の情報処理方法において、
前記所定の関数は、あるエネルギーを有する放射線を用いて算出された関係式を挿入して算出される、
情報処理方法。
【請求項10】
請求項5に記載の情報処理方法において、
前記補正情報は、前記反応深さを定量化した情報である、
情報処理方法。
(【請求項11】以降は省略されています)
発明の詳細な説明
【技術分野】
【0001】
本発明は、信号処理回路、半導体ピクセル検出器、情報処理方法、プログラム、情報処理装置、情報処理システム及び装置に関する。
続きを表示(約 1,800 文字)
【背景技術】
【0002】
テルル化カドミウム(CdTe)又はテルル化亜鉛カドミウム(CZT)に接続されたストリップ電極において発生した信号を2つの経路に分けて処理する回路が開示されている(例えば、非特許文献1参照。)。
【先行技術文献】
【非特許文献】
【0003】
Natalia Auricchio et al., "Twin shaping filter techniques to compensate the signals from CZT/CdTe detectors", IEEE Transactions on Nuclear Science, October 2005, vol. 52, no. 5, p.1982-1988
【発明の概要】
【発明が解決しようとする課題】
【0004】
ところで、単一光子放射断層撮影(Single Photon emission computed tomography : SPECT)を用いて脳や心臓の動態画像を得る場合、放射性同位体を体内に投与し、体内における放射性同位体の分布を半導体検出器で検出することが行われている。
【0005】
従来のNaIなどのシンチレータを用いたSPECTでは、複数の放射性同位体を用いて撮像した画像を分離することが困難であることにより、撮像間隔を開けて異種の放射性同位体を使用する必要があった。そこで、この課題を解決するために、CdTeやCZTなどの半導体を用いたSPECTが提案された。しかしながら、このような半導体を用いたSPECTの場合、半導体の深さ方向における放射線の反応位置によって、発生する信号の強度が異なるため、低エネルギー側にテールが発生するという課題が生じていた。
【0006】
本発明では上記事情を鑑み、半導体の深さ方向の放射線の反応位置の違いによる信号強度の変化を従来よりも高精度で特定することで、低エネルギー側のテールをより適切に補正可能な信号処理回路、半導体ピクセル検出器、情報処理方法、プログラム、情報処理装置、情報処理システム及び装置等を提供することとした。
【課題を解決するための手段】
【0007】
本発明の一態様によれば、半導体ピクセル検出器における半導体ピクセルごとに実装され、半導体ピクセルにおいて発生した信号を処理する信号処理回路が提供される。この信号処理回路は、第1処理回路と、第2処理回路とを備える。第1処理回路は、第1整形回路を有する。第1整形回路は、第1処理回路の時定数を第1時定数とするように信号を整形し、該整形された信号の値を第1信号値として出力する。第2処理回路は、第2整形回路を有する。第2整形回路は、第2処理回路の時定数を第2時定数とするように信号を整形し、該整形された信号の値を第2信号値として出力する。
【0008】
このような態様によれば、半導体中の深さ方向の放射線の反応位置の違いによる信号強度の変化を従来よりも高精度で特定することで、低エネルギー側のテールをより適切に補正することができる。
【図面の簡単な説明】
【0009】
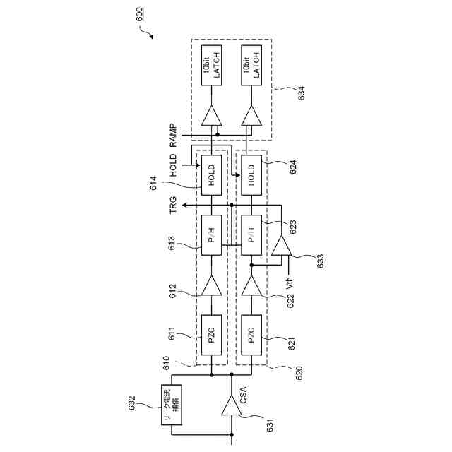
情報処理システム100を表す構成図である。
情報処理装置200のハードウェア構成を示すブロック図である。
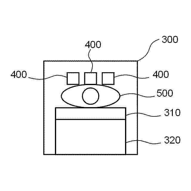
SPECT装置300の構成を示す側面図である。
半導体ピクセル検出器400の構成を示すブロック図である。
信号処理回路600の構成を示す図である。
情報処理装置200(制御部210)によって実現される機能を示すブロック図である。
情報処理装置200によって実行される情報処理方法の流れを示すアクティビティ図である。
ある決まったエネルギーのガンマ線を用いて所定の関数を求める手法を説明する図である。
放射線源として
133
Baを用いた場合のスペクトルを示す図である。
【発明を実施するための形態】
【0010】
以下、図面を用いて本発明の実施形態について説明する。以下に示す実施形態中で示した各種特徴事項は、互いに組み合わせ可能である。
(【0011】以降は省略されています)
この特許をJ-PlatPat(特許庁公式サイト)で参照する
関連特許
国立大学法人 東京大学
プロペラ
5か月前
国立大学法人 東京大学
担持金属触媒
24日前
国立大学法人 東京大学
ガス処理方法
10日前
国立大学法人 東京大学
せん妄判定方法
1か月前
国立大学法人 東京大学
化学センサ用基材
5か月前
国立大学法人 東京大学
コンパレータ回路
14日前
国立大学法人 東京大学
微粒子分離システム
4か月前
国立大学法人 東京大学
ソフトエクソスーツ
5か月前
国立大学法人 東京大学
ビーム追従システム
5日前
国立大学法人 東京大学
超音波モータシステム
1か月前
国立大学法人 東京大学
超音波モータシステム
1か月前
国立大学法人 東京大学
光学装置及びレーザー
3か月前
国立大学法人 東京大学
振動変換器及び噴霧器
4か月前
国立大学法人 東京大学
超音波モータシステム
1か月前
国立大学法人 東京大学
結晶、及びその製造方法
2か月前
AGC株式会社
組成物
3か月前
国立大学法人 東京大学
テラヘルツ帯同期検波回路
1か月前
国立大学法人 東京大学
生分解性ポリマー複合材料
5か月前
国立大学法人 東京大学
肝臓オルガノイド成熟培地
4日前
国立大学法人 東京大学
推定装置、及びプログラム
25日前
国立大学法人 東京大学
読出回路及び磁気メモリ装置
24日前
国立大学法人 東京大学
嗅覚受容体の応答感度増強剤
2か月前
国立大学法人 東京大学
消化管幹細胞活性化用組成物
5か月前
NTT株式会社
圧力センサ
25日前
国立大学法人 東京大学
接着性細胞の浮遊培養用基材
10日前
国立大学法人 東京大学
テラヘルツ波帯位相変調回路
1か月前
国立大学法人 東京大学
情報処理装置、及びプログラム
1か月前
国立大学法人 東京大学
炭酸カルシウム結晶の製造方法
5か月前
国立大学法人 東京大学
ドローンを用いた配送システム
10日前
住友化学株式会社
原子力電池
4か月前
国立大学法人 東京大学
スピーカー及びオーディオシステム
6か月前
株式会社アイシン
有機酸除去方法
3か月前
国立大学法人 東京大学
光デバイス及びコヒーレント受信器
1か月前
積水化学工業株式会社
酸素発生剤
1か月前
国立大学法人 東京大学
通信装置、制御方法、及びプログラム
4日前
古河電気工業株式会社
超電導モータ
1か月前
続きを見る
他の特許を見る