TOP
|
特許
|
意匠
|
商標
特許ウォッチ
Twitter
他の特許を見る
10個以上の画像は省略されています。
公開番号
2025135922
公報種別
公開特許公報(A)
公開日
2025-09-19
出願番号
2024034006
出願日
2024-03-06
発明の名称
衣類処理装置
出願人
東芝ライフスタイル株式会社
代理人
弁理士法人サトー
主分類
D06F
33/50 20200101AFI20250911BHJP(繊維または類似のものの処理;洗濯;他に分類されない可とう性材料)
要約
【課題】高精度の乾燥検知を行うことができる衣類処理装置を提供する。
【解決手段】衣類処理装置は、加熱装置及び送風装置の動作を制御して衣類処理槽内の衣類を乾燥させる乾燥工程を実行する制御部を備える。乾燥工程は、衣類処理槽の温度を上昇させる昇温工程を含む。制御部は、昇温工程の実行期間である昇温期間における湿度検知部の検知湿度の最大値である最大湿度を取得し、昇温期間後において、最大湿度から現在の湿度検知部の検知湿度までの低下量又は低下率が所定の閾値以上となったことに基づいて乾燥工程を終了する又は加熱装置の駆動を抑制する加熱抑制処理を実行する。
【選択図】図8
特許請求の範囲
【請求項1】
空気入口と空気出口とを有する衣類処理槽と、
前記空気入口に接続される風路と、
前記風路を通して前記衣類処理槽に前記空気を送風する送風装置と、
前記空気を加熱する加熱装置と、
前記空気出口から排出された空気の湿度を検知する湿度検知部と、
前記加熱装置及び前記送風装置の動作を制御して前記衣類処理槽内の衣類を乾燥させる乾燥工程を実行する制御部と、を備え、
前記乾燥工程は、前記衣類処理槽の温度を上昇させる昇温工程を含み、
前記制御部は、前記昇温工程の実行期間である昇温期間における前記湿度検知部の検知湿度の最大値である最大湿度を取得し、前記昇温期間後において、前記最大湿度から現在の前記湿度検知部の検知湿度までの低下量又は低下率が所定の閾値以上となったことに基づいて前記乾燥工程を終了する又は前記加熱装置の駆動を抑制する加熱抑制処理を実行する、
衣類処理装置。
続きを表示(約 1,300 文字)
【請求項2】
前記加熱装置は、熱交換器と、前記熱交換器に冷媒を圧縮して送る圧縮機と、を含み、
前記制御部は、前記圧縮機の駆動周波数が所定の目標周波数に到達した後の期間における前記湿度検知部の検知湿度の最大値を前記最大湿度として取得する、
請求項1に記載の衣類処理装置。
【請求項3】
前記加熱装置は、熱交換器と、前記熱交換器に冷媒を圧縮して送る圧縮機と、を含み、
前記制御部は、前記圧縮機の駆動周波数が所定の目標周波数を維持している期間における前記湿度検知部の検知湿度の最大値を前記最大湿度として取得する、
請求項1に記載の衣類処理装置。
【請求項4】
前記制御部は、前記送風装置の駆動回転数が所定の目標回転数に到達した後の期間における前記湿度検知部の検知湿度の最大値を前記最大湿度として取得する、
請求項1に記載の衣類処理装置。
【請求項5】
前記加熱装置は、熱交換器と、前記熱交換器に冷媒を圧縮して送る圧縮機と、を含み、
前記制御部は、前記送風装置の駆動回転数が所定の目標回転数に到達し、かつ前記圧縮機の駆動周波数が所定の目標周波数に到達した後の期間における前記湿度検知部の検知湿度の最大値を前記最大湿度として取得する、
請求項1に記載の衣類処理装置。
【請求項6】
前記空気出口からの排気の温度を検知する出口温度検知部と、
前記空気入口から前記衣類処理槽に入る空気の温度を検知する入口温度検知部と、を備え、
前記制御部は、前記入口温度検知部の検知温度と前記出口温度検知部の検知温度との温度差が最大となった場合、前記昇温工程を終了する、
請求項1に記載の衣類処理装置。
【請求項7】
前記空気入口から前記衣類処理槽に入る空気の温度を検知する入口温度検知部を備え、
前記制御部は、前記入口温度検知部の検知温度が所定の範囲を超えて変動しない状態が所定の期間以上続いたときに前記昇温工程を終了する、
請求項1に記載の衣類処理装置。
【請求項8】
前記制御部は、前記湿度検知部の検知湿度が所定の期間連続して低下している場合、低下前の前記湿度検知部の検知湿度を前記最大湿度として取得する、
請求項1に記載の衣類処理装置。
【請求項9】
前記制御部は、前記昇温期間中に複数回前記湿度検知部の前記検知湿度が所定の期間連続して低下している場合、前記昇温期間中に取得した前記最大湿度のうち最も大きい値を前記最大湿度とする、
請求項8に記載の衣類処理装置。
【請求項10】
前記制御部は、前記乾燥工程を含む乾燥運転と、前記乾燥工程と洗い工程とを含む洗濯乾燥運転とを実行可能であり、前記乾燥運転における前記乾燥工程及び前記洗濯乾燥運転における前記乾燥工程の何れにおいても、前記加熱抑制処理を実行する、
請求項1に記載の衣類処理装置。
(【請求項11】以降は省略されています)
発明の詳細な説明
【技術分野】
【0001】
本発明の実施形態は、衣類処理装置に関する。
続きを表示(約 2,500 文字)
【背景技術】
【0002】
例えば特許文献1には、洗濯乾燥機である電気機器は、当該電気機器を制御するための制御部と、被乾燥物を収納するための槽と、気体を加熱および乾燥し、加熱および乾燥された気体を、空気入口を介して槽内に送風するための温風供給部と、槽内から空気出口を介し送出される気体の湿度を検出する湿度検出部と、槽内から空気出口を介し送出される気体の温度を検出する温度検出部と、を備え、制御部は、温風供給部による気体の加熱および乾燥を開始後に、湿度検出部により検出された湿度が予め定められた湿度であり、且つ温度検出部により検出された温度が予め定められた温度であるとき、加熱および乾燥を停止するように温風供給部を制御することが開示されている。
【先行技術文献】
【特許文献】
【0003】
特開2017-018256号公報
【発明の概要】
【発明が解決しようとする課題】
【0004】
乾燥運転では、乾燥運転が開始され衣類に熱が入ると衣類に含まれた水分が蒸発し始めるが、乾燥運転が進むにつれ衣類に含まれる水分量が減少していく。また、槽内から空気出口を介し送出される気体の湿度は、衣類からの水分の蒸発開始時は高い値を示すが、乾燥終了時には低い値を示す。このため、当該湿度を用いて衣類の乾燥検知を行うことが考えられる。
【0005】
ところで、従来構成のように、目標湿度に達したことによる乾燥検知の方法では、例えば環境温度や乾燥の対象となる衣類の重量等による湿度のバラツキが生じることがあり、高精度に乾燥検知を行うことが難しい場合がある。したがって、乾燥検知の精度に関して改善の余地があった。
【0006】
そこで、高精度の乾燥検知を行うことができる衣類処理装置を提供する。
【課題を解決するための手段】
【0007】
実施形態の衣類処理装置は、空気入口と空気出口とを有する衣類処理槽と、前記空気入口に接続される風路と、前記風路を通して前記衣類処理槽に前記空気を送風する送風装置と、前記空気を加熱する加熱装置と、前記空気出口から排出された空気の湿度を検知する湿度検知部と、前記加熱装置及び前記送風装置の動作を制御して前記衣類処理槽内の衣類を乾燥させる乾燥工程を実行する制御部と、を備える。前記乾燥工程は、前記衣類処理槽の温度を上昇させる昇温工程を含む。前記制御部は、前記昇温工程の実行期間である昇温期間における前記湿度検知部の検知湿度の最大値である最大湿度を取得し、前記昇温期間後において、前記最大湿度から現在の前記湿度検知部の検知湿度までの低下量又は低下率が所定の閾値以上となったことに基づいて前記乾燥工程を終了する又は前記加熱装置の駆動を抑制する加熱抑制処理を実行する。
【図面の簡単な説明】
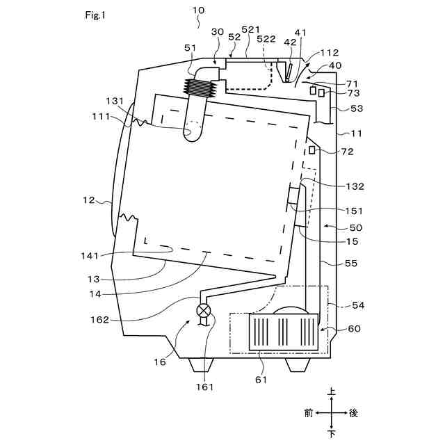
【0008】
第1実施形態による洗濯乾燥機の一例の構成を概略的に示す断面図
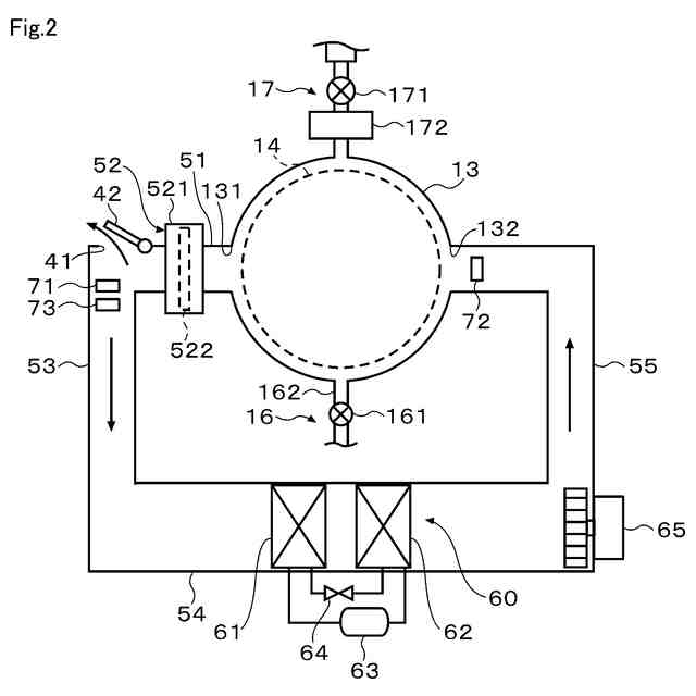
第1実施形態による洗濯乾燥機の一例の構成を概略的に示す図
第1実施形態による洗濯乾燥機について、電気的構成を示すブロック図
第1実施形態による洗濯乾燥機について、乾燥工程における温度及び湿度の経時的変化の一例を示す図
第1実施形態による洗濯乾燥機について、乾燥運転の場合の昇温工程及び除湿工程における圧縮機の駆動周波数及び送風装置の駆動回転数の経時的変化、並びに温度及び湿度の経時的変化の一例を示す図
第1実施形態による洗濯乾燥機について、洗濯乾燥運転の場合の昇温工程及び除湿工程における圧縮機の駆動周波数及び送風装置の駆動回転数の経時的変化、並びに温度及び湿度の経時的変化の一例を示す図
第1実施形態による洗濯乾燥機について、乾燥運転で実行される処理内容の一例を示すフローチャート
第1実施形態による洗濯乾燥機について、昇温工程における処理内容の一例を示すフローチャート
第1実施形態による洗濯乾燥機について、除湿工程における処理内容の一例を示すフローチャート
第2実施形態による洗濯乾燥機について、昇温工程における処理内容の一例を示すフローチャート
第3実施形態による洗濯乾燥機について、乾燥工程における温度及び湿度の経時的変化の一例を示す図
第4実施形態による洗濯乾燥機について、乾燥工程における温度及び湿度の経時的変化の一例を示す図
第5実施形態による洗濯乾燥機について、乾燥工程における温度及び湿度の経時的変化の一例を示す図
第6実施形態による洗濯乾燥機について、乾燥工程における温度及び湿度の経時的変化の一例を示す図
第7実施形態による洗濯乾燥機について、乾燥工程における温度及び湿度の経時的変化の一例を示す図
第8実施形態による洗濯乾燥機について、乾燥工程における温度及び湿度の経時的変化の一例を示す図
第9実施形態による洗濯乾燥機について、乾燥工程における温度及び湿度の経時的変化の一例を示す図
【発明を実施するための形態】
【0009】
以下、複数の実施形態による衣類処理装置の一例である洗濯乾燥機について、図面を参照しながら説明する。なお、各実施形態において実質的に同一の要素には同一の符号を付し、説明を省略する。
【0010】
(第1実施形態)
まず、第1実施形態について、図1から図9を参照して説明する。図1に示す洗濯乾燥機10は、回転槽14の回転軸が水平方向へ向かう横軸型又は後方へ向かって下降傾斜した斜め軸型のドラム式洗濯乾燥機である。洗濯乾燥機10は、例えば洗濯機能及び乾燥機能を備え、洗い、すすぎ、脱水、及び乾燥の各工程を含む洗濯乾燥運転を実行可能である。なお、洗濯乾燥機は、ドラム式洗濯乾燥機に限らず、回転槽の回転軸が鉛直方向を向いた縦軸型洗濯乾燥機であってもよい。また、本実施形態の衣類処理装置は、洗濯機能を有さない構成例えば衣類乾燥機にも適用できる。
(【0011】以降は省略されています)
この特許をJ-PlatPat(特許庁公式サイト)で参照する
関連特許
個人
洗濯機
2日前
個人
洗濯物干しハンガー
18日前
セーレン株式会社
複合表皮材
2日前
株式会社アライホーム
物干装置
2日前
株式会社槌屋
加飾用表皮材
1か月前
リンナイ株式会社
衣類乾燥機
1か月前
個人
ポリエステル染色物の製造方法
1か月前
リンテック株式会社
耐水性基材
1か月前
アイリスオーヤマ株式会社
洗濯機
18日前
ダイニック株式会社
ターポリン、及びその製造方法
1か月前
株式会社wash-plus
ランドリーシステム
18日前
株式会社コーワ
乾燥機のフィルター清掃装置及び乾燥機
1か月前
住友金属鉱山株式会社
赤外線遮蔽繊維構造物
1か月前
パナソニックIPマネジメント株式会社
洗濯機
1か月前
パナソニックIPマネジメント株式会社
洗濯機
1か月前
東芝ライフスタイル株式会社
衣類乾燥機
1か月前
パナソニックIPマネジメント株式会社
洗濯機
1か月前
パナソニックIPマネジメント株式会社
洗濯機
26日前
パナソニックIPマネジメント株式会社
洗濯機
25日前
パナソニックIPマネジメント株式会社
洗濯機
25日前
パナソニックIPマネジメント株式会社
洗濯機
1か月前
東レ株式会社
人工皮革およびその製造方法ならびに衣料、家具
1か月前
東芝ライフスタイル株式会社
衣類処理装置
24日前
東レ株式会社
人工皮革およびその製造方法、衣料、ならびに鞄
1か月前
東芝ライフスタイル株式会社
衣類処理装置
29日前
東芝ライフスタイル株式会社
衣類処理装置
29日前
東芝ライフスタイル株式会社
衣類処理装置
1か月前
東芝ライフスタイル株式会社
衣類処理装置
25日前
東芝ライフスタイル株式会社
衣類処理装置
1か月前
東レ株式会社
ゴム資材補強用合成繊維コードおよびその製造方法
1か月前
TOTO株式会社
浴室システム
24日前
竹本油脂株式会社
合成繊維用処理剤、及び合成繊維
1か月前
クラレトレーディング株式会社
獣毛調立毛布帛およびその製造方法
10日前
アイナックス稲本株式会社
業務用洗濯設備及び業務用洗濯機
1か月前
個人
新規通気性皮革の製造方法
26日前
花王株式会社
光発熱性能付与用組成物
17日前
続きを見る
他の特許を見る