TOP
|
特許
|
意匠
|
商標
特許ウォッチ
Twitter
他の特許を見る
10個以上の画像は省略されています。
公開番号
2025161478
公報種別
公開特許公報(A)
公開日
2025-10-24
出願番号
2024064692
出願日
2024-04-12
発明の名称
衣類処理装置
出願人
東芝ライフスタイル株式会社
代理人
弁理士法人サトー
主分類
D06F
39/02 20060101AFI20251017BHJP(繊維または類似のものの処理;洗濯;他に分類されない可とう性材料)
要約
【課題】除菌性能のばらつきを抑制し、種々の条件下でも安定して除菌効果を発揮することができる衣類処理装置を提供する。
【解決手段】実施形態の衣類処理装置は、内部に水を貯留し衣類を収容する衣類収容槽と、一対の電極を有し、衣類収容槽に貯留された水に供給する活性成分を生成する電気分解装置と、一対の電極間に流れる電流値を検知する電流検知部と、電気分解装置の動作を制御して除菌運転を実行する制御装置と、を備える。制御装置は、電流検知部の検知電流値に基づいて電気分解装置の出力を制御する。
【選択図】図7
特許請求の範囲
【請求項1】
内部に水を貯留し衣類を収容する衣類収容槽と、
一対の電極を有し、前記衣類収容槽に貯留された水に供給する活性成分を生成する電気分解装置と、
前記一対の電極間に流れる電流値を検知する電流検知部と、
前記電気分解装置の動作を制御して除菌運転を実行する制御装置と、を備え、
前記制御装置は、前記電流検知部の検知電流値に基づいて前記電気分解装置の出力を制御する、
衣類処理装置。
続きを表示(約 1,000 文字)
【請求項2】
前記制御装置は、前記電流検知部の検知電流値が所定の第1基準値未満である場合、前記電気分解装置の出力を増加する処理を実行する、
請求項1に記載の衣類処理装置。
【請求項3】
前記除菌運転は、通常コースと、前記通常コースよりも除菌性能を高めた念入りコースとを含む複数のコースから択一的に実行可能であり、
前記制御装置は、前記通常コースにおいて前記電気分解装置を所定の期間運転し、前記念入りコースにおいて前記電気分解装置を前記所定の期間よりも長い期間駆動する、
請求項1に記載の衣類処理装置。
【請求項4】
前記除菌運転は、通常コースと、前記通常コースよりも消費電力を押さえた省エネコースとを含む複数のコースから択一的に実行可能であり、
前記制御装置は、前記通常コースにおいて前記電流検知部の検知電流値が所定の第1基準値以上となるように前記電気分解装置の出力を制御し、前記省エネコースにおいて前記電流検知部の検知電流値が前記第1基準値よりも低い所定の第2基準値となるように前記電気分解装置の出力を制御する、
請求項1に記載の衣類処理装置。
【請求項5】
前記衣類収容槽に貯留された水の水温を検知する温度検知部を備え、
前記制御装置は、前記温度検知部の検知温度が所定の温度以上である場合、前記温度検知部の検知温度が所定の温度未満である場合よりも前記前記電気分解装置の出力を低下する、
請求項1に記載の衣類処理装置。
【請求項6】
前記衣類収容槽に貯留された水の水温を検知する温度検知部を備え、
前記制御装置は、前記温度検知部の検知温度が所定の温度以上である場合に、前記温度検知部の検知温度が所定の温度未満である場合よりも前記前記電気分解装置の出力を低下しない、
請求項1に記載の衣類処理装置。
【請求項7】
前記除菌運転は、通常コースと、前記通常コースよりも除菌性能を高めた念入りコースとを含む複数のコースから択一的に実行可能であり、
前記制御装置は、前記通常コースにおいて前記衣類収容槽に供給する水量を所定の第1水量に設定し、前記念入りコースにおいて前記衣類収容槽に供給する水量を前記第1水量よりも少ない所定の第2水量に設定する、
請求項1に記載の衣類処理装置。
【請求項8】
温水を利用して前記念入りコースによる前記除菌運転を実行する、
請求項7に記載の衣類処理装置。
発明の詳細な説明
【技術分野】
【0001】
本発明の実施形態は、衣類処理装置に関する。
続きを表示(約 2,300 文字)
【背景技術】
【0002】
従来、洗濯に電気分解した水や軟水化した水、金属イオンを溶出した水を用いる洗濯機が検討されている。電解水や軟水、金属イオン水を用いることにより、除菌・洗浄効果や、洗剤の溶解性の向上が期待される。
【0003】
例えば、特許文献1には、陽極または陰極の一方の極性となる少なくとも一つの第1電極と、該第1電極と対向配置され、該第1電極とは異なる極性となる少なくとも一つの第2電極と、前記第1、第2電極間に電圧を印加して金属イオンを溶出させる駆動手段と、前記第1、第2電極間への電圧および電流のうち少なくとも一つを制御する制御部と、硬度、塩化物イオンの濃度および導電率のうち少なくとも一つを検知する水質検知手段とを備え、水に金属イオンを溶出させる金属イオン溶出ユニットにおいて、前記制御部は、前記第1、第2電極の極性を周期的に反転させ、前記水質検知手段が検知した硬度、塩化物イオンの濃度および導電率のうち少なくとも一つが所定値未満のとき、前記制御部は定電流制御を行い、前記水質検知手段が検知した硬度、塩化物イオンの濃度および導電率のうち少なくとも一つが所定値以上のとき、前記制御部は定電圧制御を行う機器が開示されている。
【先行技術文献】
【特許文献】
【0004】
特開2006-13505号公報
【発明の概要】
【発明が解決しようとする課題】
【0005】
電気分解により生成した活性成分を供給して除菌を行う場合、活性成分の濃度により除菌性能が異なる。
【0006】
除菌性能のばらつきを抑制し、種々の条件下でも安定して除菌効果を発揮することができる衣類処理装置を提供する。
【課題を解決するための手段】
【0007】
実施形態の衣類処理装置は、内部に水を貯留し衣類を収容する衣類収容槽と、一対の電極を有し、前記衣類収容槽に貯留された水に供給する活性成分を生成する電気分解装置と、前記一対の電極間に流れる電流値を検知する電流検知部と、前記電気分解装置の動作を制御して除菌運転を実行する制御装置と、を備える。前記制御装置は、前記電流検知部の検知電流値に基づいて前記電気分解装置の出力を制御する。
【図面の簡単な説明】
【0008】
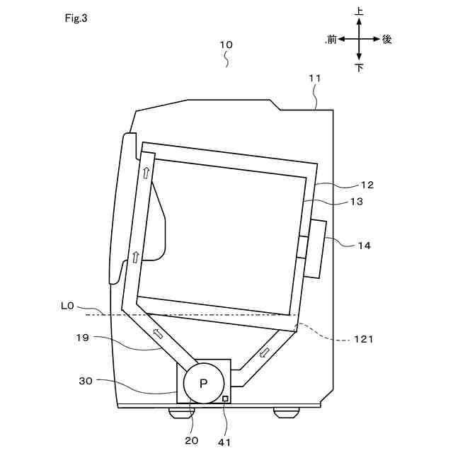
第1実施形態による洗濯機の一例の構成を示す斜視図
第1実施形態による洗濯機の一例の構成を概略的に示す図
第1実施形態による洗濯機の一例の構成を概略的に示す縦断側面図
第1実施形態による洗濯機の一例の電気的な構成を示すブロック図
第1実施形態による洗濯機の電気分解装置を示す概略斜視図
第1実施形態による洗濯機の除菌運転における各構成の動作を示すタイミングチャートの一例
第1実施形態による洗濯機の各種条件下での調整前後の電圧値、電流値、及び除菌指数の一例を示す表
第1実施形態による洗濯機の通常コース、省エネコース、念入りコースによる除菌運転の調整後の電圧値、電流値、消費電力量、及び除菌指数の一例を示す表
第2実施形態による洗濯機の各種条件下での調整前後の電圧値、電流値、及び除菌指数の一例を示す表
第3実施形態による洗濯機の通常コースと念入りコースによる除菌運転のタイミングチャートの一例
第4実施形態による洗濯機の一例の構成を概略的に示す縦断側面図
第4実施形態による洗濯機の一例の電気的な構成を示すブロック図
第4実施形態による洗濯機の常温コースと高温コースによる除菌運転の水温、並びに調整後の電圧値、電流値、消費電力、及び除菌指数の一例を示す表
第5実施形態による洗濯機の常温コースと高温コースによる除菌運転の水温、並びに調整後の電圧値、電流値、及び除菌指数の一例を示す表
第6実施形態による洗濯機の通常コースと念入りコースによる除菌運転の水量、並びに調整後の電圧値、電流値、及び除菌指数の一例を示す表
第7実施形態による洗濯機の通常コースと念入りコースによる除菌運転の水温、水量、並びに調整後の電圧値、電流値、及び除菌指数の一例を示す表
【発明を実施するための形態】
【0009】
以下、複数の実施形態について図面を参照して説明する。複数の実施形態に共通の構成については、符号を共通にして説明を省略する。
【0010】
(第1実施形態)
第1実施形態について図1から図8を参照して説明する。衣類処理装置としての洗濯機10は、図1から図4に示すように、外箱11、水槽12、回転槽13、回転槽モータ14、排水経路15、排水弁16、給水経路17、給水弁18、循環水路19、循環ポンプ20、電気分解装置30、及び制御装置40を備えている。なお図1において、洗濯機10の設置面側、つまり鉛直下側を洗濯機10の下側とし、設置面の反対側、つまり鉛直上側を洗濯機10の上側とする。また、洗濯機10を正面から見た場合の左右方向を、洗濯機10の左右方向とする。洗濯機10は、例えば回転槽13の回転軸が水平へ向かう横軸型又は後方へ向かって下降傾斜した斜め軸型のドラム式洗濯機である。本実施形態では、洗濯機10は斜め軸型のドラム式洗濯機である。なお、洗濯機10は、例えばヒートポンプ式やヒータ式の乾燥機能を有していても良いし、備えていなくてもよい。
(【0011】以降は省略されています)
この特許をJ-PlatPat(特許庁公式サイト)で参照する
関連特許
個人
洗濯装置
2か月前
東レ株式会社
繊維断面の検査方法
27日前
株式会社青柳
染め加工方法
1か月前
日本バイリーン株式会社
内装用表面材
3か月前
株式会社槌屋
加飾用表皮材
20日前
東レ株式会社
炭素繊維シートの製造方法
2か月前
有限会社高田紙器製作所
紙製洗濯バサミ
2か月前
東レ株式会社
樹脂含浸繊維束の製造方法
2か月前
東レ株式会社
ゴム補強用合成繊維コード
1か月前
花王株式会社
洗浄剤組成物
3か月前
個人
ポリエステル染色物の製造方法
15日前
株式会社創和
ボックス状洗濯ネット
1か月前
株式会社大阪ソーダ
撥水撥油性繊維処理剤
1か月前
リンナイ株式会社
衣類乾燥機
14日前
リンテック株式会社
耐水性基材
19日前
個人
洗濯用洗剤容器の蓋
2か月前
シャープ株式会社
洗濯機
2か月前
日本バイリーン株式会社
表皮材とその製造方法
3か月前
株式会社コーワ
フィルター清掃装置及び乾燥機
3か月前
株式会社コーワ
フィルター清掃装置及び乾燥機
3か月前
松本油脂製薬株式会社
繊維用処理剤及びその利用
2か月前
大阪瓦斯株式会社
衣類乾燥機
2か月前
大阪瓦斯株式会社
衣類乾燥機
2か月前
大阪瓦斯株式会社
衣類乾燥機
2か月前
ダイニック株式会社
ターポリン、及びその製造方法
15日前
個人
開閉角度調整可能な角型折畳みピンチハンガー
2か月前
シャープ株式会社
洗濯機
2か月前
シャープ株式会社
洗濯機
2か月前
株式会社コーワ
フィルター装置及び洗濯機又は乾燥機
3か月前
シャープ株式会社
衣類処理システム
2か月前
東レ株式会社
抗菌性アクリル系繊維およびその製造方法
1か月前
東レ株式会社
人工皮革およびその製造方法ならびに雑貨
1か月前
東芝ライフスタイル株式会社
洗濯機
1か月前
東芝ライフスタイル株式会社
洗濯機
1か月前
シャープ株式会社
洗濯機
2か月前
株式会社コーワ
乾燥機のフィルター清掃装置及び乾燥機
19日前
続きを見る
他の特許を見る