TOP
|
特許
|
意匠
|
商標
特許ウォッチ
Twitter
他の特許を見る
公開番号
2025145009
公報種別
公開特許公報(A)
公開日
2025-10-03
出願番号
2024044971
出願日
2024-03-21
発明の名称
衣類乾燥機
出願人
東芝ライフスタイル株式会社
代理人
弁理士法人サトー
主分類
D06F
34/28 20200101AFI20250926BHJP(繊維または類似のものの処理;洗濯;他に分類されない可とう性材料)
要約
【課題】高精度の乾燥検知を実現しつつ、乾燥効率を向上できる衣類乾燥機を提供する。
【解決手段】衣類乾燥機は、排気口及び給気口を有し、衣類が収容される収容槽と、排気口と給気口とを繋いで収容槽内の空気を循環させる循環風路と、循環風路を流れる空気を加熱して温風を生成する加熱装置と、循環風路を流れる空気の温度を検知する温度センサと、循環風路を流れる空気の湿度を検知する湿度センサと、収容槽内の衣類を乾燥させる乾燥工程の進行又は終了を温度及び湿度を検知することによって判断し、加熱装置を制御して乾燥工程を実行可能な制御部と、を備え、制御部は、運転中において、温度及び湿度のいずれか一方がそれぞれの閾値に達した場合に現在の工程から次の工程に移行する。
【選択図】図5
特許請求の範囲
【請求項1】
排気口及び給気口を有し、衣類が収容される収容槽と、
前記排気口と前記給気口とを繋いで前記収容槽内の空気を循環させる循環風路と、
前記循環風路を流れる空気を加熱して温風を生成する加熱装置と、
前記循環風路を流れる前記空気の温度を検知する温度センサと、
前記循環風路を流れる前記空気の湿度を検知する湿度センサと、
前記収容槽内の衣類を乾燥させる乾燥工程の進行又は終了を前記温度及び前記湿度を検知することによって判断し、前記加熱装置を制御して前記乾燥工程を実行可能な制御部と、を備え、
前記制御部は、前記運転中において、前記温度及び前記湿度のいずれか一方がそれぞれの閾値に達した場合に現在の工程から次の工程に移行する、
衣類乾燥機。
続きを表示(約 570 文字)
【請求項2】
前記乾燥工程は、前記乾燥工程の初期に実行される初期工程と、前記温度及び前記湿度のいずれか一方が各前記閾値に到達したか否かを判断する乾燥検知工程と、を含んでおり、
前記制御部は、前記初期工程の実行中に検知された前記温度及び前記湿度のそれぞれの判断基準値からの変化量に対応して設定された各前記閾値に達したか否かを判断する、
請求項1に記載の衣類乾燥機。
【請求項3】
前記初期工程は、前記乾燥検知工程に移行するまでの制限時間が設けられており、
前記制御部は、前記初期工程において前記温度又は前記湿度の各前記判断基準値を検知する前に前記制限時間が経過した場合に前記初期工程から前記乾燥検知工程に移行し、前記乾燥検知工程において前記温度及び前記湿度の各前記判断基準値の検知を継続する、
請求項2に記載の衣類乾燥機。
【請求項4】
前記制御部は、前記乾燥工程が一時停止した後に再開した場合、前記湿度が前記閾値に達したか否かを優先して判断する、
請求項1に記載の衣類乾燥機。
【請求項5】
前記制御部は、前記乾燥運転を複数回連続して実行する場合、前記湿度が前記閾値に達したか否かを優先して判断する、
請求項1に記載の衣類乾燥機。
発明の詳細な説明
【技術分野】
【0001】
本発明の実施形態は、衣類乾燥機に関する。
続きを表示(約 2,200 文字)
【背景技術】
【0002】
特許文献1には、衣類乾燥機としての排気式乾燥機の乾燥度感知装置が開示されている。乾燥度感知装置は、ドラムの内部に装着され、衣類の湿度によって電圧値が変化して衣類の乾燥状態を感知する電極センサーと、ドラムの排出口側に装着され、衣類を乾燥させた後排出される空気の温度を感知するサーミスタと、それら電極センサー及びサーミスタの感知信号の入力を受けて衣類の乾燥度を判断する制御手段と、を包含して構成される。そして、電極センサー及びサーミスタにより衣類の乾燥度を判断することで、乾燥初期及び中期だけでなく、乾燥末期にも衣類の乾燥度を正確に感知して、乾燥効率及び乾燥性能を向上させることが図られている。
【先行技術文献】
【特許文献】
【0003】
特表2004-517681号公報
【発明の概要】
【発明が解決しようとする課題】
【0004】
ところで、従来構成では、衣類の乾燥動作が開始されてからドラム内の衣類が設定乾燥度値に到達するまでは、電極センサーにより感知された乾燥状態値によって乾燥機の動作を制御し、設定乾燥度値以上では、サーミスタにより感知された排出空気温度値によって乾燥機の動作が制御される。しかしながら、設定乾燥度値未満では、電極センサーにより感知された乾燥状態値によって乾燥機の動作が制御されるため、高精度に乾燥検知を実現することが難しく、乾燥時間が長期化してしまう場合がある。乾燥時間が長期化すると、電力の浪費や衣類の傷み等が生じるおそれがある。このため、高精度の乾燥検知を実現しつつ、乾燥効率を向上する点において改善の余地があった。
【0005】
そこで、高精度の乾燥検知を実現しつつ、乾燥効率を向上できる衣類乾燥機を提供する。
【課題を解決するための手段】
【0006】
実施形態の衣類乾燥機は、
排気口及び給気口を有し、衣類が収容される収容槽と、前記排気口と前記給気口とを繋いで前記収容槽内の空気を循環させる循環風路と、前記循環風路を流れる空気を加熱して温風を生成する加熱装置と、前記循環風路を流れる前記空気の温度を検知する温度センサと、前記循環風路を流れる前記空気の湿度を検知する湿度センサと、前記収容槽内の衣類を乾燥させる乾燥工程の進行又は終了を前記温度及び前記湿度を検知することによって判断し、前記加熱装置を制御して前記乾燥工程を実行可能な制御部と、を備え、前記制御部は、前記運転中において、前記温度及び前記湿度のいずれか一方がそれぞれの閾値に達した場合に現在の工程から次の工程に移行する。
【図面の簡単な説明】
【0007】
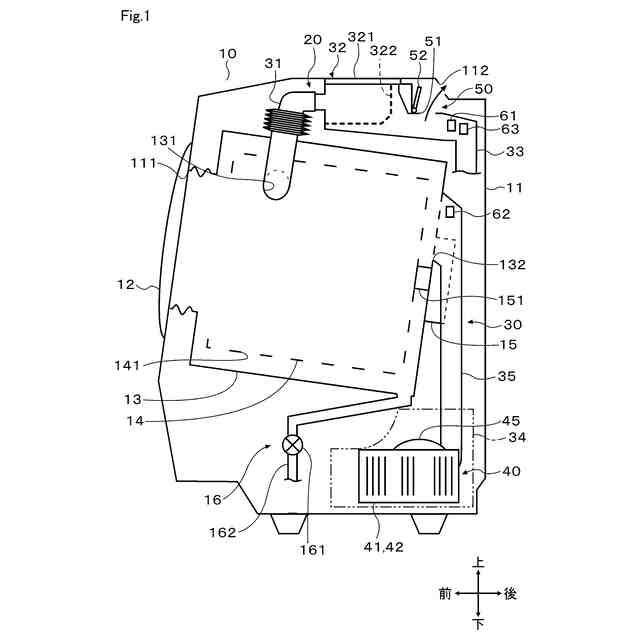
第1実施形態による衣類乾燥機の構成を概略的に示す断面図
第1実施形態による衣類乾燥機の一例を概略的に示す図
第1実施形態による衣類乾燥機について、電気的構成を示すブロック図
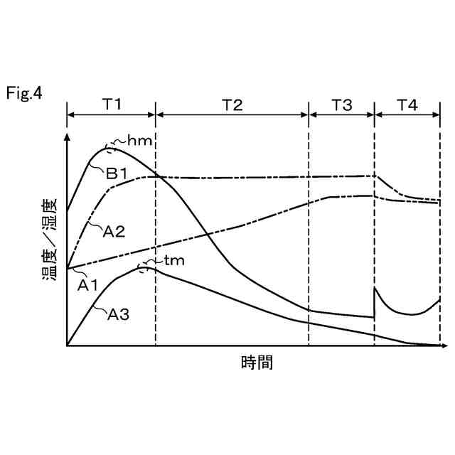
第1実施形態による衣類乾燥機について、乾燥工程における循環風路内の温度及び湿度の経時的変化の一例を示す図
第1実施形態による衣類乾燥機について、温度センサの値及び湿度センサの値の変化に基づいて乾燥検知を行う場合の一例を示す図
第1実施形態による衣類乾燥機について、温度センサの値及び湿度センサの値の変化に基づいて減率期間の終了に関する判断を行う場合の一例を示す図
第2実施形態による衣類乾燥機について、初期工程において制限時間が経過した場合の乾燥検知の一例を示す図
第3実施形態による衣類乾燥機について、乾燥工程が一時停止した後に再開した場合の乾燥検知の一例を示す図
【発明を実施するための形態】
【0008】
以下、複数の実施形態による衣類乾燥機について、図面を参照しながら説明する。なお、各実施形態において実質的に同一の要素には同一の符号を付し、説明を省略する。
【0009】
(第1実施形態)
まず、第1実施形態について、図1から図5を参照して説明する。
図1に示す衣類乾燥機10は、例えば回転槽14の回転軸が水平方向へ向かう横軸型又は後方へ向かって下降傾斜した斜め軸型のドラム式衣類乾燥機である。衣類乾燥機10は、例えば洗濯機能及び乾燥機能を備え、洗い、すすぎ、脱水、及び乾燥の各工程を含む洗濯乾燥運転を実行可能である。衣類乾燥機10は、洗濯乾燥運転の他に、乾燥のみを行う運転である乾燥運転を実行可能である。乾燥運転には、乾燥工程が含まれる。なお、衣類乾燥機10は、ドラム式衣類乾燥機に限らず、回転槽の回転軸が鉛直方向を向いた縦軸型衣類乾燥機であってもよい。また、衣類乾燥機は、洗濯機能を有さない構成にも適用できる。
【0010】
衣類乾燥機10は、外箱11、扉12、水槽13、回転槽14、モータ15、排水機構16、給水機構17、及び乾燥機構20を備えている。なお、図1において、衣類乾燥機10の設置面側つまり鉛直下側を衣類乾燥機10の下側とし、設置面と反対側つまり鉛直上側を衣類乾燥機10の上側とする。衣類乾燥機10のユーザから見て手前側つまり図1の紙面左側を衣類乾燥機10の前方側とし、ユーザの反対側つまり図1の紙面右側を衣類乾燥機10の後方側とする。
(【0011】以降は省略されています)
この特許をJ-PlatPat(特許庁公式サイト)で参照する
関連特許
個人
洗濯装置
2か月前
個人
ハンガー保持具
4か月前
個人
洗濯物干しハンガー
4日前
株式会社青柳
染め加工方法
1か月前
東レ株式会社
繊維断面の検査方法
1か月前
日本バイリーン株式会社
内装用表面材
4か月前
東レ株式会社
樹脂含浸繊維束の製造方法
3か月前
花王株式会社
洗浄剤組成物
4か月前
東レ株式会社
炭素繊維シートの製造方法
2か月前
東レ株式会社
ゴム補強用合成繊維コード
1か月前
有限会社高田紙器製作所
紙製洗濯バサミ
3か月前
株式会社槌屋
加飾用表皮材
1か月前
株式会社創和
ボックス状洗濯ネット
1か月前
リンナイ株式会社
衣類乾燥機
24日前
株式会社大阪ソーダ
撥水撥油性繊維処理剤
2か月前
個人
ポリエステル染色物の製造方法
25日前
個人
洗濯用洗剤容器の蓋
2か月前
シャープ株式会社
洗濯機
2か月前
リンテック株式会社
耐水性基材
29日前
株式会社コーワ
フィルター清掃装置及び乾燥機
4か月前
日本バイリーン株式会社
表皮材とその製造方法
4か月前
株式会社コーワ
フィルター清掃装置及び乾燥機
4か月前
アイリスオーヤマ株式会社
洗濯機
4日前
大阪瓦斯株式会社
衣類乾燥機
2か月前
松本油脂製薬株式会社
繊維用処理剤及びその利用
2か月前
大阪瓦斯株式会社
衣類乾燥機
2か月前
大阪瓦斯株式会社
衣類乾燥機
2か月前
ダイニック株式会社
ターポリン、及びその製造方法
25日前
個人
開閉角度調整可能な角型折畳みピンチハンガー
2か月前
シャープ株式会社
洗濯機
3か月前
シャープ株式会社
洗濯機
3か月前
株式会社コーワ
フィルター装置及び洗濯機又は乾燥機
4か月前
株式会社コーワ
乾燥機のフィルター清掃装置及び乾燥機
29日前
シャープ株式会社
洗濯機
3か月前
個人
パイプ用係止、固定装置及び洗濯バサミ取り付け具
2か月前
東レ株式会社
抗菌性アクリル系繊維およびその製造方法
2か月前
続きを見る
他の特許を見る