TOP
|
特許
|
意匠
|
商標
特許ウォッチ
Twitter
他の特許を見る
10個以上の画像は省略されています。
公開番号
2025147399
公報種別
公開特許公報(A)
公開日
2025-10-07
出願番号
2024047632
出願日
2024-03-25
発明の名称
洗濯機
出願人
パナソニックIPマネジメント株式会社
代理人
個人
,
個人
主分類
D06F
37/42 20060101AFI20250930BHJP(繊維または類似のものの処理;洗濯;他に分類されない可とう性材料)
要約
【課題】リード線の断線を抑制すると共に作業性を向上した洗濯機を提供する。
【解決手段】本開示に係る洗濯機は、筐体と、筐体の内部に揺動可能に支持された水槽と、水平方向の、または水平方向に対して傾斜した回転軸を中心に回転可能に、水槽内部に設けられた洗濯槽と、洗濯槽の背面側に設けられ、洗濯槽を回転駆動するモータと、筐体の内部に設けられ、モータを制御する制御部と、モータと制御部とを接続するリード線と、筐体の底部の基台に固定され、リード線を取り付けるリード線取り付け部と、を備える。リード線取り付け部は基台に固定される第1部分と、第1部分から上方に延びてリード線を鉛直方向に沿わせた状態で支持する第2部分と、を有する。基台は、リード線取り付け部の第2部分が立った状態で第2部分を支持する第1壁部を有する。
【選択図】図5
特許請求の範囲
【請求項1】
筐体と、
前記筐体の内部に揺動可能に支持された水槽と、
水平方向の、または水平方向に対して傾斜した回転軸を中心に回転可能に、前記水槽内部に設けられた洗濯槽と、
前記洗濯槽の背面側に設けられ、前記洗濯槽を回転駆動するモータと、
前記筐体の内部に設けられ、前記モータを制御する制御部と、
前記モータと前記制御部とを接続するリード線と、
前記筐体の底部の基台に固定され、前記リード線を取り付けるリード線取り付け部と、を備え、
前記リード線取り付け部は前記基台に固定される第1部分と、第1部分から上方に延びて前記リード線を鉛直方向に沿わせた状態で支持する第2部分と、を有し、
前記基台は、前記リード線取り付け部の前記第2部分が立った状態で前記第2部分を支持する第1壁部を有する、
洗濯機。
続きを表示(約 770 文字)
【請求項2】
前記基台には、前記リード線取り付け部の前記第2部分が立った状態で前記第1部分の左右方向の少なくとも一方の側部と接触する第1側壁部を有する第2壁部が設けられる、
請求項1に記載の洗濯機。
【請求項3】
前記第2壁部は、前記第1側壁部と対向し、前記第1部分の左右方向の他方の側部と接触する第2側壁部を有する、
請求項2に記載の洗濯機。
【請求項4】
前記第1壁部は、上縁の中央部に切り欠きを有し、前記上縁の両側部は前記切り欠きよりも高い、
請求項1に記載の洗濯機。
【請求項5】
前記第1壁部は、前記第2壁部よりも高い、
請求項2に記載の洗濯機。
【請求項6】
前記第2壁部が前記第1壁部に対して、前記筐体の背面側に配置される、
請求項2に記載の洗濯機。
【請求項7】
前記第2壁部は、前記第1壁部と対向する壁部を有する、
請求項6に記載の洗濯機。
【請求項8】
前記第2壁部の前記第1壁部と対向する壁部に切り欠きを有する、
請求項7に記載の洗濯機。
【請求項9】
前記第2壁部は、前記リード線取り付け部の前記第2部分の左右方向の側部とそれぞれ接触する第3側壁部及び第4側壁部とを有し、
前記リード線取り付け部の前記第2部分の左右方向の幅は、前記第1部分の左右方向の幅よりも大きく、
前記第3側壁部と前記第4側壁部との距離は、前記第1側壁部と前記第2側壁部との距離よりも長い、
請求項3に記載の洗濯機。
【請求項10】
前記リード線取り付け部材は難燃部材である、
請求項1から9のいずれか1つに記載の洗濯機。
発明の詳細な説明
【技術分野】
【0001】
本開示は、洗濯機に関する。
続きを表示(約 1,500 文字)
【背景技術】
【0002】
例えば、特許文献1には、モータに接続されたリード線の断線を抑制する洗濯機が開示されている。特許文献1に記載された洗濯機において、回転軸が鉛直方向である洗濯槽に設けられた駆動用モータと接続された複数の配線は、水平方向に一本のリード線に束ねられて筐体側に引き回され、筐体底部の基台に水平方向に固定される。
【先行技術文献】
【特許文献】
【0003】
特開2020-178954号公報
【発明の概要】
【発明が解決しようとする課題】
【0004】
本開示の目的は、リード線の断線を抑制できると共に作業性を向上できる洗濯機を提供することにある。
【課題を解決するための手段】
【0005】
本開示の一態様の洗濯機は、筐体と、筐体の内部に揺動可能に支持された水槽と、水平方向の、または水平方向に対して傾斜した回転軸を中心に回転可能に、水槽内部に設けられた洗濯槽と、洗濯槽の背面側に設けられ、洗濯槽を回転駆動するモータと、筐体の内部に設けられ、モータを制御する制御部と、モータと制御部とを接続するリード線と、筐体の底部の基台に固定され、リード線を取り付けるリード線取り付け部と、を備える。リード線取り付け部は基台に固定される第1部分と、第1部分から上方に延びてリード線を鉛直方向に沿わせた状態で支持する第2部分と、を有する。基台は、リード線取り付け部の第2部分が立った状態で第2部分を支持する第1壁部を有する。
【発明の効果】
【0006】
本開示の洗濯機は、リード線の断線を抑制できると共に作業性を向上できる。
【図面の簡単な説明】
【0007】
本開示に係る実施形態の洗濯機の斜め前方から見た全体斜視図
洗濯機の斜め後方から見た全体斜視図
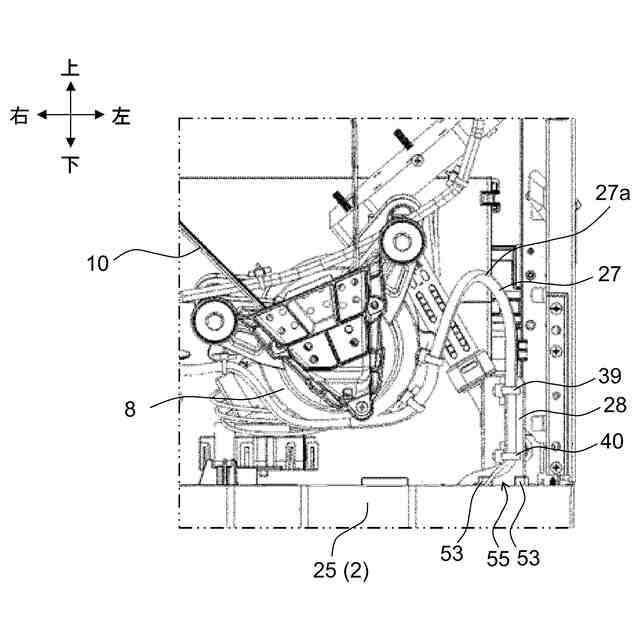
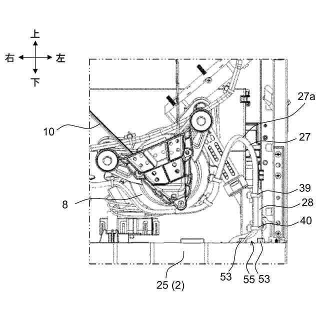
側面カバーを取り外した状態の洗濯機の要部側面図
背面カバーを取り外した状態の洗濯機の背面図
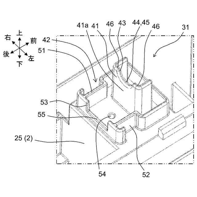
図4の部分拡大図
リード線を取り外した状態のリード線取り付け部周辺の斜め後方から見た斜視図
リード線取り付け部の斜視図
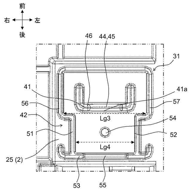
リード線取り付け部が取り外された状態の支持部の斜め後方から見た斜視図
リード線取り付け部が取り外された状態の支持部の平面図
【発明を実施するための形態】
【0008】
以下、図面を参照しながら実施形態を詳細に説明する。但し、必要以上に詳細な説明は省略する場合がある。例えば、既によく知られた事項の詳細説明、または、実質的に同一の構成に対する重複説明を省略する場合がある。なお、添付図面および以下の説明は、当業者が本開示を十分に理解するために提供されるのであって、これらにより特許請求の範囲に記載の主題を限定することを意図していない。
【0009】
(実施形態)
本開示の実施形態に係る洗濯機について説明する。
【0010】
[全体構成]
図1-図3を参照する。図1は、本開示に係る実施形態の洗濯機1の斜め前方から見た全体斜視図である。図2は洗濯機1の斜め後方から見た全体斜視図である。図3は、側面カバー22を取り外した状態の洗濯機1の要部側面図である。本実施形態の洗濯機1は、洗濯槽4の回転軸Voが水平方向または水平方向から傾斜した、いわゆるドラム型の洗濯機である。以下の説明において、洗濯機1の蓋5側を前方とし、反対側を後方とする。また、洗濯機1の蓋5を正面視して洗濯機1の右方及び左方が決められている。
(【0011】以降は省略されています)
この特許をJ-PlatPat(特許庁公式サイト)で参照する
関連特許
個人
洗濯装置
2か月前
個人
洗濯物干しハンガー
今日
株式会社青柳
染め加工方法
1か月前
東レ株式会社
繊維断面の検査方法
1か月前
花王株式会社
洗浄剤組成物
3か月前
東レ株式会社
樹脂含浸繊維束の製造方法
3か月前
有限会社高田紙器製作所
紙製洗濯バサミ
2か月前
東レ株式会社
炭素繊維シートの製造方法
2か月前
東レ株式会社
ゴム補強用合成繊維コード
1か月前
株式会社槌屋
加飾用表皮材
26日前
リンナイ株式会社
衣類乾燥機
20日前
株式会社大阪ソーダ
撥水撥油性繊維処理剤
2か月前
個人
ポリエステル染色物の製造方法
21日前
株式会社創和
ボックス状洗濯ネット
1か月前
リンテック株式会社
耐水性基材
25日前
個人
洗濯用洗剤容器の蓋
2か月前
シャープ株式会社
洗濯機
2か月前
株式会社コーワ
フィルター清掃装置及び乾燥機
3か月前
株式会社コーワ
フィルター清掃装置及び乾燥機
3か月前
アイリスオーヤマ株式会社
洗濯機
今日
大阪瓦斯株式会社
衣類乾燥機
2か月前
大阪瓦斯株式会社
衣類乾燥機
2か月前
大阪瓦斯株式会社
衣類乾燥機
2か月前
松本油脂製薬株式会社
繊維用処理剤及びその利用
2か月前
個人
開閉角度調整可能な角型折畳みピンチハンガー
2か月前
シャープ株式会社
洗濯機
2か月前
シャープ株式会社
洗濯機
2か月前
ダイニック株式会社
ターポリン、及びその製造方法
21日前
株式会社コーワ
フィルター装置及び洗濯機又は乾燥機
3か月前
シャープ株式会社
衣類処理システム
2か月前
シャープ株式会社
洗濯機
3か月前
シャープ株式会社
洗濯機
3か月前
株式会社wash-plus
ランドリーシステム
今日
個人
パイプ用係止、固定装置及び洗濯バサミ取り付け具
2か月前
東芝ライフスタイル株式会社
洗濯機
2か月前
東レ株式会社
人工皮革およびその製造方法ならびに雑貨
1か月前
続きを見る
他の特許を見る