TOP
|
特許
|
意匠
|
商標
特許ウォッチ
Twitter
他の特許を見る
公開番号
2025161479
公報種別
公開特許公報(A)
公開日
2025-10-24
出願番号
2024064693
出願日
2024-04-12
発明の名称
衣類処理装置
出願人
東芝ライフスタイル株式会社
代理人
弁理士法人サトー
主分類
D06F
58/02 20060101AFI20251017BHJP(繊維または類似のものの処理;洗濯;他に分類されない可とう性材料)
要約
【課題】衣類収容槽内の空気を循環させる循環風路を備える衣類処理装置に関し、循環風路内に水が入り込んだとしても、その水によって循環風路内の機能部が濡れてしまうことを抑制できるようにした技術案を提供する。
【解決手段】本実施形態に係る衣類処理装置は、衣類が収容される衣類収容槽と、前記衣類収容槽内の空気を循環させる循環風路と、複数種類の衣類処理工程を実行可能な衣類処理工程実行部と、前記衣類処理工程実行部が実行する衣類処理工程の種類に応じて、前記循環風路の開口率を変更可能な開口率変更装置と、を備える。
【選択図】図4
特許請求の範囲
【請求項1】
衣類が収容される衣類収容槽と、
前記衣類収容槽内の空気を循環させる循環風路と、
複数種類の衣類処理工程を実行可能な衣類処理工程実行部と、
前記衣類処理工程実行部が実行する衣類処理工程の種類に応じて、前記循環風路の開口率を変更可能な開口率変更装置と、
を備える衣類処理装置。
続きを表示(約 670 文字)
【請求項2】
前記衣類処理工程実行部は、前記衣類処理工程として、前記衣類収容槽内の衣類を脱水する脱水工程を実行可能であり、
前記開口率変更装置は、前記循環風路の開口率を減少させる開口率減少部を有し、前記衣類処理工程実行部が前記脱水工程を実行する場合には、前記開口率減少部により前記循環風路の開口率を減少させる請求項1に記載の衣類処理装置。
【請求項3】
前記循環風路内を循環する空気に含まれる異物を捕獲する異物捕獲部をさらに備え、
前記開口率減少部は、前記異物捕獲部の一部に設けられている請求項2に記載の衣類処理装置。
【請求項4】
前記衣類処理工程実行部は、前記衣類処理工程として、前記衣類収容槽内の衣類を乾燥する乾燥工程を実行可能であり、
前記異物捕獲部は、それぞれ開口率が異なる複数のフィルタ部を有し、
前記開口率変更装置は、前記衣類処理工程実行部が前記乾燥工程を実行する場合には、当該乾燥工程の実行中に、前記循環風路内に配置する前記フィルタ部を、開口率が高いフィルタ部から開口率が低いフィルタ部に切り替える請求項3に記載の衣類処理装置。
【請求項5】
前記循環風路は、前記異物捕獲部が通過可能な隙間を有し、
前記異物捕獲部は、前記フィルタ部よりも厚みがある保持部を有し、前記保持部が前記隙間に嵌り込むことにより、前記開口率減少部および複数の前記フィルタ部のうち何れかが前記循環風路内に配置された状態で保持される請求項4に記載の衣類処理装置。
発明の詳細な説明
【技術分野】
【0001】
本発明の実施形態は、衣類処理装置に関する。
続きを表示(約 2,000 文字)
【背景技術】
【0002】
例えば特許文献1に開示されている洗濯乾燥機は、洗い工程、すすぎ工程、脱水工程、乾燥工程を実行可能な衣類処理装置の一例である。この洗濯乾燥機は、衣類を乾燥する乾燥工程において水槽内の空気を循環させる循環風路を備えている。
【先行技術文献】
【特許文献】
【0003】
特開2017-29678号公報
【発明の概要】
【発明が解決しようとする課題】
【0004】
ところで、衣類を脱水する脱水工程においては、水槽内で回転槽が高速で回転する。そのため、遠心力により回転槽から飛散する水が循環風路内に入り込み、循環風路内に設けられている例えばフィルタや熱交換部などといった機能部が濡れてしまう場合がある。また、脱水工程時に回転槽から飛散する水の勢いは強い。そのため、循環風路の入口部を屈曲させたとしても、循環風路内への水の入り込みを十分に抑制することができず、従って、循環風路内の機能部が濡れてしまうことを回避することが困難である。
【0005】
そこで、本実施形態は、衣類収容槽内の空気を循環させる循環風路を備える衣類処理装置に関し、循環風路内に水が入り込んだとしても、その水によって循環風路内の機能部が濡れてしまうことを抑制できるようにした技術案を提供する。
【課題を解決するための手段】
【0006】
本実施形態に係る衣類処理装置は、衣類が収容される衣類収容槽と、前記衣類収容槽内の空気を循環させる循環風路と、複数種類の衣類処理工程を実行可能な衣類処理工程実行部と、前記衣類処理工程実行部が実行する衣類処理工程の種類に応じて、前記循環風路の開口率を変更可能な開口率変更装置と、を備える。
【図面の簡単な説明】
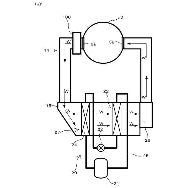
【0007】
本実施形態に係る洗濯乾燥機の構成例を概略的に示す縦断側面図
本実施形態に係る循環風路の構成例を概略的に示す図
本実施形態に係る洗濯乾燥機の制御系の構成例を概略的に示すブロック図
本実施形態に係る開口率変更ユニットの構成例を概略的に示す縦断側面図
本実施形態に係る開口率変更ユニットの構成例を概略的に示す横断平面図
本実施形態に係るフィルタ部材の構成例を概略的に示す図
本実施形態に係る制御フローの一例を概略的に示すフローチャート
本実施形態の変形例に係る開口率変更ユニットの構成例を概略的に示す縦断側面図
【発明を実施するための形態】
【0008】
以下、衣類処理装置に係る一実施形態について図面を参照しながら説明する。図1に例示する洗濯乾燥機1は、衣類に所定の処理を施す衣類処理工程として、この場合、少なくとも、衣類収容槽内の衣類を洗う洗い工程、衣類収容槽内の衣類をすすぐすすぎ工程、衣類収容槽内の衣類を脱水する脱水工程、衣類収容槽内の衣類を乾燥する乾燥工程を実行することが可能な衣類処理装置の一例である。洗濯乾燥機1は、回転槽の回転中心軸が水平方向あるいは水平方向に対して傾斜する方向に延びる、いわゆる横軸型のドラム式の洗濯乾燥機である。
【0009】
洗濯乾燥機1は、その外郭を構成する矩形箱状の外箱2の内部に衣類処理槽3を備えている。衣類処理槽3は、水槽3sおよびドラム3dを備えている。水槽3sは、図示しないサスペンションにより弾性的に支持されている。水槽3sは、円筒状をなし、その周壁面および背面が閉塞されており、内部に水を溜めることが可能である。ドラム3dは、水槽3s内において回転可能に設けられている。ドラム3dは、円筒状をなし、その周側面および背面が概ね閉塞されている。ドラム3dは、例えば洗い処理、すすぎ処理、脱水処理、乾燥処理などといった各種の処理の対象である図示しない衣類を収容可能である。ドラム3dの周壁面および背面には、通気および通水が可能な図示しない多数の小孔が設けられている。ドラム3dの内周面には、衣類をかき上げるための図示しない複数のバッフルが設けられている。ドラム3dの回転中心軸は、水平方向あるいは水平方向に対して傾斜する方向に延びている。衣類処理槽3は、衣類が収容される衣類収容槽の一例として機能する。
【0010】
衣類処理槽3の背面には、ドラムモータ3mが設けられている。ドラムモータ3mは、水槽3s内のドラム3dを正転方向および逆転方向に回転させる。水槽3sの前面開口部3cは、外箱2の前面に設けられているドア4によって開閉可能に構成されている。使用者は、ドア4を開くことにより、前面開口部3cを通して水槽3s内、より詳細には、ドラム3d内に衣類を出し入れすることができる。
(【0011】以降は省略されています)
この特許をJ-PlatPat(特許庁公式サイト)で参照する
関連特許
個人
洗濯装置
2か月前
株式会社青柳
染め加工方法
1か月前
東レ株式会社
繊維断面の検査方法
1か月前
東レ株式会社
炭素繊維シートの製造方法
2か月前
有限会社高田紙器製作所
紙製洗濯バサミ
2か月前
東レ株式会社
樹脂含浸繊維束の製造方法
2か月前
株式会社槌屋
加飾用表皮材
23日前
東レ株式会社
ゴム補強用合成繊維コード
1か月前
花王株式会社
洗浄剤組成物
3か月前
株式会社大阪ソーダ
撥水撥油性繊維処理剤
1か月前
個人
ポリエステル染色物の製造方法
18日前
株式会社創和
ボックス状洗濯ネット
1か月前
リンナイ株式会社
衣類乾燥機
17日前
リンテック株式会社
耐水性基材
22日前
シャープ株式会社
洗濯機
2か月前
個人
洗濯用洗剤容器の蓋
2か月前
株式会社コーワ
フィルター清掃装置及び乾燥機
3か月前
株式会社コーワ
フィルター清掃装置及び乾燥機
3か月前
日本バイリーン株式会社
表皮材とその製造方法
3か月前
大阪瓦斯株式会社
衣類乾燥機
2か月前
松本油脂製薬株式会社
繊維用処理剤及びその利用
2か月前
大阪瓦斯株式会社
衣類乾燥機
2か月前
大阪瓦斯株式会社
衣類乾燥機
2か月前
ダイニック株式会社
ターポリン、及びその製造方法
18日前
シャープ株式会社
洗濯機
2か月前
個人
開閉角度調整可能な角型折畳みピンチハンガー
2か月前
シャープ株式会社
洗濯機
2か月前
株式会社コーワ
フィルター装置及び洗濯機又は乾燥機
3か月前
東芝ライフスタイル株式会社
洗濯機
1か月前
個人
パイプ用係止、固定装置及び洗濯バサミ取り付け具
2か月前
東レ株式会社
抗菌性アクリル系繊維およびその製造方法
1か月前
シャープ株式会社
衣類処理システム
2か月前
シャープ株式会社
洗濯機
3か月前
東芝ライフスタイル株式会社
洗濯機
1か月前
株式会社コーワ
乾燥機のフィルター清掃装置及び乾燥機
22日前
東レ株式会社
人工皮革およびその製造方法ならびに雑貨
1か月前
続きを見る
他の特許を見る