TOP
|
特許
|
意匠
|
商標
特許ウォッチ
Twitter
他の特許を見る
公開番号
2025144253
公報種別
公開特許公報(A)
公開日
2025-10-02
出願番号
2024043942
出願日
2024-03-19
発明の名称
洗濯機
出願人
パナソニックIPマネジメント株式会社
代理人
個人
,
個人
主分類
D06F
33/48 20200101AFI20250925BHJP(繊維または類似のものの処理;洗濯;他に分類されない可とう性材料)
要約
【課題】本開示は、振動検知と温度検知を同時に行いモータの回転数を制御することで、温度特性に応じて振動と騒音を抑制する洗濯機を提供する。
【解決手段】本開示における洗濯機は、筐体と、筐体の内部に弾性支持されることで、防振支持される水槽と、水槽の内部に回転自在に配設される内槽と、内槽の底部に固定され、水槽の背面側底部に突出する回転軸と、回転軸に設けられるプーリと、プーリにかけられたベルトを介して回転軸を回転することで、内槽を回転駆動するモータと、振動を検知する振動検知手段と、温度を検知する温度検知手段と、振動検知手段および温度検知手段からの情報を入力し、モータを制御する制御手段と、を備える。制御手段は、振動検知手段からの振動検知結果から回転数に対応した振動閾値を設定し、振動閾値を基準にアンバランス判定を行うようにし、振動閾値は、温度検知手段からの温度検知結果に基づき、振動閾値を補正する。
【選択図】図6
特許請求の範囲
【請求項1】
筐体と、
前記筐体の内部に上部からサスペンションにより弾性支持され、下部はダンパーにより前記筐体の内部に連結されることで、防振支持される水槽と、
前記水槽の内部に回転自在に配設される内槽と、
前記内槽の底部に固定され、前記水槽の背面側底部に突出する回転軸と、
前記回転軸の後方先端部に設けられるプーリと、
前記プーリにかけられたベルトを介して前記回転軸を回転することで、前記内槽を回転駆動するモータと、
振動を検知する振動検知手段と、
温度を検知する温度検知手段と、
前記振動検知手段および前記温度検知手段からの情報を入力し、前記モータを制御する制御手段と、を備え、
前記制御手段は、前記振動検知手段からの振動検知結果から回転数に対応した振動閾値を設定し、前記振動閾値を基準にアンバランス判定を行うようにし、
前記振動閾値は、前記温度検知手段からの温度検知結果に基づき、前記振動閾値を補正する、
洗濯機。
続きを表示(約 460 文字)
【請求項2】
前記振動検知手段と前記温度検知手段は、同一プリント配線板上にあり、
前記制御手段は、マイクロコンピュータにより構成されている、
請求項1記載の洗濯機。
【請求項3】
前記水槽、前記内槽、前記回転軸および前記モータで水槽ユニットを構成し、
前記振動検知手段および前記温度検知手段は、前記水槽ユニットに取り付けた、
請求項1または2に記載の洗濯機。
【請求項4】
前記振動検知手段および前記温度検知手段は、振動検知機能と温度検知機能の両方の機能を持ったMEMS(Micro Electro Mechanical Systems)センサを用いた、
請求項1または2に記載の洗濯機。
【請求項5】
前記振動検知手段および前記温度検知手段は、振動検知機能と温度検知機能の両方の機能を持ったMEMS(Micro Electro Mechanical Systems)センサを用いた、
請求項3に記載の洗濯機。
発明の詳細な説明
【技術分野】
【0001】
本開示は、洗濯機に関する。
続きを表示(約 1,600 文字)
【背景技術】
【0002】
特許文献1は、振動検知手段を洗濯機筐体に取り付けた洗濯機を開示する。この洗濯機は、ドラムと、ドラムを内包し洗濯水を溜める水槽と、ドラムを回転駆動するモータと、水槽を収容する筐体と、水槽の複数方向の振動を検出するとともに複数の加速度検出範囲を切り替えることが可能なデジタル出力式の加速度センサで構成された振動検知装置と、この振動検知の出力をもとに前記モータ及び振動検知装置を制御する制御手段とを備える。制御手段は、方向毎または全ての方向の加速度検出範囲を、検出される加速度に応じて切り替える振動検知を行うようにしたものである。
【先行技術文献】
【特許文献】
【0003】
特開2015-134214号公報
【発明の概要】
【発明が解決しようとする課題】
【0004】
本開示は、各温度における筐体の振動や騒音を抑制する洗濯機を提供する。
【課題を解決するための手段】
【0005】
本開示における洗濯機は、筐体と、筐体の内部に上部からサスペンションにより弾性支持され、下部はダンパーにより筐体の内部に連結されることで、防振支持される水槽と、水槽の内部に回転自在に配設される内槽と、内槽の底部に固定され、水槽の背面側底部に突出する回転軸と、回転軸の後方先端部に設けられるプーリと、プーリにかけられたベルトを介して回転軸を回転することで、内槽を回転駆動するモータと、振動を検知する振動検知手段と、温度を検知する温度検知手段と、振動検知手段および温度検知手段からの情報を入力し、モータを制御する制御手段と、を備え、制御手段は、振動検知手段からの振動検知結果から回転数に対応した振動閾値を設定し、振動閾値を基準にアンバランス判定を行うようにし、振動閾値は、温度検知手段からの温度検知結果に基づき、振動閾値を補正する。
【発明の効果】
【0006】
本開示における洗濯機は、振動検知と温度検知を同時に行いモータの回転数を制御することで、温度特性に応じて振動と騒音を抑制することができる。そのため、洗濯機の低振動、低騒音化を実現することができる。
【図面の簡単な説明】
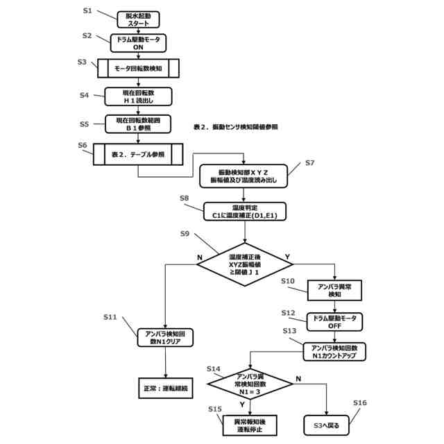
【0007】
実施の形態1における洗濯機の斜視図
実施の形態1における洗濯機の水槽ユニットの正面側を示す斜視図
実施の形態1における洗濯機の水槽ユニットの背面側を示す斜視図
実施の形態1における洗濯機の振動兼温度検知装置を示す模式図
実施の形態1における洗濯機の脱水工程のドラム回転数毎の振幅を示すグラフ
実施の形態1における洗濯機の脱水起動時の振動検知判断のフローチャート
【発明を実施するための形態】
【0008】
(本開示の基礎となった知見等)
発明者らが本開示に想到するに至った当時、従来の振動検知では、洗濯機の構成部品の各温度による振動のばらつきを検知することができず、使用環境温度によって振動や騒音が大きく異なると言う課題を発明者らは発見し、その課題を解決するために、本開示の主題を構成するに至った。
□そこで本開示は、各温度における筐体の振動や騒音を抑制する洗濯機を提供する。
【0009】
以下、図面を参照しながら、実施の形態を詳細に説明する。但し、必要以上に詳細な説明は省略する場合がある。例えば、既によく知られた事項の詳細説明、または、実質的に同一の構成に対する重複説明を省略する場合がある。これは、以下の説明が必要以上に冗長になるのを避け、当業者の理解を容易にするためである。
【0010】
なお、添付図面および以下の説明は、当業者が本開示を十分に理解するために提供されるのであって、これらにより特許請求の範囲に記載の主題を限定することを意図していない。
(【0011】以降は省略されています)
この特許をJ-PlatPat(特許庁公式サイト)で参照する
関連特許
個人
洗濯装置
2か月前
個人
洗濯物干しハンガー
今日
東レ株式会社
繊維断面の検査方法
1か月前
株式会社青柳
染め加工方法
1か月前
東レ株式会社
ゴム補強用合成繊維コード
1か月前
東レ株式会社
樹脂含浸繊維束の製造方法
3か月前
東レ株式会社
炭素繊維シートの製造方法
2か月前
株式会社槌屋
加飾用表皮材
26日前
有限会社高田紙器製作所
紙製洗濯バサミ
2か月前
株式会社大阪ソーダ
撥水撥油性繊維処理剤
2か月前
リンナイ株式会社
衣類乾燥機
20日前
株式会社創和
ボックス状洗濯ネット
1か月前
個人
ポリエステル染色物の製造方法
21日前
リンテック株式会社
耐水性基材
25日前
個人
洗濯用洗剤容器の蓋
2か月前
シャープ株式会社
洗濯機
2か月前
アイリスオーヤマ株式会社
洗濯機
今日
大阪瓦斯株式会社
衣類乾燥機
2か月前
松本油脂製薬株式会社
繊維用処理剤及びその利用
2か月前
大阪瓦斯株式会社
衣類乾燥機
2か月前
大阪瓦斯株式会社
衣類乾燥機
2か月前
個人
開閉角度調整可能な角型折畳みピンチハンガー
2か月前
シャープ株式会社
洗濯機
2か月前
シャープ株式会社
洗濯機
2か月前
ダイニック株式会社
ターポリン、及びその製造方法
21日前
シャープ株式会社
衣類処理システム
2か月前
個人
パイプ用係止、固定装置及び洗濯バサミ取り付け具
2か月前
東芝ライフスタイル株式会社
洗濯機
1か月前
株式会社コーワ
乾燥機のフィルター清掃装置及び乾燥機
25日前
東レ株式会社
人工皮革およびその製造方法ならびに雑貨
1か月前
東レ株式会社
抗菌性アクリル系繊維およびその製造方法
1か月前
東芝ライフスタイル株式会社
洗濯機
2か月前
株式会社wash-plus
ランドリーシステム
今日
シャープ株式会社
洗濯機
3か月前
シャープ株式会社
洗濯機
3か月前
住友金属鉱山株式会社
赤外線遮蔽繊維構造物
26日前
続きを見る
他の特許を見る